IKEA 303.049.67 MYRVARV LED Lighting Strip Flexible

IMPORTANT SAFETY INSTRUCTIONS
For indoor use only.
Regularly check the cord, the transformer and all other parts for damage. If any part is damaged the product should not be used.
Important information! Keep these instructions for future use.
The light source of this luminaire is not replaceable; when the light source reaches its end of life the whole luminaire shall be replaced.
The external flexible cable or cord of this luminaire cannot be replaced; if the cord is damaged, the luminaire shall be destroyed.
ONLY USE A SAFETY TRANSFORMER WITH A SELV OUTPUT AS A SUPPLY FOR THE PRODUCT.
Use only IKEA LED drivers suited for this product. The total wattage of the lamps connected to one LED driver must not exceed the maximum power stated on that LED driver and never more than 30W.



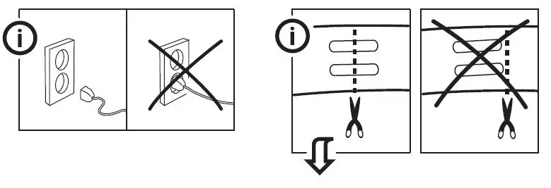
The light strip can be cut at the marks. Make sure that the device is unpluged when you cut.












LED driver and power supply cord are sold separately.


















