Model VSL90
USE AND CARE GUIDE
MOTORIZED MOTION TRACKING SECURITY LIGHT
![]()
Protect yourself. Please read these instructions carefully prior to installation and retain them for future reference. Failure to follow any of these instructions could void product warranties.
For questions regarding this product or warranty, please contact Customer Service at :
Email: [email protected] or call Toll Free at – (866)507-5057
IMPORTANT SAFETY INSTRUCTIONS
- To reduce the risk of death, personal injury or property damage from fire, electric shock, falling parts, cuts/abrasions, and other hazards read all warnings and instructions included with and on the fixture box and all fixture labels.
- Before installing, servicing, or performing routine maintenance upon this equipment, follow these general precautions.
- For Commercial Installation: Service and maintenance of this fixture should be performed by a qualified licensed electrician.
- For Residential Installation: If you are unsure about the installation or maintenance of this fixture, consult a qualified, licensed electrician.
Do not mount the unit against flammable surfaces.
The motion detector will not operate correctly if it is installed:
Near the outlet of a central heating boiler
Near an air conditioning unit ’10
Pointing directly at moving vehicles ’10
Within sight of reflection from moving water
Where other lamps could shine on the sensor - Fixtures can NOT be used with a dimmer switch, motion or occupancy sensor, and other electronic switching devices unless otherwise designated. LED fixtures must be powered directly off a switch circuit.
- Do not install more than one motion sensor light on one wall switch.
- This fixture should not be used in areas with limited ventilation or high ambient temperatures.
- This fixture is intended to be connected to a properly installed and grounded.
- These instructions do not claim to cover all details or variations in equipment or provide every possible contingency to meet in connection with the installation, operation, or maintenance. Should further information be needed, you may contact Customer Service
WARNING: RISK OF ELECTRICAL SHOCK
- Turn off electrical power at the fuse or circuit breaker box before wiring the VSL90 fixture to the power supply.
- Verify that the supply voltage is correct. Connect the fixture to a power source.( AC 100-240V 50/60Hz )
- Make sure all electrical and grounded connections are in accordance with the National Electrical Code and any applicable local code requirements.
- All wiring connections should be capped with UL /CE-listed connectors.
CAUTION: RISK OF PRODUCT DAMAGE
- Do not mount or support these fixtures in a manner that can cut the outer jacket or damaged wire insulation.
- Avoid covering LED fixtures with insulation, foam, or other material that will prevent convection or conduction cooling.
- Never connect an LED product directly to dimmer packs, occupancy sensors, timing devices, or another related control device, unless individual product specifications deem otherwise.
- Unless individual product deems otherwise: do not exceed fixtures maximum ambient temperatures.
- LED products are Polarity Sensitive. Ensure proper polarity before installation.
- Electrostatic Discharge (ESD) can cause damage to LED fixtures. Personal grounding equipment must be worn during all installation or servicing of the unit.
- Do not touch the individual electronic components, it may cause ESD, shorten lamp life, or alter performance.
CAUTION: RISK OF INJURY
- Wear gloves and safety glasses at all times when removing fixtures from cartons, installing, servicing, or performing maintenance.
- Avoid direct eye exposure to the light source while it is on. Led lamps are extremely bright. Under no circumstances should you stare into the Led light beam, this may cause irreparable damage to the eyes.
- Account for small parts and destroy packaging materials, as these may be hazardous to children
WARNING: RISK OF BURN
- Allow fixture to cool before handling. Do not touch the enclosure of the light source.
- Do not exceed the maximum wattage marked on the label.
- Keep combustible and other materials that can burn away from the luminaries, fixture, and lamp/lens.
PRE- INSTALLATION
Before assembling the product, make sure all parts are present. Compare parts with package contents list and hardware contents. If any part is missing or damaged, do not attempt to assemble the product.
Estimated assembly time: 30 minutes.
Note: The VSL90 should be installed by a person with experience in household wiring or by a qualified electrician. The electrical system and the method of connecting this fixture must be in accordance with the National Electrical or local building regulations.
Recommended installation height for optimum coverage
- Install the motion sensor 6.6 ft / 2 meters -10 ft / 3 meters above the ground. Motion sensors are less sensitive when installed below 6.6 ft / 2 meters or above 10 ft / 3 meters.
- The VSL90 features 3 fixed independent motion sensor zones. Each sensor zone is 70°degrees and the total sensor coverage area is 210° degrees The detection distance per zone is 39.37ft/12meters plus
Install the fixture on a height between 6.6ft (2m) – 10ft (3m) above ground
![]()
Note: Outdoor ambient temperatures could affect the infrared emissions to the fixture sensors and the detection distances. The heat signature of a person or object during spells of higher ambient temperatures could decrease the detection distances slightly and during cold temperatures, the detection distance could increase.
Mounting Location
![]()
- Determine the mounting location — a solid is preferable.
- When selecting your installation area it’s important to be aware of possible factors that could cause false triggering; such as direct sunlight, window glare or refection, air condition units, swimming pool water reflection, direct street lighting, or large vegetation in the installation area.
- Although the VSL90 is weatherproof (IP65) to prolong its lifespan it is sensible to install the unit in an area that is not directly exposed to extreme weather conditions.
- To prolong the lifespan of the fixture it is advised to install the unit in a selected area that is not directly exposed to extreme weather conditions and only mount on a wall under an eave or soffit based on the recommended mounting height.
PRE-INSTALLATION (Continued)
![]()
Part | Description | Quantity |
A | Light Fixture | 1 |
B | Decorative Screw Covers | 2 |
C | Light fixture Mounting screws | 2 |
D | Universal mounting bracket To Junction Box Mounting Screws # 6-32 x 1″ | 2 |
D | Universal mounting bracket To Junction Box Mounting Screws # 8-32 x 1″ | 2 |
E | Universal mounting bracket | 1 |
F | EVA Gasket | 1 |
G | Wire Nuts | 2 |
Mounting Hardware included. Silicone Sealant is required (but not provided).
Tools Required for Installation (Not included):
![]()
INSTALLATION STEPS
Step 1. Installing the Light Fixture onto a Junction box
Remove the Universal mounting bracket (E) from the light fixture by loosening the Light fixture mounting screws. Feed the fixture wires through the Universal mounting bracket (E) and through the EVA gasket (F) before mounting to the junction box wires.
![]()
WARNING: Risk of an electric shock. Disconnect power at fuse or circuit breaker before installing or servicing the Light Fixture.
Step 2. Connect the light fixture wires to the junction box wires with the Wire Nuts (G).
Make sure the polarity is correct and do not install more than one motion sensor light on one wall switch
* Connect the black wire (live wire) from the AC power cord to the single black wire coming from the light fixture using one of the supplied wire nuts (G). Black to black (L)
* Connect the white wire from the AC power cord to the single white wire coming from the light fixture using one of the supplied wire nuts (G). White to white (N)
![]()
Step 3. On completion of the wiring connections,
Place the EVA Gasket (F) to cover the junction box sides and mount the universal mounting bracket (E) onto the junction box tightly using the Junction Box Mounting Screws (D). Seal around the junction box rim with Silicone to minimize water entering between the EVA Gasket and junction box
Align the light fixture with the universal mounting bracket (E) and mount and secure it with two Light fixture Mounting screws (C). Thereafter cover the screw heads with the Decorative Screw Covers (B )
INSTALLATION (Continued)
The VSL90 is designed to be “plug and play” most installations will require little or no adjustment and can rely on the original default settings :
* Night-time mode setting — The fixture has a built-in photocell that will automatically enable the fixture functions at sunset and off at dawn.
* Motorized function to rotate the LED head towards motion detection within 3 sensor zones
* Sensor sensitivity set at high setting at a maximum distance of 39.40ft/12meters
After the completion of the installation switch the power back on
* On turning the power on the VSL90 will start a self-calibration program. During this process, you will notice a flashing green LED light in the detector lens.
* Once the green light becomes stable and the VSL90 is ready for normal operation.
* If calibration is done during daytime the light fixture will automatically go to standby mode and not become active until after sunset.
* If calibration is done during nighttime— the light will resume normal operation.
The default setting is Night Time Operation Mode: The LED light will turn on for 3 minutes after sensor activation. 3 minutes after the last detection the LED light will go off and automatically rotate to the center position ready to respond to the next sensor detection.
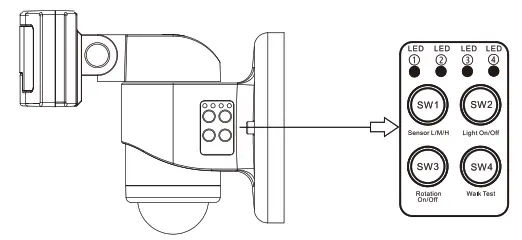
Optional function settings (See diagram below)
- SW1 Sensitivity Setting
Press and release the SWI button to start the sensitivity setting. The LEDs 1-4 above the buttons will indicate the setting selected. 1- High39.40ft/12meters. 2 – Medium29.55ft/9meters 3 – Low 19.69ft/6meters. Press and hold the SW1 button for 2 seconds to confirm and save the sensible choice. - SW2 To Switch LED Light off and on during Nighttime
This function setting is only active during nighttime. Press and hold the SW2 button in for 2 seconds and the LED will go off. To switch the LED back on push and hold SW2 again for 2 seconds.
• SW3 Rotation Off
Should you want to use the fixture LED light in a fixed center position This function setting will be active during Night -time. Press the SW3 button for 2 seconds, the LED head will center itself and will not rotate during activations. To go back to the motorized default setting press and release the SW3 button.
SW4: Walk test after daytime Installation.
Press button SW4 and hold for 2 seconds —The LED will illuminate and rotate towards the direction of detection. After 3 minutes of walk test, the VSL90 will reset to toNight Time operation only. Should further walk test be required press SW4 again for 2 seconds.
![]()
LIGHT HEAD ADJUSTMENT
Adjust the light head for the desired light beam angle with a manual tilt option of 30 degrees
![]()
SPECIFICATIONS
- Detection Method: Passive Infrared Sensor (PIR). PIR measures infrared light radiating from a person or object in its field of view.
- Sensor Range: up to 39.40ft/12meters across a horizontal detection zone of 210° degrees
- Power Source: 100 — 240V 50/60Hz
- Lumens: 1700 5. Weatherproof rating — IP65 6. Important – No additional lights should be connected to the VSL90
CARE AND CLEANING
To prolong the original appearance of the fixture regularly clean the VSL90 with a soft damp cloth. Do not use paints, solvents, or other chemicals on this light fixture. They could cause premature deterioration of the outer body of the fixture and will not be covered by the warranty.
Important – Do not spray the VSL90 directly with a hose or power washer.
Troubleshooting
Problem | Possible Cause | Solution |
| The LED light head does not move. | A power failure has interrupted the light head rotating functions | Remove the power to the VSL90 for about 10 seconds then turn it back on. The VSL90 will then go through its calibration warm-up routine in preparation for normal operation. |
| The light does not turn on. | The wiring is incorrect. | Check if the wiring is correct. Black to Black (Live). White to White (Neutral). |
| The light does not move and turn on during the daytime. | The VSL90 is set in Night Mode. | Push the walk test button SW4 to test. |
Retain this manual for future use
![]()



















