DAIKIN ATXF25A5V1BB Room Air Conditioner

About this document
INFORMATION
Make sure that the user has the printed documentation and ask him/her to keep it for future reference.
Target audience
Authorised installers
INFORMATION
This appliance is intended to be used by expert or trained users in shops, in light industry, and on farms, or for commercial and household use by lay persons.
Documentation set
This document is part of a documentation set. The complete set consists of:
- General safety precautions:
- Safety instructions that you MUST read before installing
- Format: Paper (in the box of the indoor unit)
- Indoor unit installation manual:
- Installation instructions
- Format: Paper (in the box of the indoor unit)
- Installer reference guide:
- Preparation of the installation, good practices, reference data,…
- Format: Digital files on http://www.daikineurope.com/support-and-manuals/product-information/
Latest revisions of the supplied documentation may be available on the regional Daikin website or via your dealer.
The original documentation is written in English. All other languages are translations.
Technical engineering data
- A subset of the latest technical data is available on the regionalDaikin website (publicly accessible).
- The full set of latest technical data is available on the Daikin Business Portal (authentication required).
About the box
Indoor unit
INFORMATION
The following figures are just examples and may NOT completely match your system layout.
- At delivery, the unit MUST be checked for damage. Any damage MUST be reported immediately to the claims agent of the carrier.
- Bring the packed unit as close as possible to its final installation position to prevent damage during transport.
- Unpack the indoor unit completely according to the instructions mentioned on the unpacking instructions sheet.
About the unit
WARNING: FLAMMABLE MATERIAL
The refrigerant inside this unit is mildly flammable.
System layout Operation range
Use the system in the following temperature and humidity ranges for safe and effective operation.
| Operation mode | Operation range |
| Cooling(a)(b) | ▪ Outdoor temperature: –10~46°C DB ▪ Indoor temperature: 18~32°C DB ▪ Indoor humidity: ≤80% |
Preparation
| Operation mode | Operation range |
| Heating(a) | ▪ Outdoor temperature: –15~24°C DB ▪ Indoor temperature: 10~30°C DB |
| Drying(a) | ▪ Outdoor temperature: –10~46°C DB ▪ Indoor temperature: 18~32°C DB ▪ Indoor humidity: ≤80% |
- (a) A safety device might stop the operation of the system if the unit runs outside its operation range.
- (b) Condensation and water dripping might occur if the unit runs outside its operation range.
Preparation
Preparing the installation site
WARNING
The appliance shall be stored in a room without continuously operating ignition sources (example: open flames, an operating gas appliance or an operating electric heater).
Installation site requirements of the indoor unit
INFORMATION: The sound pressure level is less than 70 dBA.
- Air flow. Make sure nothing blocks the air flow.
- Drainage. Make sure condensation water can be evacuated properly.
- Wall insulation. When conditions in the wall exceed 30°C and a relative humidity of 80%, or when fresh air is inducted into the wall, then additional insulation is required (minimum 10 mm thickness, polyethylene foam).
- Wall strength. Check whether the wall or the floor is strong enough to support the weight of the unit. If there is a risk, reinforce the wall or the floor before installing the unit.
- Spacing. Install the unit at least 1.8 m from the floor and keep the following requirements in mind for distances from the walls and the ceiling:

Preparing refrigerant piping
Refrigerant piping requirements
NOTICE
The piping and other pressure-containing parts shall be suitable for refrigerant. Use phosphoric acid deoxidised seamless copper for refrigerant.
- Foreign materials inside pipes (including oils for fabrication) must be ≤30 mg/10 m.
Refrigerant piping diameter
Use the same diameters as the connections on the outdoor units:
| Class | L1 liquid piping | L1 gas piping |
| 20~35 | Ø6.4 | Ø9.5 |
Refrigerant piping material
- Piping material: Phosphoric acid deoxidised seamless copper.
- Flare connections: Only use annealed material.
- Piping temper grade and thickness:
| Outer diameter (Ø) | Temper grade | Thickness (t)(a) | |
| 6.4 mm (1/4″) | Annealed (O) | ≥0.8 mm | ![]() |
(a) Depending on the applicable legislation and the maximum working pressure of the unit (see “PS High” on the unit name plate), larger piping thickness might be required.
Refrigerant piping insulation
- Use polyethylene foam as insulation material:
- with a heat transfer rate between 0.041 and 0.052 W/mK (0.035 and 0.045 kcal/mh°C)
- with a heat resistance of at least 120°C
- Insulation thickness
| Pipe outer diameter (Øp) | Insulation inner diameter (Øi) | Insulation thickness (t) |
| 6.4 mm (1/4″) | 8~10 mm | ≥10 mm |

If the temperature is higher than 30°C and the humidity is higher than RH 80%, the thickness of the insulation materials should be at least 20 mm to prevent condensation on the surface of the insulation.
Installation
Opening the units
To open the indoor unit To remove the front panel
- Hold the front panel by the panel tabs on both sides and open it.

- Remove the front panel by sliding it to the left or the right and pulling it toward you.
Result: The front panel shaft on 1 side will be disconnected. - Disconnect the front panel shaft on the other side in the same manner.

To re-install the front panel
- Attach the front panel. Align the shafts with the slots and push them all the way in.
- Close the front panel slowly; press at both sides and at the centre.
To remove the front grille
CAUTION
Wear adequate personal protective equipment (protective gloves, safety glasses,…) when installing, maintaining or servicing the system.
- Remove the front panel to remove the air filter.
- Remove 2 screws from the front grille.
- Push down the 3 upper hooks marked with a symbol with 3 circles.

- We recommend opening the flap before removing the front grille.
- Place both hands under the centre of the front grille, push it up and then toward you.

To re-install the front grille
- Install the front grille and firmly engage the 3 upper hookS
- Install 2 screws back on the front grille.
- Install the air filter and then mount the front panel.
To remove the electrical wiring box cover
- Remove the front grille.
- Remove 1 screw from the electrical wiring box.
- Open the electrical wiring box cover by pulling the protruding part on the top of the cover.
- Unhook the tab on the bottom and remove the electrical wiring box cover.

- To re-install the cover, first hook the bottom tab onto the electrical wiring box, and slide the cover into the 2 upper tabs.
To open the service cover
- Remove 1 screw from the service cover.
- Pull out the service cover horizontally away from the unit.

Installing the indoor unit
To install the mounting plate
- Install the mounting plate temporarily.
- Level the mounting plate.
- Mark the centres of the drilling points on the wall using a tape measure. Position the end of tape measure at symbol ” “.
- Finish the installation by securing the mounting plate on the wall using M4×25L screws (field supply).
INFORMATION: The removed pipe port cover can be kept in the mounting plate pocket.
- A Class 20~35
- a Recommended mounting plate fixing spots b Pocket for the pipe port cover
- c Tabs for placing a spirit level
- d Through-the-wall hole Ø65 mm
- e Drain hose position
- f Position for the tape measure at symbol
- g Gas pipe end
- h Liquid pipe end
To drill a wall holE
CAUTION
For walls containing a metal frame or a metal board, use a wall embedded pipe and wall cover in the feed-through hole to prevent possible heat, electrical shock, or fire.
NOTICE
Be sure to seal the gaps around the pipes with sealing material (field supply), in order to prevent water leakage.
- Bore a 65 mm large feed-through hole in the wall with a downward slope towards the outside.
- Insert a wall-embedded pipe into the hole.
- Insert a wall cover into the wall pipe.

- After completing wiring, refrigerant piping and drain piping, do NOT forget to seal the gap with putty.
To remove the pipe port cover
INFORMATION
To connect the piping on right-side, right-bottom, left-side or left-bottom, the pipe port cover MUST be removed.
- Cut off the pipe port cover from inside the front grille using a coping saw.

- Remove any burrs along the cut section using a half round needle file.
NOTICE: Do NOT use nippers to remove the pipe port cover, as this would damage the front grille.
To provide drainage
Make sure condensation water can be evacuated properly. This involves:
- General guidelines
- Connecting the drain piping to the indoor unit
- Checking for water leaks
General guidelines
- Pipe length. Keep drain piping as short as possible.
- Pipe size. If drain hose extension or embedded drain piping is required, use appropriate parts that match the hose front end.
NOTICE
- Install the drain hose with a downward slope.
- Traps are NOT permitted.
- Do NOT put the end of the hose in water.

- Drain hose extension. To extend the drain hose, use a field supplied hose with inner Ø16 mm. Do NOT forget to use a heat insulation tube on the indoor section of the extension hose.

- Ridgid polyvinyl chloride pipe. When connecting a ridgid polyvinyl chloride pipe (nominal Ø13 mm) directly to the drain hose as with embedded piping work, use a field supplied drain socket (nominal Ø13 mm).

- Condensation. Take measures against condensation. Insulate the complete drain piping in the building.
- Insert the drain hose in the drain pipe as shown in the following figure, so it will NOT be pulled out of the drain pipe.

- Insert the drain hose in the drain pipe as shown in the following figure, so it will NOT be pulled out of the drain pipe.
To connect the piping on right side, right-back, or right-bottom
INFORMATION
The factory default is right-side piping. For left-side piping, remove the piping from the right side and install it on the left side.
- Attach the drain hose with adhesive vinyl tape to the bottom of the refrigerant pipes.
- Wrap the drain hose and the refrigerant pipes together using insulation tape.

- a Remove the pipe port cover here for right side piping
- b Remove the pipe port cover here for right-bottom piping
To connect the piping on left side, left-back, or left-bottom
INFORMATION
The factory default is right-side piping. For left-side piping, remove the piping from the right side and install it on the left side.
- Remove the insulation fixing screw on the right side and remove the drain hose.
- Remove the drain plug on the left side and attach it to the right side.
NOTICE: Do NOT apply lubricating oil (refrigerant oil) to the drain plug when inserting it. The drain plug may deteriorate and cause drain leakage from the plug. - Insert the drain hose on the left side and do not forget to tighten it with the fixing screw; otherwise water leakage may occur.

- Attach the drain hose to the refrigerant piping bottom side using adhesive vinyl tape.

To check for water leaks
- Remove the air filters.
- Gradually pour approximately 1 l of water in the drain pan, and check for water leaks.
Connecting the refrigerant piping
DANGER: RISK OF BURNING/SCALDING
Guidelines when connecting the refrigerant piping
Take the following guidelines into account when connecting pipes:
- Coat the flare inner surface with ether oil or ester oil when connecting a flare nut. Tighten 3 or 4 turns by hand, before tightening firmly.

- ALWAYS use 2 wrenches together when loosening a flare nut.
- ALWAYS use a spanner and torque wrench together to tighten the flare nut when connecting the piping. This to prevent nut cracking and leaks.

Piping size (mm) Tightening torque (N•m) Flare dimensions (A) (mm) Flare shape (mm) Ø6.4 15~17 8.7~9.1 90°±2 Ø9.5 33~39 12.8~13.2 ØA Ø12.7 50~60 16.2~16.6 R= 0.4~0.8
To connect the refrigerant piping to the indoor unit
- Pipe length. Keep refrigerant piping as short as possible.
- Connect refrigerant piping to the unit using flare connections.
- Insulate the refrigerant piping, interconnection cable and drain hose on the indoor unit as follows:

NOTICE
Make sure to insulate all refrigerant piping. Any exposed piping might cause condensation
Connecting the electrical wiring
DANGER: RISK OF ELECTROCUTION
WARNING
- ALWAYS use multicore cable for power supply cables.
- If the supply cord is damaged, it MUST be replaced by the manufacturer, its service agent or similarly qualified persons in order to avoid a hazard.
- Do NOT connect the power supply to the indoor unit. This could result in electrical shock or fire.
- Do NOT use locally purchased electrical parts inside the product.
- Do NOT branch the power supply for the drain pump, etc. from the terminal block. This could result in electrical shock or fire.
- Keep the interconnection wiring away from copper pipes without thermal insulation as such pipes will be very hot.
To connect the electrical wiring to the indoor unit
Electrical work should be carried out in accordance with the installation manual and the national electrical wiring rules or code of practice.
- Set the indoor unit on the mounting plate hooks. Use the marks as a guide.

- Open the front panel, and then the service cover. Refer to the Installer reference guide for opening procedure.
- Pass the interconnection cable from the outdoor unit through the feed-through wall hole, through the back of the indoor unit and through the front side.
Note: In case the interconnection cable was stripped in advance, cover the ends with insulating tape. - Bend the end of the cable up.
NOTICE- Be sure to keep the power line and transmission line apart from each other. Transmission wiring and power supply wiring may cross, but may NOT run parallel.
- In order to avoid any electrical interference the distance between both wirings should ALWAYS be at least 50 mm.
WARNING: Provide adequate measures to prevent that the unit can be used as a shelter by small animals. Small animals that make contact with electrical parts can cause malfunctions, smoke or fire.
- Strip the wire ends approximately 15 mm.
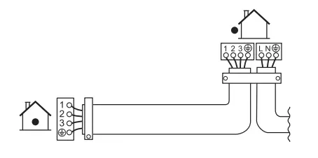
- Match wire colours with terminal numbers on the indoor unit terminal blocks and firmly screw the wires to the corresponding terminals.
- Connect the earth wire to the corresponding terminal.
- Firmly fix the wires with the terminal screws.
- Pull the wires to make sure that they are securely attached, then retain the wires with the wire retainer.
- Shape the wires so that the service cover fits securely, then close the service cover.

Finishing the indoor unit installation
To insulate the drain piping, refrigerant piping and interconnection cable
- After the drain piping, refrigerant piping and the electrical wiring are finished. Wrap refrigerant pipes, interconnection cable and drain hose together using insulation tape. Overlap at least half the width of the tape with each turn.

To pass the pipes through the wall hole
- Shape the refrigerant pipes along the pipe path marking on the mounting plate.
NOTICE- Do NOT bend refrigerant pipes.
- Do NOT push the refrigerant pipes onto the bottom frame or the front grille.

- Pass the drain hose and refrigerant pipes through the wall hole.
To fix the unit on the mounting plate
- Set the indoor unit on the mounting plate hooks. Use the marks as a guide.

- Press the bottom frame of the unit with both hands to set it on the bottom hooks of the mounting plate. Make sure that the wires do NOT get squeezed anywhere.
Note: Take care that the interconnection cable does NOT get caught in the indoor unit. - Press the bottom edge of the indoor unit with both hands until it is firmly caught by the mounting plate hooks.
- Secure the indoor unit to the mounting plate using 2 indoor unit fixing screws M4×12L (accessory).
Configuration
To set a different address
In case 2 indoor units are installed in 1 room, different addresses for 2 user interfaces can be set.
- Remove the batteries from the user interface
- Cut the address jumper.
NOTICE
Be careful NOT to damage any of the surrounding parts when cutting the address jumper.
Turn the power supply on.
Result: The flap of the indoor unit will open and close to set the reference position.
INFORMATION
- For FTXF units, the following setting MUST be completed within 5 minutes after the power supply is turned on.
- In case you could NOT complete the setting in time, turn the power supply off and wait at least 1 minute before turning the power supply back on.
Press simultaneously:

Press the indoor unit ON/OFF switch while the operation lamp is blinking.
INFORMATION
If the setting could NOT be completed while the operation lamp was blinking, repeat the setting process from the beginning.
When the setting is complete, press:
FTXP and Keep pressed for about 5 seconds.
Result: The user interface will return to the previous screen.
Commissioning
NOTICE
ALWAYS operate the unit with thermistors and/or pressure sensors/switches. If NOT, burning of the compressor might be the result.
Checklist before commissioning
After the installation of the unit, first check the items listed below. Once all checks are fulfilled, the unit MUST be closed. Power-up the unit after it is closed.
| You read the complete installation instructions, as described in the installer reference guide. | |
| The indoor units are properly mounted. | |
| The outdoor unit is properly mounted. | |
| Air inlet/outlet Check that the air inlet and outlet of the unit is NOT obstructed by paper sheets, cardboard, or any other material. | |
| There are NO missing phases or reversed phases. | |
| The refrigerant pipes (gas and liquid) are thermally insulated. | |
| Drainage Make sure drainage flows smoothly. Possible consequence: Condensate water might drip. | |
| The system is properly earthed and the earth terminals are tightened. | |
| The fuses or locally installed protection devices are installed according to this document, and have NOT been bypassed. | |
| The power supply voltage matches the voltage on the identification label of the unit. | |
| The specified wires are used for the interconnection cable. | |
| The indoor unit receives the signals of the user interface. | |
| There are NO loose connections or damaged electrical components in the switch box. | |
| The insulation resistance of the compressor is OK. | |
| There are NO damaged components or squeezed pipes on the inside of the indoor and outdoor units. | |
| There are NO refrigerant leaks. | |
| The correct pipe size is installed and the pipes are properly insulated. | |
| The stop valves (gas and liquid) on the outdoor unit are fully open. |
To perform a test run
- Prerequisite: Power supply MUST be in the specified range.
- Prerequisite: Test run may be performed in cooling or heating mode.
- Prerequisite: Test run should be performed in accordance with the operation manual of the indoor unit to make sure that all functions and parts are working properly.
- In cooling mode, select the lowest programmable temperature. In heating mode, select the highest programmable temperature. Test run can be disabled if necessary.
- When the test run is finished, set the temperature to a normal level. In cooling mode: 26~28°C, in heating mode: 20~24°C.
- The system stops operating 3 minutes after the unit is turned OFF.
To perform a test run in winter season
When operating the air conditioner in Cooling mode in winter, set it to test run operation using the following method.
For FTXP and ATXP units
- Press
, and
simultaneously. - Press

- Select 7
- Press

- Press
to switch the system on.
Result: Test run operation will stop automatically after about 30 minutes. - To stop operation, press

For FTXF units - Press to switch the system on.
- Press the centre of
, and
simultaneously. - Press
twice.
Result: will appear on the display. Test run operation is selected. Test run operation will stop automatically after about 30 minutes. - To stop operation, press .
INFORMATION
Some of the functions CANNOT be used in the test run operation mode. If a power failure occurs during operation, the system automatically restarts immediately after power is restored.
Disposal
Dismantling of the unit and treatment of the refrigerant, oil and other parts MUST comply with the applicable legislation.
Technical data
A subset of the latest technical data is available on the regional Daikin website (publicly accessible). The full set of latest technical data is available on the Daikin Business Portal (authentication required).
Wiring diagram



























NOTICE


simultaneously.
twice.


















