MAKITA HR5212C AVT Rotary Hammer
Explanation of general view
- Switch trigger
- Switch button
- Adjusting dial
- Change lever
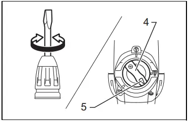
- Pointer
- Power-ON indicator lamp (green)
- Service indicator lamp (red)
- Side handle
- Clamp nut
- Side grip
- Bit shank
- Bit grease
- Bit
- Release cover
- Depth gauge
- Lock button
- Blow-out bulb
SPECIFICATIONS
- Due to our continuing program of research and development, the specifications herein are subject to change without notice.
- Specifications may differ from country to country.
- The weight may differ depending on the attachment(s). The lightest and heaviest combinations, according to EPTAProcedure 01/2014, are shown in the table.
IMPORTANT INSTRUCTION
Intended use
The tool is intended for hammer drilling in brick, concrete and stone as well as for chiseling work.
Power supply
The tool should be connected only to a power supply of the same voltage as indicated on the nameplate, and can only be operated on a single-phase AC supply. They are double-insulated and can, therefore, also be used from sockets without earth wire.
General power tool safety warnings
Read all safety warnings, instructions, illustrations and specifications provided with this power tool. Failure to follow all instructions listed below may result in electric shock, fire and/or serious injury. Save all warnings and instructions for future reference. The term “power tool” in the warnings refers to your mains-operated (corded) power tool or battery-operated (cordless) power tool.
ROTARY HAMMER SAFETY WARNINGS
- Wear ear protectors. Exposure to noise can cause hearing loss.
- Use auxiliary handle(s), if supplied with the tool. Loss of control can cause personal injury
- Hold the power tool by insulated gripping surfaces, when performing an operation where the cutting accessory may contact hidden wiring or its own cord. Cutting accessory contacting a “live” wire may make exposed metal parts of the power tool “live” and could give the operator an electric shock.
Safety instructions when using long drill bits with rotary hammers
- Always start drilling at low speed and with the bit tip in contact with the workpiece. At higher speeds, the bit is likely to bend if allowed to rotate freely without contacting the workpiece, resulting in personal injury.
- Apply pressure only in direct line with the bit and do not apply excessive pressure. Bits can bend, causing breakage or loss of control, resulting in personal injury.
ADDITIONAL SAFETY RULES
- Wear a hard hat (safety helmet), safety glasses and/or face shield. Ordinary eye or sunglasses are NOT safety glasses. It is also highly recommended that you wear a dust mask and thickly padded gloves.
- Be sure the bit is secured in place before operation.
- Under normal operation, the tool is designed to produce vibration. The screws can come loose easily, causing a breakdown or accident. Check tightness of screws carefully before operation.
- In cold weather or when the tool has not been used for a long time, let the tool warm up for a while by operating it under no load. This will loosen up the lubrication.
- Without proper warmup, hammering operation is difficult.
- Always be sure you have a firm footing. Be sure no one is below when using the tool in high locations.
- Hold the tool firmly with both hands.
- Keep hands away from moving parts.
- Do not leave the tool running. Operate the tool only when hand-held.
- Do not point the tool at any one in the area when operating. The bit could fly out and injure someone seriously.
- Do not touch the bit, parts close to the bit, or workpiece immediately after operation; they may be extremely hot and could burn your skin.
- Some material contains chemicals which may be toxic. Take caution to prevent dust inhalation and skin contact. Follow material supplier safety data.
- Do not touch the power plug with wet hands.
SAVE THESE INSTRUCTIONS.
DO NOT let comfort or familiarity with product (gained from repeated use) replace strict adherence to safety rules for the subject product. MISUSE or failure to follow the safety rules stated in this instruction manual may cause serious personal injury.
FUNCTIONAL DESCRIPTION
Always be sure that the tool is switched off and unplugged before adjusting or checking function on the tool.
Switch action
CAUTION Before plugging in the tool, always check to see that the switch trigger actuates properly and returns to the “OFF” position when released.
Switch trigger
This switch functions when setting the tool in symbol and symbol modes. To start the tool, simply pull the switch trigger. Release the switch trigger to stop.
Switch button
This switch functions when setting the tool in symbol mode. When the tool is in the symbol mode, the switch button projects out and lights in red. To start the tool, press the switch button. The switch light turns in green. To stop the tool, press the switch button again.
Speed change
The revolutions and blows per minute can be adjusted just by turning the adjusting dial. The dial is marked 1 (lowest speed) to 5 (full speed). Refer to the table below for the relationship between the number settings on the adjusting dial and the revolutions/ blows per minute.
For Model HR4003C, HR4013C
For Model HR5202C, HR5212C

For Model HR4013C, HR5212C only
Blows at no load per minute becomes smaller than those on load in order to reduce vibration under no load, but this does not show trouble. Once the operation starts with a bit against concrete, blows per minute increase and get to the numbers as shown in the table. When the temperature is low and there is less fluidity in grease, the tool may not have this function even with the motor rotating.
CAUTION:
- If the tool is operated continuously at low speeds for a long time, the motor may get overloaded, resulting in tool malfunction.
- The speed adjusting dial can be turned only as far as 5 and back to 1. Do not force it past 5 or 1, or the speed adjusting function may no longer work.
Selecting the action mode
- Do not rotate the change lever when the tool is running.
- The tool will be damaged.
- To avoid rapid wear on the mode change mechanism, be sure that the change lever is always positively located in one of the action mode positions.
Hammer drilling mode 
For drilling in concrete, masonry, etc., rotate the change lever to the symbol. Use a tungsten-carbide tipped bit.
Hammering mode (Switch trigger mode)
For chipping, scaling or demolition operations, rotate the change lever to the symbol. Use a bull point, cold chisel, scaling chisel, etc.

Hammering mode (Switch button mode)
- For continuous chipping, scaling or demolition operations, rotate the change lever to the symbol.

- The switch button projects out and lights in red. Use a bull point, cold chisel, scaling chisel, etc.

- For continuous chipping, scaling or demolition operations, rotate the change lever to the symbol.
NOTE: When using the tool in the symbol mode, the switch trigger does not work but only the switch button works.
Torque limiter
The torque limiter actuates when torque reaches a certain level. The motor disengages from the output shaft. When this happens, the bit stops turning.
CAUTION:
As soon as the torque limiter actuates, switch off the tool immediately. This helps to prevent premature wear of the tool.
Indicator lamp
The green power-ON indicator lamp lights up when the tool is plugged in. If the indicator lamp does not light up, the mains cord or the controller may be defective. When the indicator lamp lights up but the tool does not start even the tool is switched on, the carbon brushes may be worn out, or the controller, the motor or the ON/ OFF switch may be defective. If above symptoms occur, stop using the tool immediately and ask your local service center. The red service indicator lamp lights up when the carbon brushes are nearly worn out to indicate that the tool needs servicing. After some period of use, the motor automatically shuts off.
ASSEMBLY
Always be sure that the tool is switched off and unplugged before carrying out any work on the tool.
Side handle
Use the side handle only when chipping, scaling or demolishing. Do not use it when drilling in concrete, masonry, etc. The tool cannot be held properly with this side handle when drilling.
The side handle can be swung 360° on the vertical and secured at any desired position. It also secures at eight different positions back and forth on the horizontal. Just loosen the clamp nut to swing the side handle to a desired position. Then tighten the clamp nut securely. 
Side grip
Always use the side grip to ensure operating safety when drilling in concrete, masonry, etc. The side grip swings around to either side, allowing easy handling of the tool in any position. Loosen the side grip by turning it counterclockwise, swing it to the desired position and then tighten it by turning clockwise.
Installing or removing the bit
Clean the bit shank and apply bit grease before installing the bit.
Insert the bit into the tool. Turn the bit and push it in until it engages. If the bit cannot be pushed in, remove the bit. Pull the release cover down a couple of times. Then insert the bit again. Turn the bit and push it in until it engages. After installing, always make sure that the bit is securely held in place by trying to pull it out

To remove the bit, pull the release cover down all the way and pull the bit out.

Bit angle (when chipping, scaling or demolishing)
The bit can be secured at 24 different angles. To change the bit angle, rotate the change lever so that the pointer points to the symbol. Turn the bit to the desired angle
Rotate the change lever so that the pointer points to the symbol. Then make sure that the bit is securely held in place by turning it slightly. 
Depth gauge
The depth gauge is convenient for drilling holes of uniform depth. Press and hold the lock button, and insert the depth gauge into the hex hole.
Make sure the toothed side of the depth gauge faces the marking.
Adjust the depth gauge by moving it back and forth while pressing the lock button. After adjustment, release the lock button to lock the depth gauge.
NOTE: The depth gauge cannot be used at the position where the depth gauge strikes against the gear housing/motor housing.
OPERATION
CAUTION
- Make sure the work material is secured and not unstable. Flown object may cause personal injury.
- Do not pull the tool out forcibly even the bit gets stuck. Loss of control may cause injury.
Hammer drilling operation
Set the change lever to the symbol. Position the bit at the desired location for the hole, then pull the switch trigger. Do not force the tool. Light pressure gives best results. Keep the tool in position and prevent it from slipping away from the hole. Do not apply more pressure when the hole becomes clogged with chips or particles. Instead, run the tool at an idle, then remove the bit partially from the hole. By repeating this several times, the hole will be cleaned out and you can continue drilling operation.
CAUTION:
There is a tremendous and sudden twisting force exerted on the tool/bit at the time of hole breakthrough, when the hole becomes clogged with chips and particles, or when striking reinforcing rods embedded in the concrete. Always use the side grip (auxiliary handle) and firmly hold the tool by both side grip and switch handle during operations, and maintain good balance and safe footing. Failure to do so may result in the loss of control of the tool and potentially severe injury.
Blow-out bulb (optional accessory)
After drilling the hole, use the blow-out bulb to clean the dust out of the hole.
Chipping/Scaling/Demolition
Set the change lever to the or symbol. Hold the tool firmly with both hands. Turn the tool on and apply slight pressure on the tool so that the tool does not bounce around, uncontrolled. Pressing very hard on the tool will not increase the efficiency
MAINTENANCE
- Always be sure that the tool is switched off and unplugged before attempting to perform inspection or maintenance.
- Never use gasoline, benzine, thinner, alcohol or the like. Discoloration, deformation or cracks may result.
Lubrication
This servicing should be performed by Makita Authorized Service Centers only. This tool requires no hourly or daily lubrication because it has a grease-packed lubrication system. It should be relubricated regularly. Send the complete tool to Makita Authorized or Factory Service Center for this lubrication service. To maintain product SAFETY and RELIABILITY, repairs, any other maintenance or adjustment should be performed by Makita Authorized Service Centers, always using Makita replacement parts.
OPTIONAL ACCESSORIES
- These accessories or attachments are recommended for use with your Makita tool specified in this manual.
- The use of any other accessories or attachments might present a risk of injury to persons. Only use accessory or attachment for its stated purpose.
- If you need any assistance for more details regarding these accessories, ask your local Makita Service Center.
- SDS-MAX Carbide-tipped bits
- SDS-MAX bull point
- SDS-MAX cold chisel
- SDS-MAX scaling chisel
- SDS-MAX clay spade
- Hammer grease
- Bit grease
- Side handle
- Side grip
- Depth gauge
- Blow-out bulb
- Safety goggles
- Carrying case
- Dust extractor attachment
NOTE:
- Some items in the list may be included in the tool package as standard accessories.
- They may differ from country to country. ENG905-1
Noise The typical A-weighted noise level determined according to EN62841-2-6
Model HR4003C
- Sound pressure level (LpA): 92 dB (A)
- Sound power level (LWA): 103 dB (A)
- Uncertainty (K): 3 dB (A)
Model HR4013C
- Sound pressure level (LpA): 93 dB (A)
- Sound power level (LWA): 104 dB (A)
- Uncertainty (K): 3 dB (A)
Model HR5202C, HR5212C
- Sound pressure level (LpA): 98 dB (A)
- Sound power level (LWA): 109 dB (A)
- Uncertainty (K): 3 dB (A)
NOTE:
- The declared noise emission value(s) has been measured in accordance with a standard test method and may be used for comparing one tool with another.
- The declared noise emission value(s) may also be used in a preliminary assessment of exposure.
WARNING
- Wear ear protection.
- The noise emission during actual use of the power tool can differ from the declared value(s) depending on the ways in which the tool is used especially what kind of workpiece is processed
- Be sure to identify safety measures to protect the operator that are based on an estimation of exposure in the actual conditions of use (taking account of all parts of the operating cycle such as the times when the tool is switched off and when it is running idle in addition to the trigger time). ENG900-1
Vibration
The vibration total value (tri-axial vector sum) determined according to EN62841-2-6
Model HR4003C
- Work mode: chiseling function with side handle
- Vibration emission (ah, CHeq): 7.6 m/s2
- Uncertainty (K): 1.5 m/s2
- Work mode: chiseling function with side grip
- Vibration emission (ah, CHeq): 7.3 m/s2
- Uncertainty (K): 1.5 m/s2
- Work mode: hammer drilling into concrete
- Vibration emission (ah, HD): 10.1 m/s2
- Uncertainty (K): 1.5 m/s2
Model HR4013C
- Work mode: chiseling function with side handle
- Vibration emission (ah, CHeq): 4.8 m/s2
- Uncertainty (K): 1.5 m/s2
- Work mode: chiseling function with side grip
- Vibration emission (ah, CHeq): 4.7 m/s2
- Uncertainty (K): 1.5 m/s2
- Work mode: hammer drilling into concrete
- Vibration emission (ah, HD): 5.7 m/s2
- Uncertainty (K): 1.5 m/s2
Model HR5202C
- Work mode: chiseling function with side handle
- Vibration emission (ah, CHeq): 9.9 m/s2
- Uncertainty (K): 1.5 m/s2
- Work mode: chiseling function with side grip
- Vibration emission (ah, CHeq): 9.9 m/s2
- Uncertainty (K): 1.5 m/s2
- Work mode: hammer drilling into concrete
- Vibration emission (ah, HD): 15.7 m/s2
- Uncertainty (K): 2.0 m/s
Model HR5212C
- Work mode: chiseling function with side handle
- Vibration emission (ah, CHeq): 7.2 m/s2
- Uncertainty (K): 1.5 m/s2
- Work mode: chiseling function with side grip
- Vibration emission (ah, CHeq): 7.5 m/s2
- Uncertainty (K): 1.5 m/s2
- Work mode: hammer drilling into concrete
- Vibration emission (ah, HD): 9.9 m/s2
- Uncertainty (K): 1.5 m/s
NOTE:
- The declared vibration total value(s) has been measured in accordance with a standard test method and may be used for comparing one tool with another.
- The declared vibration total value(s) may also be used in a preliminary assessment of exposure.
WARNING:
- The vibration emission during actual use of the power tool can differ from the declared value(s) depending on the ways in which the tool is used especially what kind of workpiece is processed.
- Be sure to identify safety measures to protect the operator that are based on an estimation of exposure in the actual conditions of use (taking account of all parts of the operating cycle such as the times when the tool is switched off and when it is running idle in addition to the trigger time).
EC DECLARATION OF CONFORMITY
For European countries only The EC declaration of conformity is included as Annex A to this instruction manual.
























