MAKITA HR2300 Rotary Hammer Combination

SPECIFICATIONS
| Model | HR2300 | HR2310T | HR2600 | HR2601 | HR2610 | HR2610T | HR2611F | HR2611FT | |
| Capacities | Concrete | 23 mm | 26 mm | ||||||
| Core bit | 68 mm | 68 mm | 68 mm | ||||||
| Diamond core bit (dry type) | 70 mm | 80 mm | 80 mm | ||||||
| Steel | 13 mm | 13 mm | 13 mm | ||||||
| Wood | 32 mm | 32 mm | 32 mm | ||||||
| No load speed (min-1) | 0 – 1,200 | ||||||||
| Blows per minute | 0 – 4,600 | ||||||||
| Overall length | 356 mm | 380 mm | 361 mm | 385 mm | 361 mm | 385 mm | |||
| Net weight | 2.7 kg | 2.9 kg | 2.8 kg | 2.9 kg | 2.8 kg | 2.9 kg | 2.9 kg | 3.0 kg | |
| Safety class | /II | ||||||||
- Due to our continuing program of research and development, the specifications herein are subject to change without notice.
- Specifications may differ from country to country.
- Weight according to EPTA-Procedure 01/2003
Intended use
The tool is intended for hammer drilling and drilling in brick, concrete and stone.
It is also suitable for drilling without impact in wood, metal, ceramic and plastic.
Power supply
The tool should be connected only to a power supply of the same voltage as indicated on the nameplate, and can only be operated on single-phase AC supply. They are double-insulated and can, therefore, also be used from sockets without earth wire.
Noise
The typical A-weighted noise level determined accord-ing to EN60745:
Model HR2300, HR2601, HR2611F, HR2611FT
Sound pressure level (LpA) : 90 dB(A)
Sound power level (LWA) : 101 dB(A) Uncertainty (K) : 3 dB(A)
Model HR2310T, HR2600, HR2610, HR2610T
Sound pressure level (LpA) : 91 dB(A)
Sound power level (LWA) : 102 dB(A) Uncertainty (K) : 3 dB(A)
Wear ear protection
Vibration
The vibration total value (tri-axial vector sum) deter-mined according to EN60745:
Model HR2300, HR2600
Work mode : hammer drilling into concrete
Vibration emission (ah,HD) : 15.5 m/s2
Uncertainty (K) : 1.5 m/s2
Work mode: drilling into metal
Vibration emission (ah,D) : 2.5 m/s2
Uncertainty (K) : 1.5 m/s2
Model HR2310T
Work mode : hammer drilling into concrete
Vibration emission (ah,HD) : 15.5 m/s2
Uncertainty (K) : 1.5 m/s2
Work mode : chiselling function with side grip
Vibration emission (ah,CHeq) : 10.5 m/s2
Uncertainty (K) : 1.5 m/s2
Work mode: drilling into metal
Vibration emission (ah,D) : 2.5 m/s2 or less
Uncertainty (K) : 1.5 m/s2
Model HR2601
Work mode : hammer drilling into concrete
Vibration emission (ah,HD) : 12.0 m/s2
Uncertainty (K) : 1.5 m/s2
Work mode: drilling into metal
Vibration emission (ah,D) : 2.5 m/s2 or less
Uncertainty (K) : 1.5 m/s2
Model HR2610
Work mode : hammer drilling into concrete
Vibration emission (ah,HD) : 15.5 m/s2
Uncertainty (K) : 1.5 m/s2
Work mode : chiselling function with side grip
Vibration emission (ah,CHeq) : 9.5 m/s2
Uncertainty (K) : 1.5 m/s2
Work mode: drilling into metal
Vibration emission (ah,D) : 2.5 m/s2
Uncertainty (K) : 1.5 m/s2
Model HR2610T
Work mode : hammer drilling into concrete
Vibration emission (ah,HD) : 15.0 m/s2
Uncertainty (K) : 1.5 m/s2
Work mode : chiselling function with side grip
Vibration emission (ah,CHeq) : 9.5 m/s2
Uncertainty (K) : 1.5 m/s2
Work mode: drilling into metal
Vibration emission (ah,D) : 2.5 m/s2 or less
Uncertainty (K) : 1.5 m/s2
Model HR2611F
Work mode : hammer drilling into concrete
Vibration emission (ah,HD) : 12.0 m/s2
Uncertainty (K) : 1.5 m/s2
Work mode : chiselling function with side grip
Vibration emission (ah,CHeq) : 9.0 m/s2
Uncertainty (K) : 1.5 m/s2
Work mode: drilling into metal
Vibration emission (ah,D) : 2.5 m/s2 or less
Uncertainty (K) : 1.5 m/s2
Model HR2611FT
Work mode : hammer drilling into concrete
Vibration emission (ah,HD) : 11.5 m/s2
Uncertainty (K) : 1.5 m/s2
Work mode : chiselling function with side grip
Vibration emission (ah,CHeq) : 8.5 m/s2
Uncertainty (K) : 1.5 m/s2
Work mode: drilling into metal
Vibration emission (ah,D) : 2.5 m/s2 or less
Uncertainty (K) : 1.5 m/s2
NOTE: The declared vibration emission value has been measured in accordance with the standard test method and may be used for comparing one tool with another.
NOTE: The declared vibration emission value may also be used in a preliminary assessment of exposure.
WARNING: The vibration emission during actual use of the power tool can differ from the declared emission value depending on the ways in which the tool is used.
WARNING: Be sure to identify safety measures to protect the operator that are based on an estima-tion of exposure in the actual conditions of use (taking account of all parts of the operating cycle such as the times when the tool is switched off and when it is running idle in addition to the trigger time).
For European countries only
EC Declaration of Conformity
Makita declares that the following Machine(s):
Designation of Machine:
Rotary Hammer / Combination Hammer
Model No./ Type: HR2300, HR2310T, HR2601, HR2610, HR2610T, HR2611F, HR2611FT
Conforms to the following European Directives:
2006/42/EC
They are manufactured in accordance with the following standard or standardized documents:
EN60745
The Technical file in accordance with 2006/42/EC is available from:
Makita, Jan-Baptist Vinkstraat 2, 3070, Belgium
Yasushi Fukaya
Director
Makita, Jan-Baptist Vinkstraat 2, 3070, Belgium
General Power Tool Safety Warnings
WARNING Read all safety warnings and all instructions. Failure to follow the warnings and instructions may result in electric shock, fire and/or serious injury.
Save all warnings and instructions for future reference.
ROTARY HAMMER SAFETY WARNINGS
- Wear ear protectors. Exposure to noise can cause hearing loss.
- Use auxiliary handle(s), if supplied with the tool. Loss of control can cause personal injury.
- Hold power tool by insulated gripping sur-faces, when performing an operation where the cutting accessory may contact hidden wir-ing or its own cord. Cutting accessory contacting a “live” wire may make exposed metal parts of the power tool “live” and could give the operator an electric shock.
- Wear a hard hat (safety helmet), safety glasses and/or face shield. Ordinary eye or sun glasses are NOT safety glasses. It is also highly recom-mended that you wear a dust mask and thickly padded gloves.
- Be sure the bit is secured in place before operation.
- Under normal operation, the tool is designed to produce vibration. The screws can come loose easily, causing a breakdown or accident. Check tightness of screws carefully before operation.
- In cold weather or when the tool has not been used for a long time, let the tool warm up for a while by operating it under no load. This will loosen up the lubrication. Without proper warm-up, hammering operation is difficult.
- Always be sure you have a firm footing.
Be sure no one is below when using the tool in high locations. - Hold the tool firmly with both hands.
- Keep hands away from moving parts.
- Do not leave the tool running. Operate the tool only when hand-held.
- Do not point the tool at any one in the area when operating. The bit could fly out and injure someone seriously.
- Do not touch the bit or parts close to the bit immediately after operation; they may be extremely hot and could burn your skin.
- Some material contains chemicals which may be toxic. Take caution to prevent dust inhalation and skin contact. Follow material supplier safety data.
SAVE THESE INSTRUCTIONS.
WARNING: DO NOT let comfort or familiarity with product (gained from repeated use) replace strict adherence to safety rules for the subject product. MISUSE or failure to follow the safety rules stated in this instruction manual may cause serious personal injury.
FUNCTIONAL DESCRIPTION
CAUTION:
Always be sure that the tool is switched off and unplugged before adjusting or checking function on the tool.
Switch action
Fig.1: 1. Switch trigger 2. Lock button
CAUTION:
Before plugging in the tool, always check to see that the switch trigger actuates properly and returns to the “OFF” position when released.
To start the tool, simply pull the switch trigger. Tool speed is increased by increasing pressure on the switch trigger. Release the switch trigger to stop. For continuous operation, pull the switch trigger, push in the lock button and then release the switch trigger. To stop the tool from the locked position, pull the switch trigger fully, then release it.
Lighting up the lamps
For Models HR2611F, HR2611FT
Fig.2: 1. Lamp
CAUTION:
Do not look in the light or see the source of light directly.
To turn on the lamp, pull the trigger. Release the trigger to turn it off.
NOTE:
- Use a dry cloth to wipe the dirt off the lens of lamp. Be careful not to scratch the lens of lamp, or it may lower the illumination.
- Do not use thinner or gasoline to clean the lamp. Such solvents may damage it.
Reversing switch action
Fig.3: 1. Reversing switch lever
CAUTION:
- Always check the direction of rotation before operation.
- Use the reversing switch only after the tool comes to a complete stop. Changing the direction of rotation before the tool stops may damage the tool.
- If the switch trigger can not be depressed, check to see that the reversing switch is fully set to position left (A side) or right (B side).
This tool has a reversing switch to change the direction of rotation. Move the reversing switch lever
to the position left (A side) for clockwise rotation or the position right (B side) for counterclockwise rotation.
Changing the quick change chuck for SDS-plus
For Models HR2310T, HR2610T, HR2611FT
The quick change chuck for SDS-plus can be easily exchanged for the quick change drill chuck.
Removing the quick change chuck for SDS-plus
Fig.4: 1. Quick change chuck for SDS-plus 2. Change cover line 3. Change cover
CAUTION:
Before removing the quick change chuck for SDS-plus, always remove the bit.
Grasp the change cover of the quick change chuck for SDS-plus and turn in the direction of the arrow until the change cover line moves from the
symbol to the
symbol. Pull forcefully in the direction of the arrow.
Attaching the quick change drill chuck
Fig.5: 1. Spindle 2. Quick change drill chuck 3. Change cover line 4. Change cover
Check the line of the quick change drill chuck shows the
symbol. Grasp the change cover of the quick change drill chuck and set the line to the
symbol. Place the quick change drill chuck on the spindle of the tool.
Grasp the change cover of the quick change drill chuck and turn the change cover line to the
symbol until a click can clearly be heard.
Selecting the action mode
For Models HR2300, HR2600, HR2601
Fig.6: 1. Rotation with hammering 2. Rotation only 3. Action mode changing knob
This tool employs an action mode changing knob. Select one of the two modes suitable for your work needs by using this knob.
For rotation only, turn the knob so that the arrow on the knob points toward the
symbol on the tool body. For rotation with hammering, turn the knob so that the arrow on the knob points toward the
symbol on the tool body.
CAUTION:
- Always set the knob fully to your desired mode symbol. If you operate the tool with the knob positioned halfway between the mode symbols, the tool may be damaged.
- Use the knob after the tool comes to a complete stop.
For Models HR2310T, HR2610, HR2610T, HR2611F, HR2611FT
Rotation with hammering
Fig.7: 1. Rotation with hammering 2. Action mode changing knob
For drilling in concrete, masonry, etc., rotate the action mode changing knob to the
symbol. Use a tung-sten-carbide tipped bit.
Rotation only
Fig.8: 1. Rotation only
For drilling in wood, metal or plastic materials, rotate the action mode changing knob to the
symbol. Use a twist drill bit or wood bit.
Hammering only
Fig.9: 1. Hammering only
For chipping, scaling or demolition operations, rotate the action mode changing knob to the
symbol. Use a bull point, cold chisel, scaling chisel, etc.
CAUTION:
- Do not rotate the action mode changing knob when the tool is running under load. The tool will be damaged.
- To avoid rapid wear on the mode change mechanism, be sure that the action mode changing knob is always positively located in one of the three action mode positions.
- Do not force the action mode change knob or do not move it from
symbol mode to
symbol mode (or vise versa) at once. It may damage the tool. When turning the knob from
symbol mode to
symbol mode (or vise versa), stop it at
symbol mode once. And rotate the chuck clockwise (looking from the chuck side) half turn or until it clicks. Then turn the knob to
the desired mode. If it is still difficult to turn the
knob, rotate the chuck again.
Torque limiter
The torque limiter will actuate when a certain torque level is reached. The motor will disengage from the out-put shaft. When this happens, the bit will stop turning.
CAUTION:
- As soon as the torque limiter actuates, switch off the tool immediately. This will help prevent premature wear of the tool.
- Bits such as hole saw, which tend to pinch or catch easily in the hole, are not appropriate for this tool. This is because they will cause the torque limiter to actuate too frequently.
ASSEMBLY
CAUTION:
Always be sure that the tool is switched off and unplugged before carrying out any work on the tool.
Side grip (auxiliary handle)

Fig.10: 1. Protrusions 2. Grooves
CAUTION:
Always use the side grip to ensure operating safety.
Install the side grip so that the protrusions on the grip fit in between the grooves on the tool barrel. Then tighten the grip by turning clockwise at the desired position. It may be swung 360° so as to be secured at any position.
Bit grease
Coat the bit shank head beforehand with a small amount of bit grease (about 0.5 – 1 g).
This chuck lubrication assures smooth action and lon-ger service life.
Installing or removing the bit
Fig.11: 1. Bit shank 2. Bit grease
Clean the bit shank and apply bit grease before install-ing the bit.
Fig.12: 1. Bit
Insert the bit into the tool. Turn the bit and push it in until it engages.
After installing, always make sure that the bit is securely held in place by trying to pull it out.
To remove the bit, pull the chuck cover down all the way and pull the bit out.
Fig.13: 1. Bit 2. Chuck cover
Bit angle (when chipping, scaling or demolishing)
For Models HR2310T, HR2610, HR2610T, HR2611F, HR2611FT
Fig.14: 1. Action mode changing knob
The bit can be secured at the desired angle. To change the bit angle, rotate the action mode changing knob to the O symbol. Turn the bit to the desired angle.
Rotate the action mode changing knob to the
symbol.
Then make sure that the bit is securely held in place by turning it slightly.
Fig.15
Depth gauge
The depth gauge is convenient for drilling holes of uniform depth.
Fig.16: 1. Grip base 2. Lock button 3. Depth gauge
Press the lock button on the grip base in the direction of arrow shown in the figure and with the lock button being pressed
insert the depth gauge into the hex. hole in the grip base
Fig.17: 1. Toothed side of hex hole marking on the grip base 2. Toothed side of the depth gauge
At this time, the depth gauge needs to be inserted so that its toothed side is directed to the toothed side of hex hole marking on the grip base as shown in the figure.
Fig.18: 1. Lock button
Adjust the depth gauge to the desired depth by movin it back and forth while pressing the lock button. After the adjustment, release the lock button to lock the depth gauge.
Fig.19: 1. Toothed side of hex hole marking on the grip base 2. Toothed side of the depth gauge
NOTE
Inserting the depth gauge with its toothed side not directed to the toothed side of hex hole marking on the grip base as shown in the figure does not allow the depth gauge to be locked.
Dust cup
Fig.20: 1. Dust cup
Use the dust cup to prevent dust from falling over the tool and on yourself when performing overhead drilling operations. Attach the dust cup to the bit as shown in the figure. The size of bits which the dust cup can be attached to is as follows.
| Bit diameter | |
| Dust cup 5 | 6 mm – 14.5 mm |
| Dust cup 9 | 12 mm – 16 mm |
There is another type of dust cup (accessory) which helps you prevent dust from falling over the tool and on yourself when performing overhead drilling operations.
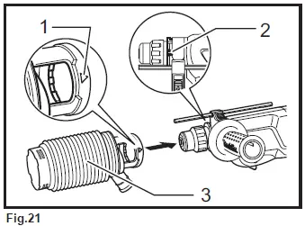
Installing or removing the dust cup
Fig.21: 1. up button symbol 2. Grooves 3. Dust cup
Before installing the dust cup, remove the bit from the tool if installed on the tool. Install the dust cup (accessory) on the tool so that the up button symbol on the dust cup is aligned with the grooves in the tool.
Fig.22: 1. Bit 2. Chuck cover
To remove the dust cup, pull the chuck cover in the direction as shown in the figure and with the chuck cover pulled take the bit out of the tool.
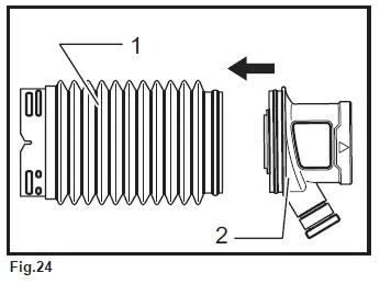
Fig.23: 1. Attachment at the foot of dust cup
And then grab the attachment at the foot of dust cup and take it out.
Fig.24: 1. Bellows 2. Attachment
Fig.25: 1. Inside periphery 2. Carved side 3. Attachment 4. Cap 5. Groove
Fig.26: 1. Cap 2. Attachment
NOTE:
When installing or removing the dust cup, the cap may come off the dust cup. At that time, proceed as follows. Remove the bellows from the attachment and fit the cap from the side shown in the figure with its carved side facing upward so that the groove in the cap fits in the inside periphery of the attachment. Finally, mount the bellows that has been removed.
Fig.27
NOTE:
If you connect a vacuum cleaner to your hammer, cleaner operations can be performed. Dust cap needs to be removed from the dust cup before the connection.
OPERATION
Always use the side grip (auxiliary handle) and firmly hold the tool by both side grip and switch handle during operations.
Hammer drilling operation
Fig.28
Set the action mode changing knob to th
symbol. Position the bit at the desired location for the hole, then pull the switch trigger. Do not force the tool. Light pres-sure gives best results. Keep the tool in position and prevent it from slipping away from the hole.
Do not apply more pressure when the hole becomes clogged with chips or particles. Instead, run the tool at an idle, then remove the bit partially from the hole. By repeating this several times, the hole will be cleaned out and normal drilling may be resumed.
Set the action mode changing knob to the
symbol.
CAUTION:
There is a tremendous and sudden twisting force exerted on the tool/bit at the time of hole break-through, when the hole becomes clogged with chips and particles, or when striking rein-forcing rods embedded in the concrete. Always use the side grip (auxiliary handle) and firmly hold the tool by both side grip and switch handle during operations. Failure to do so may result in the loss of control of the tool and potentially severe injury.
NOTE: Eccentricity in the bit rotation may occur while operating the tool with no load. The tool automatically centers itself during operation. This does not affect the drilling precision.
Blow-out bulb (optional accessory)
Fig.29: 1. Blow-out bulb
After drilling the hole, use the blow-out bulb to clean the dust out of the hole.
Chipping/Scaling/Demolition
For Models HR2310T, HR2610, HR2610T, HR2611F, HR2611FT
Fig.30
Set the action mode changing knob to the
symbol.
Hold the tool firmly with both hands. Turn the tool on and apply slight pressure on the tool so that the tool will not bounce around, uncontrolled. Pressing very hard on the tool will not increase the efficiency.
Drilling in wood or metal
For Models HR2300, HR2600, HR2601, HR2610, HR2611F
Fig.31: 1. Chuck adapter 2. Keyless drill chuck
Use the optional drill chuck assembly. When installing it, refer to “Installing or removing the bit” described on the previous page.
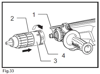
For Models HR2310T, HR2610T HR2611FT
Fig.32: 1. Quick change chuck for SDS-plus 2. Change cover line 3. Change cover
Fig.33: 1. Spindle 2. Quick change drill chuc 3. Change cover line 4. Change cover
Use the quick change drill chuck as standard equipment. When installing it, refer to “changing the quick change chuck for SDS-plus ” described on the previous page.
Fig.34: 1. Sleeve 2. Ring 3. Quick change drill chuck
Hold the ring and turn the sleeve counterclockwise to open the chuck jaws. Place the bit in the chuck as far as it will go. Hold the ring firmly and turn the sleeve clock-
wise to tighten the chuck. To remove the bit, hold the ring and turn the sleeve counterclockwise.
Set the action mode changing knob to the
symbol. You can drill up to 13 mm diameter in metal and up to 32 mm diameter in wood.
CAUTION:
- Never use “rotation with hammering” when the quick change drill chuck is installed on the tool. The quick change drill chuck may be damaged. Also, the drill chuck will come off when reversing the tool.
- Pressing excessively on the tool will not speed up the drilling. In fact, this excessive pressure will only serve to damage the tip of your bit, decrease the tool performance and shorten the service life of the tool.
- There is a tremendous twisting force exerted on the tool/bit at the time of hole breakthrough. Hold the tool firmly and exert care when the bit begins to break through the workpiece.
- A stuck bit can be removed simply by setting the reversing switch to reverse rotation in order to back out. However, the tool may back out abruptly if you do not hold it firmly
- Always secure small workpieces in a vise or similar hold-down device.
Diamond core drilling
When performing diamond core drilling operations, always set the change lever to the
position to use “rotation only” action.
CAUTION:
If performing diamond core drilling operations using “rotation with hammering” action, the diamond core bit may be damaged.
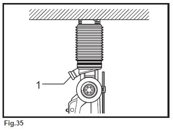
Operation when using the dust cup (accessory)
Fig.35: 1. Dust cap
Operate the tool with the dust cup against the ceiling surface.
NOTE:
- The dust cup (accessory) is intended only for drilling in the ceramic workpiece such as concrete and mortar. Do not use the tool with the dust cup when drilling in metal or similar. Using the dust cup for drilling in the metal may damage the dust cup due to the heat produced by small metal dust or similar.
- Empty the dust cup before removing a drill bit.
- When using the dust cup, make sure that the dust cap is mounted on it securely.
MAINTENANCE
CAUTION:
- Always be sure that the tool is switched off and unplugged before attempting to perform inspection or maintenance.
- Never use gasoline, benzine, thinner, alcohol or the like. Discoloration, deformation or cracks may result.
To maintain product SAFETY and RELIABILITY, repairs, carbon brush inspection and replacement, any
other maintenance or adjustment should be performed
by Makita Authorized Service Centers, always using Makita replacement parts.
OPTIONAL ACCESSORIES
CAUTION:
These accessories or attachments are recommended for use with your Makita tool specified in this manual. The use of any other accessories or attachments might present a risk of injury to persons. Only use accessory or attachment for its stated purpose.
If you need any assistance for more details regarding these accessories, ask your local Makita Service Center.
- SDS-Plus Carbide-tipped bits
- Core bit
- Bull point
- Diamond core bit
- Cold chisel
- Scaling chisel
- Grooving chisel
- Drill chuck assembly
- Drill chuck S13
- Chuck adapter
- Chuck key S13
- Bit grease
- Side grip
- Depth gauge
- Blow-out bulb
- Dust cup
- Dust extractor attachment
- Safety goggles
- Plastic carrying case
- Keyless drill chuck
NOTE:
Some items in the list may be included in the tool package as standard accessories. They may differ from country to country.
Makita Europe N.V. Jan-Baptist Vinkstraat 2, 3070 Kortenberg, Belgium
Makita Corporation 3-11-8, Sumiyoshi-cho, Anjo, Aichi 446-8502 Japan
884939E976
EN, UK, PL, RO,
DE, HU, SK, CS
2016072
www.makita.com




















