905250 G21NED 
FREEZER
INSTRUCTION MANUAL
*905.250
VRIESKAST 196 LITER
SAFETY INSTRUCTIONS
CAREFULLY READ THE INSTRUCTION MANUAL! If instructions are not followed, there is a risk of injury, damage of the appliance and loss of the right to free warranty service. We recommend keeping the Instruction manual the whole time you have the appliance. When you sell the appliance pass the Instruction manual to the new owner of the appliance.
WARNING!
- Do not cover the ventilation holes at the top and on the sides of the appliance.
- Do not use any mechanical means or electrical devices to hasten the thawing process when cleaning the freezer compartment.
- Do not use electrical appliances inside the food storage compartments of the appliance, unless they are of the type recommended by the manufacturer.
- If the supply cord is damaged it must be replaced by the manufacturer, manufacturer service agent or a similarly qualified person, in order to avoid a hazard.
- Disposal of the appliance should be according to national rules.
- Do not damage the appliance refrigeration system. It contains the refrigerant gas R600a. If the refrigeration system is damaged:
Do not use any open flame.- Avoid sparks ― do not turn on any electrical devices or lighting fixtures.
- Immediately ventilate the room.
- Do not allow children to play with the appliance or to plug it in or unplug it from the electricity supply socket. Do not allow children to play with the packaging material from the appliance.
- This appliance can be used by children aged 8 years and above and persons with reduced physical, sensory or mental capabilities or lack of experience and knowledge if they have been given supervision or instruction concerning the use of the appliance in a safe way and understand the hazards involved.
- Cleaning and user maintenance shall not be made by children without supervision.
- The appliance should be used only for freezing and storing foodstuffs.
- This appliance is not designed for the storage of explosive substances such as aerosol cans with a flammable propellant.
- It is prohibited to store petrol and other flammable liquids near the appliance.
CONNECTION TO THE MAINS
- The appliance must be plugged into an earthed electricity supply socket. The earthed electrical socket by which the appliance is connected to the mains should be in an accessible place.
- IF THE APPLIANCE IS PRODUCED WITH THE SPECIAL SUPPLY CORD IT CAN BE EXCHANGED ONLY BY THE SAME SPECIAL SUPPLY CORD
PROVIDED BY THE MANUFACTURER. - TO AVOID HAZARDS, DAMAGED POWER SUPPLY CORDS SHOULD BE REPLACED ONLY BY THE MANUFACTURER, A MAINTENANCE
TECHNICIAN, OR A PERSON WITH AN EQUIVALENT QUALIFICATION. - DO NOT USE extension cords or connectors (adapters) or couplers.
- The frequency and power of the electricity supply in your house must conform to the general data parameters of the appliance as it is shown in the product label.
- When positioning the appliance be careful that the electrical cord isn’t squeezed in order to avoid its damage. Do not store heavy objects such as cooling devices, furniture or other domestic devices next the appliance in such a way that they could squeeze and damage the electrical cord. This can cause a short circuit and a fire.
- Make sure that the plug of the electrical cord is not squeezed by the back wall of the appliance or otherwise damaged. A damaged plug can be the cause of a fire!
- IF THE APPLIANCE IS UNPLUGGED (FOR CLEANING, MOVING TO ANOTHER PLACE, ETC.), IT MAY BE REPEATEDLY SWITCHED ON AFTER 15 MIN.
- It is forbidden to use a technically damaged appliance.
- Do not place any switched-on electrical devices (such as microwave ovens, hair dryers, irons, electric kettles or other electrical devices) on top of the appliance because this may cause ignition of plastic parts.
- Do not place any dishes with liquids on top of the appliance and do not keep flowers in vases or other liquid-filled vessels on the appliance.
- Do not climb on or sit on the appliance, do not lean on or hang on the appliance doors and do not allow children to do this.
IF THE APPLIANCE IS OUT OF ORDER AND IT IS NOT POSSIBLE TO REPAIR IT BY MEANS OF THE GIVEN RECOMMENDATIONS, UNPLUG IT, OPEN THE DOORS AND CALL THE SERVICE EXPERT. ONLY A SERVICE REPRESENTATIVE CAN REMEDY ALL TECHNICAL OR CONSTRUCTION FAULTS.
ENVIRONMENTAL PROTECTION INFORMATION
This symbol indicates that once the appliance is no longer needed, it cannot be disposed together with other miscellaneous municipal waste. It should be collected and eliminated separately, i.e. in containers specially marked with this symbol in large-dimension rubbish collection areas. Full information on where to submit the old appliance safety can be obtained from local government authorities, the shop where you bought the appliance or the manufacturer’s representatives.
- The appliance can’t be disposed of by burning!
If you decided to scrap the appliance, make it impossible to use in order to prevent possible misadventure. Pull out the electric plug from the electricity supply socket and
then cut off the cord. Tear off the gasket. Break the door lock if any.
WARNING! Do not dismantle the appliance yourself. Pass it on to recycling companies.
GENERAL INFORMATION
The appliance is a upright freezer. The freezer is intended for freezing and long-term storage of foodstuffs.
THE APPLIANCE IS ECOLOGICALLY CLEAN, CONTAINING NO MATERIALS
HARMFUL TO THE OZONE LAYER: the refrigerant used is R600a, the foaming agent used for the appliance insulation is cyclopentane C5H10.
THE MANUFACTURER GUARANTEES RELIABLE OPERATION OF THE FREEZER WHEN THE RELATIVE AIR HUMIDITY NOT GREATER THAN 70 PER CENT AND THE AMBIENT TEMPERATURE IS:
+16 TO +32 DEGREES CELSIUS (Climate class N);
+16 TO +38 DEGREES CELSIUS (Climate class ST);
+16 TO +43 DEGREES CELSIUS (Climate class T).
All device-specific data of the energy label have been determined by the manufacturer under laboratory conditions in accordance with pan-European standardized measuring methods. These are regulated by ISO EN 15502. The actual energy consumption depends on the usage and might therefore also be above the values determined by the manufacturer under standard conditions. An expert knows these relations and will execute the tests with special measurement instruments in accordance with the regulations in place.
MANUFACTURER DATA
The manufacturer reserves the right ti make future changes to technical parameters and specifications. Product is subject to changes and improvements.
DESCRIPTION OF THE APPLIANCE, BASIC PARTS (fig. 1, 2) 
| 1 Thermostat knob – temperature regulator 3 Electric supply indicator (green light) 4 Temperature rise indicator (red light) 5 Fast-freeze section | 6 Frozen products section(s) 7 Condenser 8 Compressor |
| Total gross volume, L | 215 | |
| 196 | ||
| Actual consumption will depend on how the appliance is used a nd where it is located | ||
| Energy efficiency class | A+ | A++ |
| Energy consumption: kWh / 24 h kWh / year | 0,643 235 | 0,530 193 |
| Climate class | N – ST | N – T |
| Noise level, dB(A) re 1pw | 41 | |
| Dimensions (HxWxD), cm | 145 x 60 x 62 | 145 x 60 x 65 |
| Freezing capacity, kg/24 h | 12 | |
| Freezer temperature rising time from storage temperature to -9 0C after power-cut, h | 20 | |
| Electrical Data | see in the product label | |

| 1 Thermostat knob – temperature regulator 3 Electric supply indicator (green light) 4 Temperature rise indicator (red light) 5 Fast-freeze section | 6 Frozen products section(s) 7 Condenser 8 Compressor |
| Total gross volume, L | 248 | |
| Freezer net volume, L | 227 | |
| Actual consumption will depend on how the appliance is used a nd where it is located | ||
| Energy efficiency class | A+ | A++ |
| Energy consumption: kWh / 24 h kWh / year | 0,717 262 | 0,565 206 |
| Climate class | N – T | N – T |
| Noise level, dB(A) re 1pw | 41 | |
| Dimensions (HxWxD), cm | 163 x 60 x 62 | 163 x 60 x 65 |
| Freezing capacity, kg/24 h | 12 | |
| Freezer temperature rising time from storage temperature to -9 0C after power-cut, h | 20 | |
| Electrical Data | see in the product label | |
REVIEW OF MECHANICAL CONTROL (fig. 1, 2)
CONTROL PANEL — DESCRIPTION OF SYMBOLS AND OPERATIONS
1. — THERMOSTAT KNOB. The temperature in the appliance is controlled using the thermostat knob by turning it to one side or the other. More in “Temperature regulation”.
3−−−− ELECTRICITY SUPPLY INDICATOR marked with the symbol![]()
When the appliance is connected to the electricity supply, the green indicator light is illuminated. Simultaneously also the temperature rise indicator lights up. It indicates that the freezer was switched off for a longer time, i.e. the freezer is switched on for the first time, after defrosting or after losing of voltage. When the temperature in the compartment again falls below -9 ºC, the temperature rise indicator light will go out.
4 −−−− THE TEMPERATURE RISE INDICATOR marked with the symbol![]()
When the temperature in the freezer rises above -9 ºC, the red indicator light is illuminated. It indicates that:
- The freezer was switched off for a longer time, i.e. the freezer is switched on for the first time, after defrosting or after losing of voltage.
- The door of the freezer is opened or is being opened too frequently.
- It is loaded a large number of unfrozen foodstuffs.
- The freezing system is failed, i.e. the indicator does not go out longer 6 hours and it is heard running compressor or the compressor does not switch off. In this case you
should apply to your service agent (at first make sure that three above items were taken into account).
PREPARING THE APPLIANCE FOR OPERATION
It is recommended to prepare the appliance for operation with a helper.
- Remove package. Lift the appliance away from foamed polystyrene base.
To not rise or push freezer taking by handles. Handles may break. - Tear away the adhesive tapes – they are intended only for the transport of the appliance.
Remove the separate polystyrene part (transport protection) between the rear of the device and condenser – metal grid (if available).
NOTE. When you open the freezer compartment door a little red packing detail will fall out – IT IS FOR TRANSPORTATION PURPOSES ONLY. - When positioning the appliance in the chosen location, it will move more easily into position if you lift the front a little and incline it backward, allowing it to roll on its casters.
- Suitably dispose of the packaging material.

- Take two supports 1 from the bag and insert them into the guide 2 at the top back part of the appliance.

- If the appliance is brought in from the cold (temperature is not higher than +12 °C), you should wait for two hours before connecting it to the mains.
- The appliance should not be connected to the mains until all packing and transport materials aren’t removed.
POSITIONING
- Place the appliance in a dry, well-ventilated room.
WARNING! The appliance should not be operated in an unheated room or porch. Place the appliance away from heat sources such as kitchen stove/oven, radiators, or direct sunlight.
WARNING! The appliance must not touch any pipes for heating, gas or water supply or any other electrical devices. - Do not cover the ventilation holes at the top of the appliances–it must be good air circulation around the appliance. There should be a gap of at least 10 cm between the top of the appliance body and any furniture that may be above it. If this requirement is not followed, the appliance consumes more electrical energy and its compressor may
overheat.

If the appliance is placed in a corner, a gap of at least 6 cm must be left between the appliance body and the wall so that the freezer door can be opened enough to pull out the frozen product drawer (see fig.).
- The appliance must stand on a level surface and must not touch the wall. If necessary, regulate the height of the appliance by adjusting the leveling feet: by turning them clockwise – the front of the appliance rises, by turning them counterclockwise – it comes down. If the appliance is tilted slightly backward – the doors will close by themselves.
TEMPERATURE REGULATION
The temperature set in the freezer by the manufacturer is -18 0 C
The temperature in the appliance is controlled using thermostat knob 1 (fig. 1, 2) by turning it to one side or the other. The temperature indication in digits is shown beside the thermostat knob. The temperature is regulated on a scale of seven digits.
0 = Compressor is switched off. WARNING! The electric current is not switched off.
1 = highest temperature (lowest cooling)
7 = lowest temperature (highest cooling)
Please set the desired temperature in the appliance according to your own requirements.
THE TEMPERATURE IN THE FREEZER MAY VARY DEPENDING ON AMBIENT TEMPERATURE, THE AMOUNT OF FOODSTUFFS, THE TEMPERATURE OF THE FOODSTUFFS, AND HOW OFTEN THE APPLIANCE DOOR IS OPENED AND CLOSED. IF THE ROOM IS COOL, THE APPLIANCE COOLS LESS. THE TEMPERATURE IN THE APPLIANCE MAY THEREFORE RISE. Use the thermostat wheel to set a lower temperature.
FREEZING OF FOODSTUFFS IN THE FREEZER COMPARTMENT
In the freezer the fast-freeze section is marked with the symbol![]()
Place the fresh foodstuffs to be frozen in one or two rows in the fast-freeze section. When the foodstuffs are frozen should be removed from the fast-freeze section and placed in the storage section drawer(s).
DO NOT EXCEED THE MAXIMUM QUANTITY OF FROZEN PRODUCTS INDICATED IN THE GENERAL DATA TABLE (see 5, 6 pages).
- Leave a gap of not less than 2,5 cm between the foodstuffs being frozen and the upper partition (see fig.)

- Do not place unwrapped foodstuffs in the freezer sections.
- Fresh food for freezing should not touch already frozen foodstuffs.

- Do not freeze foodstuffs that are warmer than room temperature.
- Do not freeze liquid foodstuffs in glass vessels or bottles. Do not freeze carbonated beverages.
- Strictly observe the frozen foodstuffs validity dates indicated by the manufacturer on their packaging.
- WE RECOMMEND THAT FROZEN FISH AND SAUSAGE SHOULD BE STORED IN THE FREEZER COMPARTMENT NOT LONGER THAN 6 MONTHS; CHEESE, POULTRY, PORK, LAMB – NOT MORE THAN 8 MONTHS; BEEF, FRUIT AND VEGETABLES – NOT LONGER THAN 12 MONTHS.
- The appliance door must not to be left open,
- the appliance door should not be open longer than it is necessary to take out or put in foodstuffs.
DEFROSTING THE FREEZER COMPARTMENT
The freezer compartment should be thawed not less than twice a year or when a layer of ice thicker than 5 mm forms in it. Do the actions below in the order they are listed:
WARNING! Turn the appliance off and pull the plug out of the electrical socket.
- Remove foodstuffs from the freezer compartment. The frozen foodstuffs will not warm up too much while you are thawing the freezer compartment if you cover them with a thick cloth and keep them in a cool place.

- Pull out the meltwater channel, turn it by 180° and hang it (Fig. 4). Place a vessel under the meltwater channel.
- Place a dish under the thaw water channel. Leave the door of the freezer compartment open.
- When the ice melts, clean and wipe dry the surfaces and fixtures of the freezer compartment.
- Remove the meltwater channel, turn it by 180° again, and put it back in its original place.
- Close the freezer compartment door.
- Plug in and turn on the appliance.
CLEANING AND CARE
REGULARLY CLEAN THE APPLIANCE.
Remember that before defrosting the freezer compartment and cleaning the back part of the appliance body you must disconnect the appliance from the electrical energy supply socket by pulling the plug out of the electrical outlet.
- Protect the appliance’s inner surfaces and plastic parts from fats, acids and sauces. In case of accidental spills – immediately clean with warm soapy water or dishwashing detergent. Wipe dry.
- Clean the appliance’s inner surfaces with warm soapy water. Dishwashing detergent may also be used. Wipe dry inner and outer surfaces.
- Regularly clean the hermetic gaskets of the doors. Wipe dry.
- At least once a year clean dust away from the back part of the appliance body and the compressor. A soft brush, electrostatic cloth or vacuum cleaner may be used for cleaning (see fig.).

- DO NOT use detergents containing abrasive particles, acid, alcohol or benzene for cleaning the appliance’s inner and outer surfaces.
- DO NOT use for cleaning cloths or sponges that have coarse surfaces intended for scrubbing.

PRACTICAL TIPS AND OBSERVATIONS
- Do not consume ice made in the freezer straight away.
- Products will freeze more quickly if they are divided up and packed in small portions.
- IF THE APPLIANCE IS TO BE LEFT SWITCHED OFF FOR AN EXTENDED PERIOD, LEAVE ITS DOORS OPEN.
Remarks on the appliance operating noise. As the appliance operates and goes through the freezing cycle, various noises will be emitted. This is normal and is not a sign of any malfunction.
- As the refrigerant circulates around the refrigeration system, it causes sounds like murmuring, bubbling or rustling.
- Louder sounds like popping or clicking may be heard for a short time as the freezer compressor switches on.
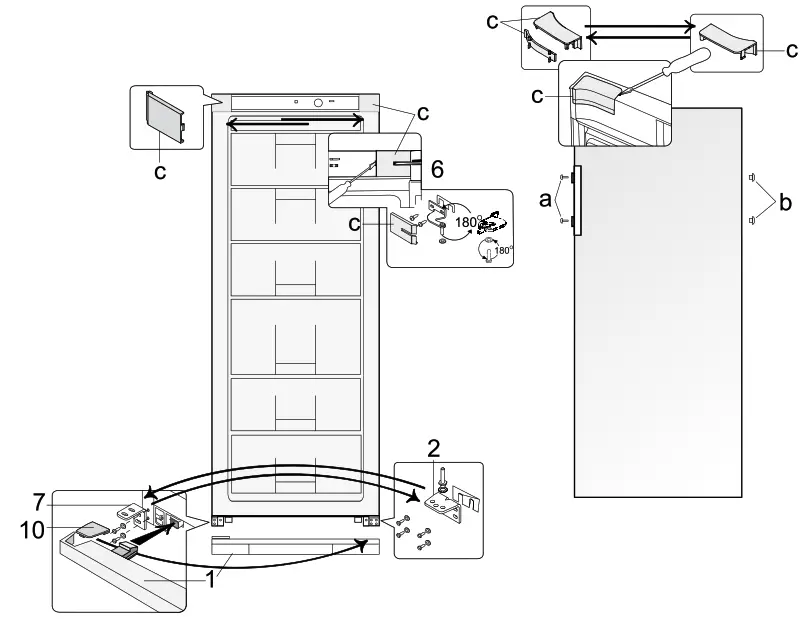
CHANGING THE OPENING DIRECTION OF THE DOORS
It is recommended that changing the opening direction of the doors should be done with a helper.
You will need two spanners No. 8 and No. 10 and a Philips head screwdriver.
! When changing the opening direction of the door YOU CAN NOT lay the freezer horizontally.
Do the actions below in the order they are listed:
WARNING! Turn off the appliance and pull the plug out of the electricity supply socket.
- Remove the covers c from the body of the refrigerator and of the inner side of the door. Also, remove the upper bracket 6 together with the nut and washers and the spacer under the bracket.
- Remove the door of the freezer compartment.
- Remove the bottom cover 1.
- Remove the bottom bracket 2 together with washers on the axle and the plastic spacer. Unscrew the axle together with washers from the bracket and screw them into the aperture on the opposite side of the bracket symmetrically to the former position.
- Remove the bottom bracket 7 and fix the bottom bracket 2 together with washers on the axle and the plastic spacer instead of it. Screw bracket 7 in place of bracket 2.
- Hang the freezer compartment door on the axle of bracket 7.
- Turn bracket 6 around by 180° together with the washers on the axle and the plastic spacer. Unscrew the axle and the washers and screw them on the other side of the bracket. Once bracket 6 is attached to the freezer compartment door, fix it in place on the other side of the freezer in the uppermost apertures.
- Use the covers c to cover the bracket and the remaining space.
- Remove the bolt covers a and the stoppers b. Remove the screws that hold the handles in place. Move the handles to the other side and screw them in place. Place the stoppers into the remaining apertures in the door, and put the screw caps in place.
- Remove cover 10 from the bottom cover 1 and insert it to the guides on the other side of the bottom cover (symmetrically to the former position). Insert left and right legs of the bottom cover 1 (see pic.) and push it until the cover fixing.
OPERATION PROBLEMS AND THEIR SOLUTIONS (TROUBLESHOOTING) What if …
- The appliance is plugged in to the mains but it does not work and the electricity supply voltage indicator is not illuminated. Check that your house’s electricity supply installations are in order. Check that the plug is correctly inserted into the electricity supply socket.
- The noise has become louder. Check that the appliance is standing stable on a level place. To make it level, regulate the front feet. Check if the appliance is not touching any furniture and that no part of the refrigeration system at the back part of the appliance body is touching the wall. Pull the appliance away from any furniture or walls. Check that the cause of increased noise isn’t due to bottles, cans or dishes in the appliance that might be touching each other.
- When the appliance door is opened, the rubber sealing gasket pulls out. The gasket is smeared with sticky foodstuffs (fat, syrup). Clean the sealing gasket and the groove for it with warm water containing soap or dishwashing detergent and wipe dry. Put the rubber sealing gasket back into the place.
- The temperature rise indicator light is illuminated red. This means the appliance is being connected to the electricity supply for the first time or it was disconnected for a significant period (for thawing or during an interruption to the electricity supply), the freezer door is not closed or is being frequently opened and closed, or a large amount of fresh food has been put in, and therefore the temperature in the compartment has risen above -9 ºC. When the temperature in the compartment again falls below -9 ºC, the indicator light will go out.
ATTENTION! If the temperature indicator light does not go out (for reasons other than those listed above) for longer than six hours, the compressor is either working
constantly or is not functioning. You need to consult service people. - High temperature in the appliance, the compressor operation pauses are short. Ascertain whether the appliance door are shutting tightly, whether the door wasn’t kept open longer than necessary when taking out or putting in foodstuffs or whether a large amount of warm food was placed in the appliance.
- The top of the appliance has condensation on it. The ambient relative air humidity is above 70 %. Ventilate the room where the appliance stands and if possible remove the cause of the humidity.
TRANSPORT
THE MANUFACTURER WILL NOT BE RESPONSIBLE FOR ANY DAMAGE OF THE APPLIANCE THAT RESULTS FROM NON-COMPLIANCE WITH THE INSTRUCTIONS FOR TRANSPORTATION.
- The appliance should be transported in a vertical position.
- When being transported, the appliance should be protected from atmospheric conditions (rain, snow, dampness).
- The appliance should be firmly secured in place while being transported, to avoid slippage or any shocks in the transport vehicle.
If the appliance was transported not vertically, it may be connected to the mains after 4 hours at least. If this is not done, the appliance compressor may fail.
WARRANTY SERVICE
IF YOUR APPLIANCE IS NOT WORKING PROPERLY, ASCERTAIN WHETHER YOU CAN REMEDY THE CAUSE OF THE FAULTY FUNCTIONING OF THE APPLIANCE YOURSELF. If you cannot solve the problem yourself, contact the nearest refrigerator service representative by telephone or in writing. When making contact necessarily indicate the refrigerator model 1 and number 2. You will find this data on the product label, which is glued to the wall of the freezer compartment. 





















