O2VT1 2MP Outdoor Network Turret Camera
User Guide

Warning and Caution
- If the product does not work properly, please contact your dealer or the nearest service center. Never attempt to disassemble the camera yourself. Any unauthorized changes or modifications could void the warranty.
- Do not allow water or liquid intrusion into the camera.
- All installation and operation here should conform to local electrical safety codes. Make sure the device is firmly installed on the wall or ceiling.
- Do not use a camera beyond the specified voltage range.
- Do not drop the camera or subject it to physical shock.
- Avoid touching the camera lens.
- If cleaning is necessary, please use a cleaning cloth to wipe it gently.
- Do not aim the camera at the sun or extremely bright light sources.
- Do not place the camera in extremely hot or cold environments and dusty and damp locations. Do not expose it to high electromagnetic radiation.
- Do not block any ventilation.
Package

Overview

| 1. Ethernet connector 2. Power connector 3. Mounting base 4. Fixed screw | 5. Microphone 6. Micro SD card slot 7.Reset |

* 1 It is recommended to install the security cap for outdoor installations.
* 2 DC 12V power supply is not required if a PoE switch or injector is used to power the camera.
Connecting Network Cable

- Loosen the nut from the main element.
- Run the network cable (without RJ 45 connector) through both elements. Then crimp the cable with RJ 45 connector.
- Connect the cable to the hermetic connector. Then tighten the nut and the main cover.
Installation
* Before you start, please make sure that the wall or ceiling is strong enough to withstand three times the weight of the camera and the junction box.
- Open the mounting base and the upper cover of the junction box.

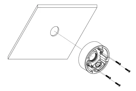
- Install the junction box onto the wall by using the screws provided.

- Loosen the fixed screw to disassemble the camera. Then remove the cover from the dome to insert the SD card. After that, install the cover back to the dome and fix it firmly with the screws. (Note that the cover should not be installed unevenly .)

- Fasten the camera onto the junction box.

- Route the cables through the cable hole and connect the cables.
Then reinstall the upper cover onto the junction box.
- Adjust the camera to obtain an optimum angle. Before adjustment, preview the image of the camera on a monitor. After that, tighten the fixed screw to finish the installation.

Web Operation and Login
IP Scanner can search for the device on the local network.
● Operation
- Make sure that the camera and the PC are connected to the same local network. The camera is set to DHCP by default.
- Install IP Scanner from the CD and run it after installation.

- In the device list, you can view the IP address, model number, and MAC address of each device. Select the applicable device and double-click to open up the web viewer. You can also manually enter the IP address in the address bar of the web browser.

The login interface is shown above. The default user name is admin and the password is 1234. After logging in, follow the directions to install applicable plugins.



















