NEW BRIGHT 942U Forza Corvette Battery Radio Control Sports Car

Component Checklist
- (1) R/C Vehicle With use Cord
- (1) Transmitter
- (2) “AA” Batteries
Vehicle
Features and Functions

* If vehicle pulls to the left or right during forward driving the Wheel Alignment may need to be adjusted. The Wheel Alignment Dial is located on bottom of chassis between the front wheels.
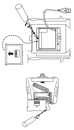
Charging the Battery
This vehicle is equipped with an internal Lithium-Ion battery that is recharged via USB. ON/OFF Switch must be in the OFF position prior to charging.

- Locate the ON/OFF switch and USB cord on the under-side of the vehicle.
- Turn the ON/OFF switch to the “OFF” position.
- Open Storage Compartment cover.
- Remove USB cable from the Storage Compartment. (Use care when extending cord as it is attached to inside internal battery). Cord can be plugged into any computer or USB outlet brick (not included).

- While charging, the LED under the vehicle will be on. Once fully charged the LED will turn off. Charging is completed in approximately 1 hour. Return cord and secure storage lid before operating the vehicle.
Transmitter
Battery Installation


Note:
- When replacing Transmitter batteries:
- Use alkaline batteries only.
- Do not mix old and new batteries.
- Do not mix alkaline, standard or rechargeable batteries.
Features and Functions

- This transmitter is equipped with 2.4GHz technology which allows up to 6 vehicles to be raced at the same time.
- The transmitter will automatically sync with the vehicle.
USA&Canada 30-Day Limited Warranty
- New Bright Industries warrants to the original purchaser that this product will be free of defects in materials and workmanship for thirty (30) days from the date of purchase. In the event of such defect within the warranty period, New Bright will repair or replace the product at our sole discretion. This warranty does not cover damage resulting from unauthorized modifications, accident, misuse or abuse.
- Should your item have a defect covered under this warranty, first call the toll free number listed below. Most problems can be resolved in this manner. If necessary, you will be issued a Return Authorization number (RA) and instructions on how to obtain a Product Return Form. The Product Return Form is to be used when returning a product to us (postage pre-paid and insured by the consumer).
- When returning a defective product, please package the product, the Product Return Form and a copy of the dated sales receipt as proof of purchase. Be sure to mark the RA number on the Product Return Form. If the product is returned without a dated sales receipt, it will be excluded from coverage under this warranty. Please allow 4 to 6 weeks for delivery of repaired or replacement vehicles (depending on your location).
- New Bright Industries’ liability for defects in materials and workmanship under this warranty shall be limited to repair or replacement at our sole discretion. In no event shall we be responsible for incidental, consequential or contingent damages (except in those states that do not allow this exclusion or limitation).
- Valid only in the USA & Canada.
- Contact New Bright Industries Customer Service Toll Free at:
- 1-877-NBI-TOYS
- (1-877-624-8697)
- Monday through Friday, 8:00 AM to 5:00 PM Eastern Time
- U.S. Toy Sales and Marketing Co. Inc.
30260 Oak Creek Drive – 2nd Floor - Wixom Ml 48393
- 1-877-624-8697
- http://www.newbright.com/
Proper Use
Precautions and Care

Support
Trouble Shooting & Support
- Problem • Vehicle does not move or moves slowly.
- Make certain there are fresh alkaline batteries in the transmitter and that they have been installed in the correct position.
- Are the (+) and (-) markings on the alkaline batteries in the same position as the (+) and (-) markings in the Transmitter Battery Compartment?
- Are the metal contact tabs touching, rusty or dirty in the transmitter?
- Has the vehicle been fully charged?
- Make certain that the vehicle ON/OFF switch is in the “ON” position.
- Problem • Vehicle moves by itself or exhibits reduced range from the transmitter.
- Make certain there are no outside radio interference in your area. The best way to test this is to take the vehicle as far away from radio towers, electrical lines or tall buildings as possible to ensure no further radio interference will occur.
- Always remove Batteries from transmitter when not in use.
- Do not dispose batteries in fire. Leakage, explosion and personal injury may occur.
- Do not attempt jumps or tricks with this vehicle.
- Do not attempt to remove internal battery.
- Do not use included USB cord for anything other than its intended purpose.
- Always keep USB cord stored when not in use.
- Adult supervision recommended.
FCC CAUTION:
Changes or modifications not expressly approved by the party responsible for compliance could void the user’s authority to operate the equipment. This device complies with Part 15 of the FCC Rules. Operation is subject to the following two conditions:
- this device may not cause harmful interference,
- this device must accept any interference received, including interference that may cause undesired operation.
NOTE: This equipment has been tested and found to comply with the limits for a Class B digital device, pursuant to Part 15 of the FCC Rules. These limits are designed to provide reasonable protection against harmful interference in a residential installation. This equipment generates, uses and can radiate radio frequency energy and, if not installed and used in accordance with the instructions, may cause harmful interference to radio communications. However, there is no guarantee that interference will not occur in a particular installation. If this equipment does cause harmful interference to radio or television reception, which can be determined by turning the equipment off and on, the user is encouraged to try to correct the interference by one or more of the following measures:
- Reorient or relocate the receiving antenna.
- Increase the separation between the equipment and receiver.
- Connect the equipment into an outlet on a circuit different from that to which the receiver is connected.
- Consult the dealer or an experienced radio/TV technician for help.




















