VXT3000AB
INSTALLATION GUIDE

BEFORE BEGINNING YOUR INSTALLATION
Read through the instruction guide before getting started with the installation. Professional installation is recommended for this product.
CONTENTS
- 3 Gallon Aluminum Air Tank (Black)
- Mounting Hardware
Over pressuring the tank beyond the specified maximum working pressure (200 PSI) may result in death or serious injury.
SAFETY INSTRUCTIONS
- Install all fittings and accessories in the tank before pressurizing the tank.
- Before assembly, use thread sealant on all fitting’s threads, then use a wrench to tighten each part.
IMPORTANT: Do not over tighten. - Tank must be drain frequently.
- We recommend always to install a drain and safety valves in the tank.
- Always depressurize the tank before servicing or adding accessories.
- Do not use this tank as a breathing device.
- Be sure to pump nothing other than atmospheric air.
- It is important to determine the maximum air pressure for any tool or attachment before using it.
- Make sure your battery ground is detached before you begin the installation.
- Employ equipment for eye protection during drilling operations.
PLANNING YOUR INSTALLATION
- Before beginning the installation, determine each component’s spot.
- Confirm you have the proper length of airline and wire.
MOUNTING
- Find a convenient mounting location in your vehicle for the air tank. Ensure ports are reachable before drilling any holes.
- Mark the location of holes using the mounting bracket of the air tank as a template, and then drill to size.
- Using mounting hardware, secure the air tank.
IMPORTANT: Do not mount on a flexible material.
BRAIDED HOSE INSTALLATION
- Connect the stainless steel braided hose of your compressor to the tank’s inlet port.

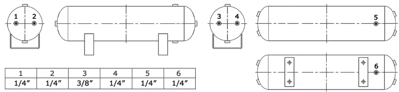
PORT LOCATIONS AND THREAD SIZE (NPT)

MAINTENANCE
- Make sure that electrical and fitting connections are regularly inspected, cleaned and tightened when needed.
- Make sure mounting screws are regularly tightened if needed.
- Drain weekly, to avoid excessive buildup of condensation.
SOLUTIONS TO COMMON ISSUES
Issue: Loss of pressure of tank.
Solution 1: Tighten drain cock.
Solution 2: Examine air and check valves and replace if damaged or leaking.
Solution 3: Use soap and water solution on air connections and tank, and tighten connections or repair leaks where needed.
Issue: Air horn is inaudible
Solution 1: Check all switches to make sure they are ON.
Solution 2: Assure air tank is pressurized.
Solution 3: Check the fuse; if blown, disconnect compressor from power and replace the fuse.
Solution 4: Examine electrical connection for damage or corrosion, secure electrical connections.
Issue: Excessive moisture in horn or safety valve (if installed).
Solution 1: Depressurize and drain the tank.
Solution 2: Relocate the compressor to a drier location.



















