KEENSTAR 24382.2 Flat Roof Balcony Power Plant, 800W 2 Solar Modules Instruction Manual
INTRODUCTION
Thanks for choosing high quality modules from Changzhou E Going Photovoltaic Technology Co., Ltd(Hereinafter referred to as “EGing”)This Installation Manual contains essential information for the electrical and mechanical installation that you must know before installing EGING PV modules.
This also contains safety information you need to be familiar with.
All the information described in this manual are the intellectual property of EGING and based on the technologies and experiences that have been acquired and accumulated in the history of EGING.
This document does not constitute a warranty, expressed or implied.
EGING does not assume responsibility and expressly disclaims liability for loss, damage, or expense arising out of or in anyway connected with installation, operation, use or maintenance of the PV modules.
No responsibility is assumed by EGING for any infringement of patents or other rights of third parties that may result from use of PV module.
EGING reserves the right to make changes to the product, specifications or installation manual without prior notice.
RULES AND REGULATIONS
The mechanical and electrical installation of the module should obey local regulations, including electrical law, construction law and electricity connection requirements.
These regulations are different in different installation site, such as the installation on the building roof, different installation environment of the power station.
Requirements may also differ with the system voltage, the use of AC or DC.
For the specific terms, please contact local authority.
Before installing the PV module, contact appropriate authorities to determine permit, installation and inspection requirements that should be followed.
Don’t throw away the Modules Waste.
Please contact local related departments or authorities.
GENERAL INFORMATION
COMPONENTS OF MOUDLE
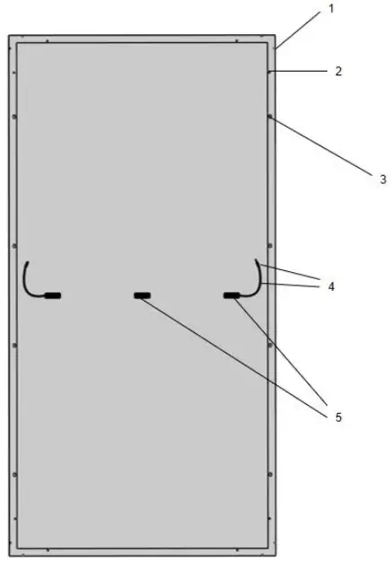
The structure of module is shown in the figure below.
Each module is pasted with three kinds of labels to provide the following information:
Nameplate: product type, rated power, rated current, rated voltage, open circuit voltage, short circuit current under testing conditions, certification indicator, maximum system voltage, etc.
Current classification label: Rated working current.
Serial Number label: A unique serial number which is laminated inside the module permanently which can be found in the front of the module.
Regular modules
Bifacial Modules
Figure 1 Regular Modules Mechanical Drawing
| 1 | Drain Hole | 7 | Glass |
| 2 | Grounding Hole | 8 | EVA |
| 3 | Mounting Hole | 9 | Solar Cell |
| 4 | Connector/Cable | 10 | Back sheet |
| 5 | Junction Box | 11 | EVA/POE |
| 6 | Frame |
GENERAL SAFETY
EGING PV modules are designed in accordance with the international standard IEC61215 and IEC61730.
The solar modules have been qualified for application class A(equivalent to safety class requirements) .
Installing PV modules and ground frames should be in accordance with applicable rules and regulation’s
Only installer/service personnel should have access to the PV module installation site.
In order to avoid a risk of injury or electrical shock, do not allow anyone to approach the PV module if the person has little knowledge on PV module or on the measures that should be taken when PV modules are damaged.
In the case that the PV modules are non-integral type, the module is to be mounted over a fire resistant roof.
Follow all safety precautions of other components used in the system.
Do not clean the glass surface with chemicals.
Do not let water stay on the glass surface of PV modules for a long time.
This creates a risk of white efflorescence (glass disease) which may result in the deterioration of energy generation.
Do not install the PV module horizontally.
It may cause dirt or white efflorescence(glass disease) due to water.
Do not cover the water drain holes of the frame.
There is a risk of frost damage when the frame is filled with water.
When sliding snow load has to be considered, an appropriate measure has to be taken so that PV module frames on lower edge of PV modules will not be damaged.
ELECTRICAL SAFETY
The installation of PV modules requires a great degree of skill and should only be performed by a qualified licensed professional, including licensed contractors and licensed electricians.
licensed professional, including licensed contractors and licensed electricians
Please read this manual carefully before installing or using the modules.
Please beware that there is a serious risk of various types of injury occurring during the installation including the risk of electric shock.
All EGINGPV modules are equipped with a permanently attached junction terminal box that will accept variety of wiring applications or with a special cable assembly for ease of installation, and they do not require special assembly.
Contact with electrically active parts of a PV module such as terminals can result in burns, sparks and lethal shock whether the PV modules is connected or not
PV modules produce electricity when the sunlight or other sources illuminate the module surface.
When the modules are connected in series, voltage is cumulative.
When the modules are connected in parallel, current is cumulative.
As a result, a large-scale PV system can produce high voltage and current which could present an increased hazard and may cause serious injury or death
Do not connect the PV modules directly to the loads since the variation of the output power depending on the solar irradiation causes damage for the connected load.
A defective PV module may generate power even if it is removed from the system.
It may be dangerous to handle the PV module while exposed to sunlight.
Place a defective PV module in a carton after PV cells are completely shaded.
Do not expose PV module to sunlight concentrated with mirrors, lenses or similar means.
Do not shade portions of the PV module surface from the sunlight for a long time.
The shaded cell may become hot (hot spot phenomenon) which results in solder joints peeling off.
In case of series connection, the maximum open circuit voltage must not be greater than the specified maximum system voltage.
The voltage is proportional to the number of series.
In case of parallel connection, please be sure to take proper measure (e.g. fuse for protection of module and cable from over current, and/or blocking diode for prevention of unbalanced strings voltage) to block the reverse current flow.
The current may easily flow in a reverse direction.
INSTALLATION SAFETY
During transportation or storage, unless you reach the installation site, otherwise, do not open the package of the modules.
Please protect the modules’ package.
When loading or unloading the modules, please handle with care.
Do not drop the packed pallet of modules down directly.
Before open the modules’ package, store the modules in ventilated and dry place
When opening the modules’ package with knife, be careful not scratching the module.
Do not lift the whole module by grabbing the terminal box or cable in any sense.
Modules are heavy.
Handle with care.
Do not drop PV modules far above ground.
Do not drop one module down on another module.
Do not stand or step on the module.
Do not pass by stepping on the module especially when installing, maintain and washing the modules.
Do not hit or put excessive load on the glass or back sheet.
Do not allow objects fall down on the module.
Do not cause an excessive load on the surface of PV module or twist the frame.
Do not scratcher hit at the back sheet.
Do not hit on the terminal box or do not pull the cables.
Please notice the ground condition when the module is placed horizontally with back sheet faced down.
Do not try to unpick the module, remove any parts or the nameplate of the module.
Do not brush oil paint or any other adhesive on the surface of the module.
Do not scratch the insulation coating of the frame (except for grounding connection).
It may cause corrosion of the frame or compromise the framework strength.
Do not drill holes in the frame.
It may compromise the frame strength and cause corrosion of the frame.
Do not repair glass, back sheet or other broken part of the module.
Please install with dry tools in dry condition.
Do not operate when the module is wet, unless wear proper equipment against electrical shock.
Do not grab the PV module at only one side, the frame may bend.
Grab the PV module at two sides facing each other.
Do not touch the PV module with bare hands.
The frame of PV module has sharp edges and may cause injury.
Do not scratch the output cable or bend it with force.
The insulation of output cable can break and may result in electricity leakage or shock.
Do not try artificially to concentrate sunlight on the PV module.
Never touch terminal box or the end of output cables with bare hands when the PV module is irradiated.
Cover the surface of PV module with cloth or other suitable sufficiently opaque material to isolate the PV module from incident light and handle the wires with rubber-gloved hands to avoid electric shock.
Always wear protective head gear, insulating gloves and safety shoes (with rubber soles).
Do not touch the PV module unnecessarily during installation.
The glass surface and the frames get hot.
There is a risk of burn, or you may collapse because of electric shock.
Do not work under rain, snow or windy conditions.
Do not touch the terminal box and the end of output cables the cable ends (connectors) with bare hands during installation or under sunlight, regardless of whether the PV module is connected to or disconnected from the system.
Plug in the connector tight and ensure the wiring work.
Do not unplug the connector if the system circuit is connected to a load.
Do not stomp on the glass at work.
There is a risk of injury or electric shock if glass is broken.
Do not work alone (always work as a team of 2 or more people).
When installing PV modules far above ground, wear a safety belt, do not drop any object (e.g., PV module or tools).
Do not wear metallic jewelry which can cause electric shock during instillation
Do not wear metallic jewelry which can cause electric shock during installation.
Do not damage the back sheet of PV modules when fastening the PV modules to a support by bolts.
Do not damage the surrounding PV modules or mounting structure when replacing a PV module.
Bind cables by the insulation locks.
Drooping down of cables from the terminal box could possibly cause various problems such as animal biting, electricity leakage in puddle.
Take proper measures for preventing the laminate (consisted of resin, cells, glass, back sheet, etc.) from dropping out of the frame in case the glass is broken.
Cables shall be located so that they will not be exposed to direct sunlight after installation to prevent degradation of cables.
When installing the module, make sure that the terminal box is on the higher side of the module for better waterproof.
FIRE SAFETY
Consult your local authority for guidelines and requirements for building or structural fire safety.
EGING modules have been listed as Class C according to IEC 61730-2 standard.
For roof installations, modules should be mounted over a fire resistant covering suitable for this application, with adequate ventilation between the Modules back sheet and the mounting surface.
In order to maintain the fire class rating, the distance between the Modules frame surface and the roof surface shall be at least 115 mm.
Roof constructions and installations may affect the fire safety of building.
Improper installation may create hazards in the event of a fire.
Please install the Modules with Professional Installers.
INSTALLATION CONDITION
SITE SELECTION AND WORK ENVIRONMENT
In most applications, the PV modules should be installed in a location where there is no shading throughout the year.
Please make sure that there are no obstructions in the surroundings of the site of installation. EGING recommend that the PV modules should be installed in the place where the operating temperature is from -20℃ to46℃.The operating temperature is the maximum and minimum monthly average temperature of the installation site.
The limit of working temperature is from -40℃ to 85℃.
EGING PV modules must be mounted on proper structure or any other place which is suitable for module installation(such as ground, roof and facade).
Make sure flammable gases are not generated near the installation site.
The PV modules should not be installed in flooded areas.
The junction box should be on the higher side of the module when it is mounted.
Lightning protection is recommended for PV systems that are to be installed in locations with high probability of lightning strikes.
Take proper steps in order to maintain reliability and safety, in case the PV modules are used in areas such as:
Heavy snow areas / Extremely cold areas / Strong wind areas / Installation so veer, or near, water / Areas where installations are prone to salt water damage / Small islands or desert areas.
EGING suggests that modules should not be installed nor operated in areas where hail, snow, sand, dust, air pollution, soot, etc., are excessive.
Modules must not be sited in locations where aggressive substances such as salt, salt mist ,salt-water, chemically active vapors, acid rain, any other type of corrosive agent, could affect the safely the safely and/or performance of the Modules.
EGING PV modules have also passed salt mist corrosion test according to IEC60701.
But corrosion may occur in the module frame connecting to the bracket portion or the portion of ground connection, those parts shall be prepared with anti-corrosion treatment before usage.
EGING recommends that modules used or installed should be 2000 meters (altitude) at most.
TILT ANGLE
The tilt angle of the PV module is the angle between the PV module and a horizontal ground surface.
The PV module generates the maximum output power when it faces the sun directly.
In the Northern Hemisphere, the PV modules should typically face south, and in the Southern Hemisphere, the PV modules should typically face north.
For the detailed installation angle, which is different in different area, may refer to the recommendation of the experienced PV modules installation supplier.
Modules mounted flat(0° tilt angle) is not suggested due to dust is easy to be accumulated and affect power output.
Dust building up on the surface of the modules can impair with modules performance.
EGING recommends installing the modules with a tilt angle of at least 9 degrees, making it easier for dust to be washed off by rain and more regular cleaning is not required and water on the surface of module will not be accumulated, avoiding moldy glass caused to affect the degradation of the modules because of long time water collection on the module surface.
MECHANICAL INSTALLATION
REGULAR REQUIREMENTS
Make sure that module installation mode and bracket system can meet the expected load, which is requisite assurance that the bracket installer must provide.
Installation bracket system shall be tested and inspected by the third party testing institution with static mechanical analysis capacity in accordance with local national standards or international standards.
Module bracket shall be made from durable, corrosion resistant, UV-proof materials.
Modules shall be fixed on the bracket solidly.
Use higher brackets in places with heavy snow accumulation so the lowest point of modules will not be shadowed by snow for a long time.
In addition, make the lowest point of modules high enough so as to avoid shading of vegetation and woods or reduce damage of sands and stones.
If modules are installed on brackets parallel to the roof or wall, the minimum gap between the module frame and the roof/wall shall be 10cm for air ventilation in case of module wire damage.
Make sure the building is suitable for installation before installing modules on roof.
Moreover, seal properly to prevent leakage.
The module frames can appear thermal expansion and cold contraction so the frame interval between two adjoining modules shall be no less than 10mm.
Make sure that back sheet of modules will not be in contact with bracket or building structures that can pierce into the inside of the modules, especially when the module surface is imposed by pressure.
MOUNTING METHOD
Module and bracket system connection can be realized by mounting holes, clamps or embedded systems.
Installation shall follow the demonstration and suggestions below.
If installation mode is different, please consult Eging and obtain approval.
Otherwise, modules may be damaged and limited warranty will be invalid.
Modules have been certified for maximum static load on the back side of 2400Pa (i.e. wind load) and a maximum static load on the front side of either 2400Pa or 5400Pa(i.e. wind and snow load, depending on the modules type (please refer to the following installation methods for details)
BOLTS MOUNTING
Through the mounting hole on the back frame of the photovoltaic module, the module can fixed on the support with bolts.
One module generally has 4 or 8 mounting holes and is installed with M8 bolts.
The details are shown in the following figure:
Installation position and corresponding load of modules:

Installation with bolts into 4 outer holes
(Beam perpendicular to long sides)
Installation with bolts into 4 outer holes
(Beam Parallel to long sides)
| Module Type | Mounting hole spacing | Load Capacities | Module Type | Mounting hole spacing | Load Capacities |
| EG-XXXM60-HEV | 1200*999 | +5400/-2400 | EG-XXXM72-HE/BF-DG | 1440*990 | +5400/-2400 |
| EG-XXXM72-HEV | 1440*999 | +5400/-2400 | EG-XXXM72-HL/BF-DG (1134*2285) | 1440*1095 | +5400/-2400 |
| EG-XXXM72-HL/BF-DG (1134*2278) | 1400*1095 | +5400/-2400 | |||
| EG-XXXM54-HLV | 1200*1095 | +5400/-2400 | EG-XXXM60-HU/BF-DG | 1400*1264 | +5400/-2400 |
| 1400*1095 | +5400/-2400 | ||||
| EG-XXXM72-HLV | 1440*1095 | +5400/-2400 | EG-XXXM66-HU/BF-DG | 1400*1264 | +5400/-2400 |
| 1400*1095 | +5400/-2400 | ||||
| EG-XXXM60-HUV | 1400*1264 | +5400/-2400 | |||
| EG-XXXM66-HUV | 1400*1264 | +5400/-2400 |
CLAMP MOUNTING
Under no circumstances should the clamp touch the glass or deform the frame.
The interface of the clamp to the front of the frame must be smooth and flat to prevent frame or other components from being damaged.
Make sure no shadowing effect of the fixture.
The drain hole cannot be blocked by the fixture.
For framed PV module the clamp must maintain an overlap of 8-11 mm with the frame of the module (you can change the cross section of the clamp if the module is securely installed).

| Name | Size | Material | |
| 1 | Bolt | M8 | S35C |
| 2 | Nut | M8 | S35C |
| 3 | Gasket | M8 | S35C |
Installation position and corresponding static loads:
Installation of framed module with fixtures on long sides
(Beam perpendicular to long sides)
Installation of framed module with fixtures on long sides
(Beam Parallel to long sides)
| Module Type | S(mm) | Load Capacities(pa) | Module Type | S(mm) | Load Capacities(pa) |
| EG-XXXM60-HEV | 252-302 | +5400/-2400 | EG-XXXM72-HE/BF-DG | 302-352 | +5400/-2400 |
| EG-XXXM72-HEV | 302-352 | +5400/-2400 | EG-XXXM72-HL/BF-DG | 397-447 | +5400/-2400 |
| EG-XXXM54-HLV | 237-287 | +5400/-2400 | EG-XXXM60-HU/BF-DG | 361-411 | +5400/-2400 |
| EG-XXXM72-HLV | 395-445 | +5400/-2400 | EG-XXXM66-HU/BF-DG | 467-517 | +5400/-2400 |
| EG-XXXM60-HUV | 361-411 | +5400/-2400 | |||
| EG-XXXM66-HUV | 467-517 | +5400/-2400 |
Installation of framed module with fixture on short sides
(Beam perpendicular to long sides)
| Module Type | S(mm) | Load Capacities(pa) |
| EG-XXXM60-HEV | L/4(±25) | +1800/-1800 |
| EG-XXXM54-HLV | L/4(±25) | +1800/-1800 |
Bifacial module can generate power after receiving reflected light on the back, which can bring additional power generation gain to the power station.
Therefore, for bifacial module, it is recommended to install the beam parallel to long sides, so that there is no beam shielding directly below the module.
MOUNTING METHODS WITH SINGLE-AXIS TRACKER
The bolts and clamps used in this section should follow the requirements in 5.2.1 and 5.2.2.
Install and tighten the module clamps to the mounting rails using the torque stated by the mounting hardware manufacturer.
M8 X 1 (1/4”) bolt and nut are used for this bolting method.
Tightening torques shouldbe16-20 Nm coarse thread bolts, depending on bolt class.
Different tracker systems may have large deviations.
Please provide the selected tracking support supplier and product model and consult Egging for details.
Tracker 1P Bolting/Clamping method:
| Module type | Load Capacities (pa) | Module type | Load Capacities (pa) |
| EG-XXXM72-HEV | 1600-2400 | EG-XXXM72-HEV | 1600-2400 |
| EG-XXXM72-HE/BF-DG | 1600-2400 | EG-XXXM72-HE/BF-DG | 1600-2400 |
| EG-XXXM72-HLV | 1600-2400 | EG-XXXM72-HLV | 1600-2400 |
| EG-XXXM72-HL/BF-DG | 1600-2400 | EG-XXXM72-HL/BF-DG | 1600-2400 |
| EG-XXXM60-HUV | 1600-2400 | EG-XXXM60-HUV | 1600-2400 |
| EG-XXXM66-HUV | 1600-2400 | EG-XXXM66-HUV | 1600-2400 |
| EG-XXXM60-HU/BF-DG | 1600-2400 | EG-XXXM60-HU/BF-DG | 1600-2400 |
| EG-XXXM66-HU/BF-DG | 1600-2400 | EG-XXXM66-HU/BF-DG | 1600-2400 |
Tracker 2P Bolting method:
| Module type | Load Capacities (pa) |
| EG-XXXM72-HEV | 1200-2400 |
| EG-XXXM72-HE/BF-DG | 1200-2400 |
| EG-XXXM72-HLV | 1200-2400 |
| EG-XXXM72-HL/BF-DG | 1200-2400 |
| EG-XXXM60-HUV | 1200-2400 |
| EG-XXXM66-HUV | 1200-2400 |
| EG-XXXM60-HU/BF-DG | 1200-2400 |
| EG-XXXM66-HU/BF-DG | 1200-2400 |
ELECTRICAL INSTALLATION
WIRINGAND CABLES
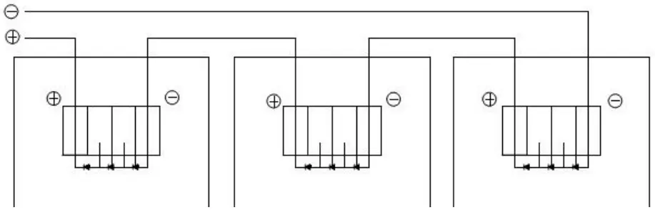
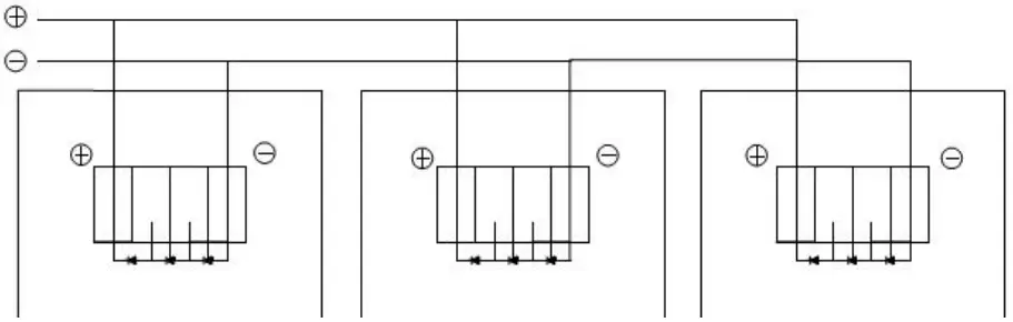
To ensure proper system operation and to maintain your warranty, observe the correct cable connection polarity (Figures 3&4) when connecting the modules to a battery or to other modules.
If not connected correctly, the bypass diode could be destroyed.
PV modules can be wired in series to increase voltage.
Connect wires from the positive terminal of one module to the negative terminal of the next module.
Figure 3 shows modules connected in series.
Connect PV modules in parallel to increase current.
Connect wires from the positive terminal of one module to the positive terminal on the next module.
Figure 4 shows modules connected.
Figure3.SERIES for more voltage
Figure 4.PARALLEL for more current
These junction boxes have been designed to be easily interconnected in series for their well-connected cable and connector with IP67 protection grad eat least.
Each Modules has two single-conductor wires, one positive and one negative, which are pre-wired inside the junction box The connectors at the opposite end of these wires allow easy series connection of adjacent Modules by firmly inserting the positive connector of a Module into the negative connector of an adjacent Module until the connector is fully seated.
Use field wiring with suitable cross-sectional areas that are approved for use at the maximum short-circuit current of the Modules.
EGING recommends installers use only sunlight resistant cables qualified for direct current (DC) wiring in PV systems.
In general, the maximum number (N) of PV modules in series can be calculated by dividing the maximum system voltage by the open circuit voltage of the relevant solar PV modules.
When designing the solar PV system, it is necessary to take into account the characteristic that the voltage of the solar PV module changes with the temperature.
Considering the voltage increase caused by temperature drop in extreme environment in winter, the maximum series connection number of solar PV modules can be calculated by the following formula.
Maximum system voltage V ≥ N x Voc x [1 + βx(Tmin − 25)
- V: Maximum system voltage;
- N:The number of maximum solar PV modules in series;
- Voc: The open circuit voltage of each module ;
- β: Temperature coefficient of open circuit voltage of the module;
- Tmin: The lowest ambient temperature at installation site;
Cables should be fixed to the mounting structure in such a way that mechanical damage of the cable and/or the modules is avoided.
While the cables are sunlight resistant and waterproof, where possible, avoid direct sunlight exposure and water immersion of the cables.
Maximum parallel strings without proper measures (e.g. fuse and/or blocking diode): 1 string.
Note: Parallel configuration is not limited in case of taking proper measure (e.g. fuse for protection of module and cable from overcurrent, and/or blocking diode for prevention of unbalanced strings voltage) to block the reverse current flow
The quantity of string connection for modules should be consulted by the professional institute.
Parallel connection for only 2 pcs modules is not recommended.
Type of terminal for field wiring is the same as the Module’s.
Rating required minimum field wiring
| Testing standard | Wire size | Temperature Rating |
| EN 50618:2014 | 4mm² | -40℃ to +90℃ |
CONNECTORS
Keep connectors dry and clean, and ensure that connector caps are hand tight before connecting the Modules.
Do not attempt to make an electrical connection with wet, soiled, or otherwise faulty connectors.
Avoid sunlight exposure and water immersion of the connectors.
Avoid allowing connectors to rest on the ground.
Faulty connections can result in arcs and electrical shock.
Check that all electrical connections are securely fastened.
Make sure that all locking connectors are fully engaged and locked.
The Suppliers and types of connectors should be in accordance with the Standard ICE 62852.
BYPASS DIODES
The junction boxes used with EGING modules contain bypass diodes wired in parallel with the PV cell strings.
In the case of partial shading, the diodes by pass the current generated by the non-shaded cells, thereby limiting modules heating and performance losses.
Bypass diodes are not over-current protection devices.
The type and rating of bypass diode to be used must pass the tests (IEC 62790:2014) of the Junction Box.
For more details, please see the CDF related Junction Box.
In the event of a known or suspected diode failure, installers or maintenance providers should contact EGing PV.
Never attempt to open the junction box by yourself .
ELECTRICAL RATINGS
Under normal conditions, a photovoltaic module is likely to experience conditions that produce more current and/or voltage than reported at Standard Test Conditions.
Accordingly, the values of Isc and Voc marked on this module should be multiplied by a factor of 1.25 when determining component voltage ratings, conductor capacities, fuse sizes and size of controls connected to the module output.
GROUNDING
The frame grounding is considered within the requirement of local regulation at the site of installation.
When needed this grounding, please refer to below example of connection.
Please be careful in arranging the system ground so that the removal of one module from the circuit will not interrupt the grounding of any other modules.
The modules should be grounded to the same electrical point.
Each PV module has grounding holes.
Do not drill additional grounding holes on the frame.
And the negative pole of the module must be grounded.
Otherwise, the module warranty may be void.
An example of acceptable ground connection using a screw, nut (hardware not provided) and washer retaining a ground screw is shown in figure 5.
The size of the grounding cable should be decided by the professional person who responsible for electrical installation.
In a connection of this type, the hardware(such as a toothed locked washer/star washer) must score the frame surface to make positive electrical contact with the frame.
The ground wire must be considered within the requirement of local and regulation at the site of installation.
If steel parts used for grounding purpose, steel parts must be plated, painted or enameled for protection against corrosion before usage.
Figure 5.Example of acceptable ground connection
OPERATION AND MAINTENANCE
MODULE APPEARANCE INSPECTION
Check module cosmetic defects with naked eyes , especially:
- Module glass cracks;
- Corrosion at welding parts of the cell main grid;
- Check whether the modules are covered by things;
- Check if any loose or damage screws between the modules and mounting system;
- Check whether there are traces of burning mark on the module back sheet
CLEANING
Accumulated contaminants on module surface glass will reduce the power output and lead to local hot spot, such as dust, industrial wasted water and birds’ droppings.
The severity of influence is determined by transparency of wastes.
Small amounts of dust will affect the intensity and evenness of received solar irradiation but are not dangerous and power will not be reduced remarkably generally.
During operation of modules, there shall be no environmental factors to shade modules fully or partially.
These environment factors including other modules, module mounting system, birds dwelling, dust, soil or plants.
These will significantly reduce output power.
EGing suggests that the module surface shouldn’t be shadowed in any case.
Frequency of cleaning depends on dirt accumulation speed.
In normal situations, rainwater will clean the module surface and reduce the cleaning frequency
It is suggested to use sponge dipped with clean water or soft cloth to wipe the glass surface.
Do not use acid and alkaline detergents to clean modules.
Do not use tool with rough surface to clean in any case.
When the pressure water is used, the water pressure on the glass surface of the module must not exceed 700 KPa.
The module must not be subjected to additional external force.
If necessary, use isopropyl alcohol (IPA) according to the safety instructions to clean and ensure that no IPA flows into the gap between the edge of the module and the module frame.
In order to avoid potential risk of electrical shock or burn, EGing suggests cleaning the modules during early morning and evening with low irradiance and low modules temperature especially area with high average temperature.
It is forbidden to clean photovoltaic modules under weather conditions with heavy rain, heavy snow or winds greater than class 4.
The back surface of the module normally does not need to be cleaned, but in the event this is deemed necessary, avoid the use of any sharp objects that might damage or penetrating the substrate material.
Water requirements when cleaning:
- PH: 5~7;
- Chloride or salt content: 0 – 3,000 mg/L;
- Turbidity: 0-30 NTU;
- Conductivity: 1500~3000 μs/cm;
- Total dissolved solids: ≤1000 mg/L;
- Water hardness: 0-40 mg/L;
- Non-alkaline water must be used, and softened water can be used when conditions permitted
INSPECTION OF CONNECTORS AND CABLES
It is suggested to carry out the following preventive inspection twice a year.
Check if any crack or gap of silicone nearby the junction box.
In order to ensure the operation safety of the power station and modules, the cables and connectors in the modules need to be fixed accordingly to prevent the harm caused by the continuous impact on the modules in the strong wind environment.
Check whether the sealant at the junction box is cracked and has gaps.



















