GERMAN POOL CVC-210 Multifunctional Cordless Vacuum Cleaner

Please read these instructions and warranty information carefully before use and keep them handy for future reference.
Warnings & Safety Precautions
WARNING!
Read all instructions carefully before using this product.
- This product is for domestic indoor use only. If this product is used for any commercial, industrial, rental or other purposes, the product warranty will be VOIDED.
- This product is not intended for use by children or persons with reduced physical, sensory
or mental capabilities, or lack of experience and knowledge, unless they have been given supervision or instruction concerning use of this product by an adult responsible for their safety. - Mind your children and DO NOT let children play with this product.
- Cleaning and user maintenance shall not be made by children without supervision.
- Check the voltage indicated on the rating label before using this product.
- If the supply cord is damaged, it must be replaced by the manufacturer, its service agent or similarly qualified persons in order to avoid hazards.
- Unplug this product from the power source before cleaning and maintenance.
- Contact German Pool authorized service technician for repair or maintenance of this product.
- Only the certified technician may disassemble this product, users are strictly not allowed to disassemble this product.
- This product shall only be charged by using the included charging cable, other charging cables may cause damage to this product.
- DO NOT touch the power cord, plug or adaptor with wet hands.
- Avoid curtains, any kind of strings or the user/s body part wrapping up on the wheel.
- Keep this product away from cigarette stubs, lighters or flame.
- To clean the product, this product must be fully charged before any cleaning process.
- DO NOT over-bend the power cord, or place heavy or sharp objects on this product.
- This product is intended for indoor use only, DO NOT use this product outdoors.
- DO NOT place items or persons heavier than 10 kg on top of this product.
- DO NOT use this product in wet or moist environments (eg. bathroom). DO NOT use this product to suck up liquids.
- Before using this product, please remove any fragile objects (eg. glasses, lamps, etc.) from the floor. Also remove any object that may be wrapped up to the side brushes or may block the suction inlet (eg. power cord, paper, curtain).
- DO NOT put this product on a position where is easy to fall off (eg. on a table or chair).
- While delivering or not use the product for long time, please wrap it in a dustproof bag and keep it in well condition.
- Before charging, please check whether the charging cable and socket is connected well.
- When the dust cup is full of dust, clean it up before using this product.
- This product is functioning at a temperature range of 5°C to 40°C.
- DO NOT use this product in a high-temperature environment.
- DO NOT modify the device, or accessories or replace the power cord or battery by yourself.
- Waste batteries are an important resource. When discarding this product, DO NOT discard the batteries at will; they must be properly disposed of in accordance with government regulations. Please recycle them to your local waste battery recycling facility.
Product Structure
Main Body

Note:
When this product is not in use, please detach all accessories (eg. extension wands, flexible hose, nozzles, etc.) from the main body, and cap on the base stand for protection before storing the product away.
Operation Instructions
Charging The Battery
Note:
- Please fully charge the product before use.
- Turn off the product before charging the battery.
- Cap on the base stand and stand the product upright on a sturdy and level surface.
- Connect the Type-C side of the charging cable to the product, and connect the USB side to the power source.
- During charging, the Battery Indicator Light will blink; when fully charged, the Battery Indicator Light will light up constantly. It takes approx. 3.5 hours to fully charge the battery.
- When fully charged, the product can operate for approx. 12 minutes on Max Suction Mode, and approx. 25 minutes on Eco Suction Mode.

Note:
- DO NOT charge the battery in an environment below 5°C or over 40°C.
- It is recommended to charge with a DC 5V 2A power adaptor.
- Batteries are consumables. Over time, the battery life will decrease and it will take longer to fully charge the battery. This is a normal phenomenon.
How To Use

Icon | Description | |
| On/Off Button | • Press this button to turn on the product, Battery Indicator Light lights up constantly • Press this button again to turn off the product, Battery indicator light goes off | |
| Mode Button | When a product is turned on, press this button to alternate between Max Suction Mode and Eco Suction Mode | |
|
|
Battery Indicator Light | • When a product is turned on, this light lights up constant • When a product is turned on and this light blinks, it means the battery is low and needs recharging • When a product is charging and this light blinks, it means the battery is charging • When a product is charging and this light lights up constantly, it means the battery is fully charged |
| Dust Cup Full Indicator Light | When this light lights up, please clean dust cup, HEPA and stainless steel filters | |
Note:
- To prevent the nozzle from clogging, please remove large debris (eg. paper, wrapping film, etc.) before vacuuming.
- It is recommended to clean the dust cup, HEPA, and stainless steel filter after each use.
Vacuum Seal Function
- Install the vacuum seal nozzle on the product.
- Place the nozzle over the air valve of the vacuum bag, turn on the product as usual, and use it as a vacuum sealer.

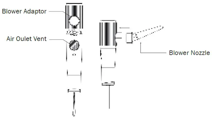
Blower Function
- Remove the product from the base stand. Press the dust cup release buckle to unlock the cup, and twist the dust cup to the right (clockwise) to detach it.

- Twist the stainless steel filter clockwise to remove it together with the HEPA filter.

- Attach the blower adaptor to the main body. Make sure to align the hole on the adaptor with the air outlet vent on the main body.
- Attach the blower nozzle to the blower adaptor. Turn on the product as usual and use it as a blower.

Note
To ensure blower efficiency, the hole on the blower adaptor must be perfectly aligned with the air outlet vent on the main body.
Cleaning & Maintenance
WARNING!
- Turn off the product before cleaning and maintenance.
- DO NOT immerse or rinse the main body of the product with water.
- Remove product from the base stand. Press the dust cup release buckle to unlock the cup, twist the dust cup to the right (clockwise) to take it out, and empty out the dust.

- Twist the stainless steel filter clockwise to remove it, and take out the HEPA filter.

- The HEPA filter and stainless steel filter can be directly rinsed with water.
- After all the parts are completely air-dried, reinstall them accordingly.
Note:
- It is recommended to clean the dust cup and filters after each use.
- When cleaning the product, beware of glass or other sharp debris to avoid injury.
- DO NOT scrub the HEPA filter or apply brute force to it.
- When installing the HEPA filter, make sure it is fitted in properly.
- DO NOT use this product if the dust cup, HEPA, or stainless steel filter is damaged or not properly cleaned.
Troubleshooting
| Problem | Possible Cause | Solution |
| Operation time becomes shorter | Battery has aged | Contact German Pool Customer Service & Repair Centre |
| Working ambient temperature too high or too low | Use this product in a suitable environment (5°C -40°C) | |
| Battery is not fully charged | Recharge battery | |
| Suction power becomes weak | Too much debris in dust cup | Clean out dust cup |
| HEPA filter is blocked | Wash HEPA filter | |
| Nozzle or extension wand is blocked | Clear blockage | |
| Washed parts are not completely dry | Let parts air dry completely in a ventilated place away from sunlight | |
| Battery will not charge | Ambient temperature too high or too low | Charge product in a suitable environment (5°C -40°C) |
WARNING!
If the problem persists, please contact German Pool Customer Service & Repair Centre. DO NOT disassemble this product by yourself. This product can only be repaired by a professional technician.
Technical Specification
| Model | CVC-210 |
| Voltage | 11.1 V |
| Frequency | 50 Hz |
| Power | 100 W |
| Battery Capacity | 2,000 mAh |
| Product Dimensions | (H) 338 (W) 58 (D) 58 mm |
| Dust Cup Capacity | 150 ml |
| Net Weight | 535 g |
- The specification is subject to change without prior notice.
- If there is any inconsistency or ambiguity between the English version and the Chinese version, the Chinese version shall prevail.
- Refer to www.germanpool.com for the most updated version of the User Manual.
Warranty Terms & Conditions
Under normal operations, the product will guarantee a 1-year full warranty provided by German Pool (effective from the date of purchase).
This warranty is not valid until customer registration information is received by our Service Centre within 10 days of purchase via one of the following means:
- Visit our VIP App and register online: (Scan the QR Code on the left)
- Visit our website and register online: www.germanpool.com/warranty.
- Complete the attached Warranty Card and mail it back to our Customer Service Centre.

Please fill out the form below. This information and the original purchase invoice will be required for any repairs. The warranty will be invalidated if the information provided is found to be inaccurate.
- Model No.: CVC-210
- Serial No.:
- Invoice No.:
- Purchased From:
- Purchase Date:
- Customer who fails to present the original purchase invoice will not be eligible for free warranty service.
- Customers should always follow the operating instructions. This warranty does not apply to:
- labour costs for on-site installation, check-up, repair, replacement of parts and other transportation costs;
- damages caused by accidents of any kind (including material transfer and others);
- operating failures resulting from applying incorrect voltage, improper usage, and unauthorized installations or repairs.
- This warranty is invalid if:
- the purchase invoice is modified by an unauthorized party;
- the product is used for any commercial or industrial purposes;
- the product is repaired or modified by unauthorized personnel, or unauthorized parts are installed;
- the serial number is modified, damaged or removed from the product.
- German Pool will, at its discretion, repair or replace any defective part.
- This warranty will be void if there is any transfer of ownership from the original purchaser.
Customer Service & Repair Centre
Hong Kong
Unit B, G/F, Sunshine Kowloon Bay Cargo Centre, 59 Tai Yip Street, Kowloon Kowloon, Hong Kong
- Tel: +852 2333 6249
- Fax: +852 2356 9798
- Email: [email protected].
German Pool (Hong Kong) Limited
Hong Kong
Room 113. Newport Centre Phase II. 116 Ma Tau
Kok Road. Tokwawan. Kowloon. Hong Kong.
Tel: +852 2773 2888
Fax:+852 2765 8215
China
8th, Xinxiang Road, Wusha Industrial Park,
Daliang, Shunde, Foshan, Guangdong.
Tel:+86 757 2219 6888
Fax:+86 757 2219 6809
Macau
A, 1 Andar, Mei Kui Kuong Cheong Fase 2,
No.515 Avenida Do Conselheiro Borja, Macau
Tel:+853 2875 2699
Fax:+853 2875 2661.
© All rights reserved. Copying, reproducing, or using the contents of this manual is not allowed without prior authorization from German Pool, violators will be prosecuted. www.germanpool.com.



















