Hotpoint NDD 11725 BDA EE Front Load Washing Machine with Dryer Black User Guide
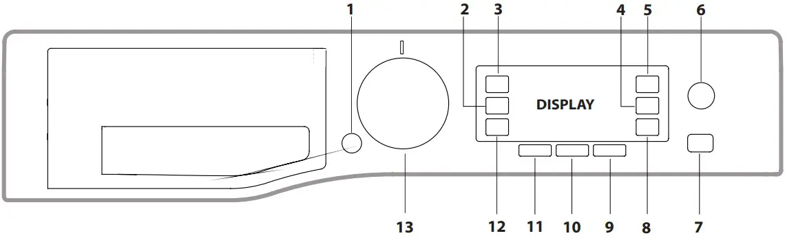
CONTROL PANEL

WASH CYCLE TABLE
| Maximum washing load 11 kg. Maximum drying load 7 kg. Power input in off mode 0.5 W / in left-on mode 8 W | Detergents and Additives | Recommended detergent | Residual(***) | EnergykWh | Total water lt | Laundry | ||||||||||
| Wash cycle | Temperature | Max. spin speed (rpm) | Max. load for washing (kg) | Duration (h : m) | Drying | Max. load for drying (kg) | Wash | Fabric softener | Powder | Liquid | ||||||
| Setting | Range | 1 | 2 | |||||||||||||
![]() | Wash & Dry Mixed | 30 °C | – 30 °C | 1200 | 3.5 | ** | 3.5 | – | – | – | – | – | ||||
![]() | Wash & Dry XL Bed & Bath | 60 °C | – 60 °C | 1600 | 7.0 | ** | 7.0 | – | – | – | – | – | ||||
![]() | Cotton (2) | 40 °C | – 60 °C | 1600 | 11.0 | 3:55 | 7.0 | 49 | 1.14 | 107 | 45 | |||||
![]() | Synthetics (3) | 40 °C | – 60 °C | 1200 | 5.5 | 2:55 | 5.5 | 35 | 0.83 | 80 | 43 | |||||
![]() | Wool | 40 °C | – 40 °C | 800 | 2.5 | ** | 2.5 | – | – | – | – | – | ||||
![]() | Delicates | 30 °C | – 30 °C | 600 (****) | 1.0 | ** | 1.0 | – | – | – | – | – | ||||
![]() | Anti Allergy | 60°C | 40 °C- 60 °C | 1600 | 5.5 | ** | 5.5 | – | – | – | – | |||||
![]() | Anti Stain | 20 °C | – 20 °C | 1600 | 11.0 | ** | 7.0 | – | – | – | – | – | ||||
![]() | Steam Refresh | – | – | – | 2.0 | ** | – | – | – | – | – | – | – | – | – | – |
![]() | Spin & Drain * | – | – | 1600 | 11.0 | ** | 7.0 | – | – | – | – | – | – | – | – | |
![]() | Rinse & Spin | – | – | 1600 | 11.0 | ** | 7.0 | – | – | – | – | – | – | – | ||
![]() | Wash 20°C | 20 °C | – 20 °C | 1600 | 11.0 | 1:50 | – | – | – | 54,5 | 0.20 | 95 | 22 | |||
![]() | Eco 40-60 (1)(Wash) | 40 °C | 40°C | 1551 | 11.0 | 4:00 | 7.0 | 44 | 0.92 | 65 | 30 | |||||
| 1551 | 5.5 | 3:00 | 44 | 0.66 | 64 | 28 | ||||||||||
| 1551 | 3 | 2:40 | 44 | 0.42 | 44 | 22 | ||||||||||
![]() | Intense 60-90°C | 60 °C | – 90 °C | 1600 | 11.0 | 2:40 | 7.0 | 54 | 1.90 | 100 | 55 | |||||
![]() | Rapid Wash | 30 °C | – 30 °C | 1200 (****) | 5.5 | 0:30 | – | – | – | 71 | 0.21 | 50 | 27 | |||
![]() | Wash & Dry XS Rapid | 30 °C | 30 °C | 1600 | 1.0 | ** | 1.0 | – | – | – | – | – | ||||
| Required dosage Optional dosage | ||||||||||||||||
![]() | Eco 40-60 (4)(Wash & Dry) | 40 °C | 40 °C | 1551 | 7.0 | 9:50 | 7.0 | 0 | 5.10 | 75 | 33 | |||||
| 1551 | 3.5 | 6:00 | 3.5 | 0 | 2.70 | 53 | 33 | |||||||||
The cycle duration indicated on the display or instruction manual is an estimate based on standard conditions. The actual duration may vary in relation to several factors, such as the temperature and pressure of the incoming water, ambient temperature, amount of detergent, load quantity and type, load balancing and any additional options selected.The values given for programmes other than the Eco 40-60 programme are indicative only
1) Eco 40-60 (Wash) – Test wash cycle in compliance with EU Ecodesign regulation 2019/2014. The most efficient programme in terms of energy and water consumption for washing normally soiled cotton laundry.
Note: spin speed values shown on the display can slightly differs from the values stated in the table.
4) Eco 40-60 (Wash & Dry)- Test wash and drying cycle in compliance with EU Ecodesign regulation 2019/2014. To access “wash and dry” cycle select “Eco 40-60” wash programme and set “Drying level” to “Cupboard”. The most efficient programme in terms of energy and water consumption for washing and drying normally soiled cotton laundry. At the end of cycle the garments can be immediately stored to the cupboard.
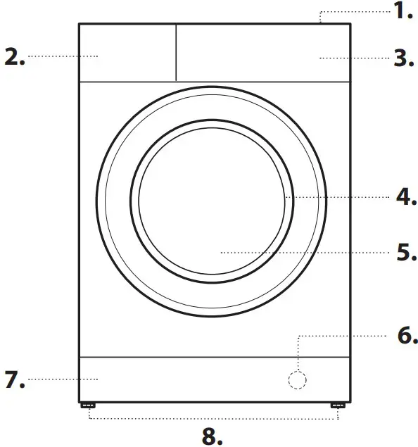
PRODUCT DESCRIPTION

- Top
- Detergent dispenser drawer
- Control panel
- Handle
- Porthole door
- Drain pump (behind the plinth)
- Plinth (removable)
- Adjustable feet (2)
For all testing institutes:
2) Long cotton cycle: set programme COTTON at temperature 40°C.
3) Long synthetics cycle: set cycle SYNTHETICS at a temperature of 40°C.
* By selecting the cycle and excluding the spin cycle, the washer-dryer will drain only.
** The duration of the wash cycles can be checked on the display.
*** After programme end and spinning with maximum selectable spin speed, in default programme setting.
**** The display will show the suggested spin speed as default value.
DETERGENT DISPENSER DRAWER
Compartment *:
Do not insert detergent in this compartment

Compartment 1: Washing detergent (powder or liquid)
If liquid detergent is used, the removable plastic partition A (supplied) should be used for proper dosage.
If powder detergent is used, place the partition into slot B
WASH CYCLES
Follow the instructions on the symbols of the garment’s wash care label. The value indicated in the symbol is the maximum recommended temperature for washing the garment
Wash & Dry Mixed
Use this cycle to wash and dry mixed garments (cotton and synthetics) in less than 4 hours. This cycle may be used to wash and dry loads of up to half of the machine drying capacity; we recommend the use of liquid detergent.
Wash & Dry XL Bed & Bath
This cycle is suitable for washing and drying without interruption cotton bulky items, like bed linens and towels, with the possibility to fully load the machine; we recommend using liquid detergent.
Cotton
Suitable for washing towels, underwear, table cloths, etc. made of resistant linen and cotton that are moderately to heavily soiled.
Synthetics
Specific for synthetic items (e.g. polyester, polyacrylic, viscose, etc.). If the dirt is difficult to remove, the temperature can be increased up to 60° and powder detergent can be used too
Wool – Woolmark Apparel Care – Green: the wool wash cycle of this machine has been approved by The Woolmark Company for the washing of wool garments labelled as “hand wash” provided that the products are washed according to the instructions on the garment label and those issued by the manufacturer of this washer-dryer. (M1135)
Delicates
For washing very delicate garments. For best results, turn the garments inside out and use liquid detergent. If a time-based drying option is added, a particularly delicate drying cycle is performed at the end of the wash cycle, thanks to light handling and appropriate temperature control of the water jet. The recommended durations are:
1 kg of synthetic garments –> 165 min
1 kg of synthetic and cotton garments –> 180 min
1 kg of cotton garments –> 180 min
The degree of dryness depends on the load and fabric composition.
Anti Allergy
Suitable for removing major allergens such as pollen, mites and cat or dog hair.
Anti Stain
This program ensures stain removal at low temperatures, preserving fabrics and colours. It is suitable to heavily-soiled garments with resistant colours. When running the program, do not mix garments of different colours. We recommend the use of powder detergent.
Steam Refresh
This programme refreshes garments by removing bad odours and relaxing the fibres and it is meant for dry, unsoiled items. Insert dry items only (that are not dirty) and select programme “Steam
Refresh”. The garments will be damp once the cycle is completed, so we recommend hanging them to dry (2 kg, roughly 3 items). The “Steam Refresh” programme makes ironing easier. Do not add softeners or detergents. Not recommended for wool or silk garments.
Spin & Drain
Spins the load then empties the water. For resilient garments. If you exclude the spin cycle, the machine will drain only.
Rinse & Spin
Rinses and then spins. For resilient garments.
Wash 20°C
For washing lightly soiled cotton garments, at a temperature of 20 °C.
Eco 40-60
For washing normally soiled cotton garments declared to be washable at 40 °C or 60 °C, together in the same cycle. This is the standard cotton programme and the most efficient in terms of water and energy consumption. The cycle runs only at 40°C as per regulation. Intense 60-90°C For heavily soiled whites and resistant colours.
Rapid Wash
For washing lightly soiled garments in a short time. Not suitable for wool, silk and garments to be washed by hand.
Wash & Dry XS Rapid
This cycle is to wash and dry without interruption small garments or T-shirts in different fabrics and colours up to 1kg in 45’. To achieve optimum results, use liquid detergent.
DISPLAY

Area A: here will appear the icon and programme selected, the washing and drying phases and time remaining to the end of the cycle.
Area B: shows the the two modes relative to the ACTIVE CARE option.
Area C: shows the indicator lights relative to the available functions.
Area D: displays the time remaining to the start of the selected cycle if the Delay Timer option was set.
Area E: will display the maximum available spin speed on the basis of the set cycle; if the cycle does not include the spin cycle setting, the dimly lit “–” symbol will appear in the area.
Area F: will show the temperature value that can be selected on the basis of the set cycle; if the cycle does not include setting of the temperature, the dimly lit “–” symbol will appear in the area
SELECT LANGUAGE: the first time the machine is switched on, you will be asked to select the language and the display will automatically show the language selection menu. To select the desired language press the X and Y buttons; to confirm the selection press the Z button. To change the language switch off the machine and press buttons G, H, I simultaneously until an alarm is heard: the language-selection menu will be displayed again.
DISPLAY BRIGHTNESS: to change the display luminosity, which by default is set to the highest value, switch the machine off then simultaneously press buttons G, L and M until the buzzer sounds. Press buttons X and Y to choose the desired level of luminosity then confirm by pressing button Z. ! During the wash cycle or when the Delay Timer option has been enabled, if the user does not interact with the display for 1 minute the SCREEN SAVER activates. To return to the previous window, simply press any button.
LOCKED DOOR INDICATOR
When lit, the symbol indicates that the door is locked. To prevent any damage, wait until the symbol turns off before attempting to open the door. To open the door while a cycle is in progress, press the START/PAUSE button ; if the symbol is off, the door can be opened.
DAILY USE
Prepare the laundry by following the suggestions appearing under the “TIPS AND SUGGESTIONS” section.
- Press the ON/OFF button ; “HOTPOINT” will appear on the display; the indicator light relative to the START/PAUSE button will flash slowly. – Open the door. Load the laundry while making sure not to exceed the maximum load quantity indicated in the wash cycle table.
- Pull out the detergent dispenser drawer and pour the detergent into the relevant compartments, as described in the “DETERGENT DISPENSER DRAWER” section.
- Close the door.
- Use the WASH CYCLE selector knob to select the desired wash cycle: the cycle’s name will appear on the display; the cycle will be associated with a specific temperature and spin speed which can be modified. The duration of the cycle will appear on the display.
- Modify the temperature and/or spin speed: the machine automatically selects the maximum temperature and spin speed set for the selected wash cycle; these values cannot therefore be increased. Pressing the button gradually reduces the temperature down to the cold wash setting (the “–” symbol will appear on the display). Pressing the button gradually reduces the spin speed until it is completely excluded (the “–” symbol will appear on the display). Pressing the buttons further restores the maximum allowed values for the selected cycle.
- Select the desired options.
PAUSING A CYCLE
To pause the wash cycle, press the START/PAUSE button again; the indicator light will flash. To start the wash cycle from the point at which it was interrupted, press the START/PAUSE button again.
Steam Hygiene
The washing performance is enhanced by the generation of steam at the end of the wash cycle that removes up to 99,9% of viruses and bacteria*, without the use of sanitizing additives. The steam generated during the operation of the washer-dryer may cause the porthole door to become hazy.
*Independently tested by Intertek on Rodent Protoparvovirus type 1, a representative virus, and for bacteria by Allergy UK on Cotton 60°C program with Steam Hygiene option activated.
Multi Rinse
This option allows for selecting the desired rinse type to protect sensitive skin. Press the button once to set level “Extra +1”, which allows for selecting an additional rinse to the standard cycle rinses and removing all traces of detergent. Press the button again to set level “Extra +2”, which allows for selecting two additional rinses to the standard cycle rinses; this cycle is recommended for very sensitive skin. When the button is pressed for the third time, the “Extra +3” level is set, which allows for selecting 3 additional rinses to the standard cycle rinses. When started with cycles at a temperature of 40°C, this option makes it possible to remove major allergens such as pollen and cat or dog hair. With cycles running at temperatures higher than 40°C, an excellent level of anti-allergy protection is achieved. Press the button again to return to the “Normal Rinse” mode. If the current mode cannot be set nor changed, the display will show “This action is not allowed”.
KEY LOCK
To activate the control panel lock, press and hold the button for roughly 2 seconds. When the display visualises “KEY LOCK ON”, the control panel is locked (except for the ON/OFF button ). This will prevent accidental modifications to wash cycles, especially when children are at home. To deactivate the control panel lock, press and hold the button for approximately 2 seconds
TIPS AND SUGGESTIONS
Divide the laundry according to:
Type of fabric (cotton, mixed fibres, synthetics, wool, garments to be hand-washed). Colour (separate coloured garments from whites, wash new coloured garments separately). Delicates (small garments – such as nylon stockings – and items with hooks – such as bras: insert them in a fabric bag).
CARE AND MAINTENANCE
Before performing cleaning and maintenance, switch the washer-dryer off and disconnect it from the mains power. Do not use flammable liquids to clean the washer-dryer. Clean and maintain your washer-dryer periodically (at least 4 times per year).
Cutting off the water and electricity supplies
Turn off the water tap after every wash cycle. This will limit wear on the hydraulic system inside the washer-dryer and help to prevent leaks. Unplug the washer-dryer when cleaning it and during all maintenance work.
Cleaning the washer-dryer
The outer parts and rubber components of the appliance can be cleaned using a soft cloth soaked in lukewarm soapy water. Do not use solvents or abrasives. The washer-dryer has a “Auto Clean” cycle for its internal parts; it must be run without any load in the drum. To help the wash cycle you may want to use either the detergent (i.e. a quantity 10% the quantity specified for lightly-soiled garments) or special additives to clean the washer-dryer. We recommend running a cleaning programme every 40 wash cycles. To activate the cycle, press the button for 5 seconds then press START/ PAUSE to start the cycle, which will last roughly 70 minutes.
Cleaning the pump
The washer-dryer is fitted with a Auto Clean pump which does not require any maintenance. Small items (such as coins or buttons) may sometimes fall into the protective pre-chamber situated at the base of the pump. Make sure that the wash cycle has ended and unplug the appliance. To access the pre-chamber:
- remove the covering panel on the front side of the machine by inserting a screwdriver in the centre and sides of the panel and using it as a lever;
- loosen the drainage pump cover by turning it anti-clockwise: it is normal for some water to leak out;
- clean the inside thoroughly;
- screw the cover back on;
- put the panel back in place, making sure the hooks slot in place before pushing the panel onto the appliance.
LOAD BALANCING SYSTEM
Before every spin cycle, to avoid excessive vibrations before every spin and to distribute the load in a uniform manner, the drum rotates continuously at a speed which is slightly greater than the washing rotation speed. If, after several attempts, the load is not balanced correctly, the machine spins at a reduced spin speed. If the load is excessively unbalanced, the washing machine performs the distribution process instead of spinning. To encourage improved load distribution and balance, we recommend small and large garments are mixed in the load.
ACCESSORIES
Contact our Technical Assistance Service to check whether the following accessories are available for this washer-dryer model. Stacking kit With this accessory you can secure the tumble dryer to the upper part of your washer-dryer to save space and facilitate loading and unloading of the tumble dryer.
TRANSPORT AND HANDLING
Do not lift the washer-dryer by gripping it from the upper section. Unplug the appliance and close the water tap. Check that the door and detergent dispenser drawer are tightly closed. Detach the filling hose from the water tap then detach the drain hose. Empty all the water remaining in the hoses and secure the latter so that they do not get damaged during transport. Apply the transport bolts back on. Repeat, in reverse order, the transport bolt removal procedure described in the “Installation instructions”.
TROUBLESHOOTING
Your washing machine could occasionally fail to work. Before contacting the Technical Assistance Service, make sure that the problem cannot be easily solved using the following list.
| Anomalies | Possible causes / Solution |
| The washer-dryer does not start. | The appliance is not plugged into the socket fully, or not enough to make contact. |
| There is no power in the house. | |
The wash cycle does not start. | The washing machine door is not closed properly. |
| The ON/OFF button has not been pressed. | |
| The START/PAUSE button has not been pressed. | |
| The water tap has not been opened. | |
| A delay has been set for the start time. | |
The washer-dryer does not fill with water (“NO WATER, turn tap on” appears on the display). | The water inlet hose is not connected to the tap. |
| The hose is bent. | |
| The water tap has not been opened. | |
| There is no water supply in the house. | |
| The pressure is too low. | |
| The START/PAUSE button has not been pressed. | |
The washer-dryer continuously loads and unloads water. | The drain hose is not fitted between 65 and 100 cm from the floor. |
| The free end of the hose is immersed in water. | |
| The wall drainage system is not fitted with a breather pipe. If the problem persists even after these checks, turn off the water tap, switch the appliance off and contact the Technical Assistance Service. If the home is on one of the upper floors of a building, there may be problems relating to back-siphonage, causing the washing machine to fill with water and drain continuously. Special anti-siphon valves are available in shops and help to prevent this inconvenience. | |
| The washer-dryer does not drain or spin. | The cycle does not include drainage: with certain cycles it must be started manually. |
| The drain hose is bent. | |
| The drainage duct is clogged. |
| The washer-dryer vibrates a lot during the spin cycle. | The drum was not unlocked correctly during installation. |
| The washing machine is not level. | |
| The washing machine is tucked between furniture cabinets and the wall. | |
| The washer-dryer leaks. | The water inlet hose is not screwed on properly. |
| The detergent dispenser drawer is obstructed. | |
| The drain hose is not properly attached. | |
| The machine is locked and the display flashes, indicating an error code (e.g. F-01, F-…). | Switch off the machine and unplug it, wait for approximately 1 minute and then switch it back on again. If the problem persists, contact the Technical Assistance Service. |
| There is too much foam. | The detergent is not suitable for machine washing (it should display the text “for washing machines” or “hand and machine wash”, or the like). |
| Too much detergent was used. | |
The washer-dryer does not dry. | The appliance is not plugged into the socket, or not enough to make contact. |
| There has been a power failure. | |
| The appliance door is not shut properly. | |
| A Delay Timer has been set. | |
| DRYING LEVEL is in the OFF position. |
Policies, standard documentation, ordering of spare parts and additional product information can be found by:
Visiting the website http://docs.hotpoint.eu.andparts-selfservice.whirlpool.com
- Using the QR code.
- Alternatively, contact our Technical Assistance Service (the telephone number is indicated in the warranty booklet). When contacting the Technical Assistance Service, provide the codes shown on the adhesive label applied to the inside of the door.

For User’s Repair & Maintenance Information visit www.hotpoint.eu.
The model information can be retrieved using the QR-Code reported in the energy label. The label also includes the model identifier that can be used to consult the portal of the registry at https://eprel.ec.europa.eu


































