Instruction for use & operating
Fridge- Freezer
Model. No: KG 185 BS black steel
Instruction Manual

Change the door hinge: See separate Brochure in the attachment
Please read these user instructions carefully to understand. quickly and thoroughly. how to use your new fridge/freezer. Underline any parts you consider particularly important. Look after this document so that you may consult it in the future or pass it on to any future owners. You have purchased a reliable appliance that will serve you for many years if it is used and maintained correctly. The detailed illustrations can be found on the last pages of this user manual. The ambient temperature affects the function of your equipment considerably. Please consider chapter “Climate category” page 3.This appliance is designed for domestic use. If it is installed for professional or commercial use. the standards applicable to the respective trade must be observed. The appliance has been tested against leakage in compliance with the relevant legal safety standards. In excessive stress of the appliance. for example through commercial use. the guarantee duration for the compressor reduces itself to 50%. Should you have bought your new fridge/freezer to replace an old appliance. please make sure that all existing latch- or bolt-locks on the old appliance are destroyed. before you dispose of it. This will ensure that a child cannot get trapped inside.
Please have the old appliance ecologically disposed of by a company specialized in environmental protection, since the appliance may contain harmful components in the refrigerant and this must be removed with special equipment. Please check with your dealer or with your local authority.
Make sure that the refrigerating system contains the refrigerant. especially the heat exchanger (condenser) at the back of the appliance. is not damaged during transportation to the disposal or collection site. so that you can be sure that the refrigerant does not leak out. Details of the utilized refrigerant and insulation propellant are on the rating plate affixed to the appliance.
![]()
Electrical Safety Instruction
THIS APPLIANCE MUST BE EARTHED.
IF THE MAINS LEAD OF THE APPLIANCE IS FITTED WITH A PLUG:
FUSE REPLACEMENT
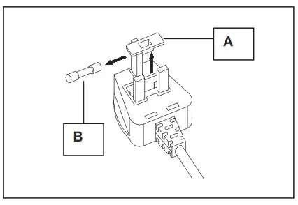
If the mains lead of this appliance is fitted with a BS 1363A 13 amp fused plug, to change a fuse in this type of plug use an A.S.T.A. approved fuse to BS 1362 type and proceed as follow:
- Remove the fuse cover (A)
- Remove the fuse (B)
- Fit replacement fuse into the plug
- Refit the fuse cover

IMPORTANT:
The fuse cover must be refined when changing a fuse and if the fuse cover is lost the plug must not be used until a correct replacement is fitted.
Correct replacements are identified by the color insert or the color embossed in words on the base of the plug. Replacement fuse covers are available from your local electrical store.
CONNECTION TO A REWIREABLE PLUG
If the fitted plug is not suitable for your socket outlet. then it should be cut off and disposed of in order to avoid a possible shock hazard should it be inserted into a 13A socket elsewhere.
A suitable alternative plug should then be fitted to the cable.
The wires in this mains lead are colored in accordance with the following code:
| BLUE | NEUTRAL (N) |
| BROWN | LIVE (L) |
| YELLOW & GREEN | EARTH (E) |

- The YELLOW & GREEN wire must be connected to the terminal in the plug which s marked with the letter E or by the Earth symbol
or colored green or yellow & green - The BLUE wire must be connected to the terminal which is marked with the letter N or colored black
- The BROW wire mast be connected to the terminal which is marked with the letter L or colored red
User’s manual
The user manual applies to several models, for this reason, there may be some differences in the details given, according to the type of the appliance.
Protecting the environment/advice for the disposal
Packing
serves to protect the appliance during transportation and recyclable materials have been used for packaging. Corrugated board/cardboard (mainly from waste paper)
- shaped parts in PS (foamed CFC-free polystyrene)
- foils and bags in PE (polyethylene)
- strapping tapes in PP (polypropylene)
- Please hand over all packaging to the nearest official collection point, so that all the different materials can be reused or recycled as far as possible and any illegal depositing of such materials is thus avoided.
Deciding where to locate your appliance
In order to avoid any damage or injury to persons or things, the appliance should be unpacked by two people and placed in the chosen location
Before positioning it, check that your new appliance has no visible outer damage.
On no account should you start up your appliance if it is damaged?
Check the appliance carefully for:
- Damage to the packaging might indicate that the appliance has been mishandled during transportation.
- Damage to the outer casing
- Any visible damage to the cable/plug
If in any doubt let the customer service department check the appliance.
It must at all costs be avoided, that any environmentally damaging refrigerant leaks out by starting up the appliance.
Installing your appliance
a) Unpack the fridge /freezer.
b) In order not to unnecessarily waste raw materials, the handles (requiring smaller packaging) have not been mounted onto the separate parts of the appliance. Mount the door handles and at the same time any other enclosed parts according to the relevant instructions enclosed separately.
c) Remove any objects from inside the appliance.
d) Carefully remove all film and adhesive tape from the casing from the door
e) Remove any polystyrene pieces from around the compressor (if present).
f) Remove all documents and accessories from inside the appliance.
g) Clean the inside of the appliance with lukewarm water and vinegar and dry it thoroughly with a soft cloth.
Do not use washing liquids, sharp or abrasive household products or any other cleaning agents containing soda.
- Make sure that the pipes for the circulation of the refrigerant are not damaged in any way during the installation of the appliance.
- The appliance must only be used for the purpose for which it is intended.
- The appliance must be placed on a firm, level surface. This is the only way to ensure that the refrigerant can circulate freely and thus ensure that your appliance will work efficiently.
- If possible, place your appliance in a cool, well-aired, dry room.
- Do not place your appliance in direct sunlight, nor in a room at high temperature.
- Do not place your appliance in the vicinity of any sources of direct heat such as heating, ovens, cooking stove etc. (This would mean the compressor would have to work harder and as a result, the power consumption would be considerably higher).
If installation near a direct heat source cannot be avoided, we recommend fitting a suitable insulation plate between the appliance and the heat source (do not use asbestos), or at least the following minimum distances must be observed:
| • | from a gas or electric cooker | 5 cm |
| • | from a radiator or oven etc. | 30 cm |
| • | from another refrigerating appliance | 3 cm |
Do not place any appliances, such as microwaves, toasters, etc. which give off the heat on the appliance.
- Never obstruct the ventilation grille.
- Always pull out the plug itself and never pull the cable when cutting the appliance off from the main supply.
- Leave the appliance standing in its final position for at least 2 —4 hours before switching it on, so that the circulation of the refrigerant stabilizes and no operating problems occur.
- Before connecting up the appliance, make sure that it is absolutely dry inside – especially in the corners.
- Depending on its composition, the refrigerant can be easily inflammable. The refrigerant circuit has been hermetically sealed and has been tested many times for possible leaks.
- Any inexpert interference might well create a fire hazard. Make sure nothing mechanically affects the circulation of the refrigerant, nor, in particular, the accessible parts around the compressor.
Only expert professional personnel should intervene on the refrigerating system. - Any refrigerant spilling out can injure your eyes.
- In the event of eye contact with the refrigerant, wash your eyes instantly under plenty of running water and call/consult a doctor (an eye specialist) immediately.
Climate category:
The appliance, according to its climate category, is meant for use at certain room temperatures.
These temperatures should not be exceeded! The climate category for your particular appliance is marked on the rating plate. The ca egories are:
| Name of climate category | Suitable room temperatures |
| SN N ST T | + 10° C to + 32°C + 16° C to + 32°C + 18° C to + 38° C + 18° C to + 43° C |
Rating plate
The rating plate with the technical data is located on the side of the appliance inner wall or outside, on the rear side of the unit.
Take a note of the technical data
Copy here below the technical data from the rating plate so that it is easily accessible without having to move the appliance.
Model- / Type N°.
Gross capacity …………………………… Liters
Net capacity ………………………………. Liters
Operating voltage ……………………….. V-50Hz
Maximum absorbed power (W) ………….. Watt
Safety fuse (A) …………………………… Amp
Power consumption …………………………. kWh/24h
Freezing capacity ……………………………… g/24 h

Connecting up your appliance to the mains

- Your appliance must be connected only to a grounded power socket that complies to relevant standards and has been installed by an authorized specialist.
- Before you plug in your appliance to the power socket, make absolutely sure that the voltage (V) and the safety fuse (A) for the main fuse box stated on the appliance’s rating plate match your electrical supply. If these do not match, notify the nearest service department or your dealer immediately.
- The appliance must not be connected up to an inverse rectifier (eg. solar panels).
Using your appliance
Switching on / off and Selecting the Temperature Temperature dial (Thermostat)
The temperature dial switches the appliance on and off and sets the cooling temperature.
To switch on :
Turn the temperature dial to the right.
- The appliance has been switched on.
- The compressor is activated until the set temperature inside the appliance has been reached.
In the case of combined fridge/freezers, which are supplied with two compressors, you need to make sure, that both temperature dials for the fridge compartment and for the freezer, have been set.
When setting the temperature for the freezer compartment, it is best to use a coin or a screwdriver.
Temperature settings:
Turn dial left to the lowest setting
= slight cooling
Turn dial right to the highest setting
= lowest temperature
The temperature must be set according to:
- the appliance’s room temperature
- quantity of stored food
- how often the appliance is opened
We recommend a medium setting. You will soon learn, through observation, which is the most suitable setting for your requirements.
Switching off: Turn the dial as far to the left as possible.
- The compressor has been switched off
Pilot lights
If your appliance is equipped with pilot lights, they indicate the following:
- green = CONTROL the appliance is connected to the electrical supply and is operating.
- yellow = the SUPER FREEZE SWITCH is on and the thermostat has been deactivated. The compressor continues to refrigerate until the SUPER FREEZER SWITCH is switched off again.
- red = ALARM the temperature in the freezer compartment is too warm i.e. has gone up.
The green pilot light – when present – must always remain on when the appliance is connected up to the electrical supply and is switched on. It is very important to pay attention to this because in the event of a power failure, the red and yellow pilot lights stop operating and no longer provide a warning.
If the red pilot light comes on there may be several reasons for this, namely:
- The freezer compartment is being started up for the first time
- It is being restarted after defrosting
- The freezer has been refilled with fresh food
In these cases, it is quite normal for the red pilot light to be on. It goes off automatically when the temperature inside reaches approximately – 18°C.
Switch on (if provided) the SUPER FREEZE SWITCH (switch off again no more than 24 hours later or when the red light goes off). If possible, do not open the freezer compartment until the red light has gone off.
If the red pilot light continues to remain on after 12 to 24 hours, there may be a serious problem.
In this case, consult the chapter:
„What to do when….” (Troubleshooting guide) at the end of this user manual.
Warning buzzer
If your appliance is equipped with a buzzer, it will sound when the red pilot light goes on. This will be automatically silenced when you switch on the SUPER FREEZE SWITCH.
Starting up the freezer
- Switch on the freezer by turning the temperature dial to the right (for the time being turn the dial fully to the right to the maximum position) (the green and red lights – if provided – go on)
- If equipped with a SUPER FREEZE SWITCH turn it on (the yellow light will also come on).
- Do not open the door of the freezer compartment for about 4 hours, or for as long as the red light is on, so that the temperature in the freezer can drop to the necessary level.
- You can now fill the freezer with any amount of frozen food (food which has been bought ready frozen). The SUPER FREEZE SWITCH should be switched off again after 24 hours at the latest.
- If you want to freeze fresh, unfrozen food, consult the chapter “Freezing / Storing fresh food”.
Warning!
- Do not store any bottled liquids in the Liquids expand when frozen and the bottle may explode.
- Never keep explosive substances or aerosol cans with inflammable propellants such as butane, propane, pentane, etc. in the Any escaping gases could be ignited by electrical components. Such aerosol cans can be recognized by the list of contents or by the inflammable symbols printed on the can itself.
- When storing ready frozen food, you must follow the manufacturer’s instructions on the food packaging.
- Deep frozen ice cream and ice lollies must not be eaten until a few minutes after being taken from the freezer to avoid injury to lips and tongue (danger of
- skin detachment). For the same reason, avoid touching the frozen inside walls of the freezer with wet hands.
- Defrosted or slightly frozen products should be used As a rule, such products are not suitable for re-freezing.
- Packaging should be dry to avoid things freezing together.
- Ready frozen foods should be stored so that they do not come into contact with newly added foods that have not yet frozen.
User instructions for the fridge
Relevant instructions can be found in one of the following chapters.
Freezing / Storing fresh food
Almost all fresh products are suitable for freezing and storing in the freezer.
For the most common of these products, a storage guide with details of acceptable storage times and the most suitable packaging is provided. (see “Food storage guide–at the back of this user manual).
Label fresh products clearly as they are not easy to identify when deep-frozen in transparent freezer bags.
We recommend using commercially available labels for frozen foods.
Pack fresh products in portions suitable for your needs to avoid defrosting quantities that are too big for you to use up in one day.
Label the portions with at least the following information:
- Product name (eg beef fillet)
- Weight of the Portion
- Quantity (number of pieces)
- Freezing date
- Use by date (see “Food storage guide’)
Then continue as follows:
a) Berries, fruits with peel. herbs etc. should be laid out loose for freezing on the freezing tray (not all models are supplied with this) in the upper part of the freezer and then put into freezer bags after about 12 hours. Store the filled freezer bags in one of the available drawers. Fresh food should be placed in the top drawer and moved down to one of the lower drawers after approx. 24 hours. Avoid putting fresh foods directly in contact with deep-frozen food. The deep-frozen food could defrost and may not last out the normal storage time.
b) Within a period of 24 hours fill up the freezer only with adequate quantities of fresh food for the freezing capacity of your freezer. Consult the information on the rating plate (XX kg/24h).
c) If your freezer is equipped with a SUPER FREEZE SWITCH, switch it on (the yellow light will come on) this is not strictly necessary when filling up with already frozen foods (e.g. deep-frozen foods).
WARNING! Switch off the SUPER FREEZE SWITCH after 24 hours at the latest (the yellow light will go off).
d) Set the temperature dial to a medium to high setting.
e) Keep the temperature in the freezing compartment under control preferably by placing a suitable thermometer with a scale range of up to -26°C. The storage temperature must always be at least – 18°C.
Refilling the freezer compartment with fresh (not frozen) food
Make sure that you wait at least 24 hours before refilling with fresh food, in adequate quantities for the freezing capacity of your freezer (XX kg/24h).
Maximum capacity
In order to ensure correct storage of frozen food, never fill the drawers up to the top.
Set the temperature dial strictly according to the filling capacity.
To save energy in normal room temperatures ( + 18°C to + 22°C) we recommend setting the temperature dial to a medium setting.
Storage time
The storage time for ready deep-frozen products depends on the type of product and on its ingredients. For this reason, you should strictly follow the producer’s instructions on the packaging.
When you want to freeze fresh foods yourself, consult the Storage table (Chapter 18).
Once frozen foods have been defrosted, they should be used up within between 12 to 24 hours.
Do not eat any food beyond its storage time, this could lead to food poisoning.
Refrigerating storage battery
(not supplied with all appliances)
Refrigerating storage batteries serve two functions:
- In the event of a power cut, the storage battery prevents the temperature inside the appliance from going up too much – this preserves the quality of the food for longer.
- Put storage batteries with the flat side in contact with the uppermost evaporation panel or in the top compartment.
- Storage batteries can also be used to keep foods cool in a cool box.
- Storage batteries reach their maximum refrigerating
- capacity after they have been in the freezer for about 24 hours at – 18° C or lower and are then placed in one of the cool boxes that are commercially available.
Precautions and advice
- Whenever cleaning or defrosting, remove the power plug or switch off the main fuse.
- After closing the freezer door, do not open it immediately and do not force it open under any circumstances. The vacuum created by the sealing of the door is dispersed after about 1 – 2 minutes so that the door can be opened normally again.
- To prevent condensation and ice forming, allow cooked food to cool down to room temperature before dosing the lid of the dish and before storage.
- Leave the freezer door open as briefly as possible to avoid wasting energy and to prevent an excessive amount of ice from forming in the freezer compartment.
- If the red pilot light comes on unexpectedly or stays on for a long period of do not open the door on any account and take appropriate measures immediately (see “What to do when ” at the back of the user manual).
- Never use a screwdriver or any other sham-edged metal tool to remove the layers of The inside walls are very delicate and can be easily damaged by sharp edges. Use only plastic or wooden scrapers with no sharp edges.
Cleaning and maintenance
As a firm rule, unplug the power plug or switch off at the mains.
For the upkeep of the external appearance of your fridge/freezer, dean the outside every now and again with furniture polish or with an enamel protecting product (never, on any account use it inside). Clean the door seal with warm water now and again but do not use any deaning products.
Clean your appliance regularly.
- The various parts inside the fridge/freezer are generally not suitable for dishwashers. These should be washed by hand with warm water and a little washing-up liquid.
Never use the deaning agent neat and on no account use any abrasive or acid. i.e. chemical cleaning products. A general all-purpose pH-neutral cleaning agent is recommended.
- The rating plate inside or outside your appliance should not be damaged and should never be removed – this is essential for Make sure when deaning, that no water runs onto any electrical parts inside the appliance.
- If there is a heat exchanger -called condenser- on the back of your fridge/freezer, this should be cleaned Dust and dirt impede the release of heat from the inside and considerably increase energy consumption. For best results. use a soft brush or a duster to remove dust from the condenser.
Special tip for cleaning the fridge
Clean the drain hole in the fridge from time to time, for example. cotton buds, in order to keep it clear.
Switching off the appliance
If your appliance is going to be switched off for longer periods (such as during holidays), it should be left open to prevent odors from building up inside. If your appliance has a lock. set the lock in the “closed* position with the doors open and keep the key well away from small children to prevent accidents.
Ice and frost layers which build up to a certain thickness on the inside walls, act as insulation and prevent the dispersion of the coldness. These must be removed from time to time. To remove the layers of ice from the inside walls, use a plastic or wood scraper with no sham edges.
When doing this. remove the drawers and lay a cloth on the bottom of the appliance to catch the ice as it is scraped off so that it can be easily removed.
The method least likely to damage your appliance when removing the layers of ice is to defrost it.
Defrosting (Not applicable for NO FROST devices)
In normal circumstances (opening the freezer 4 – 5 times a day) the freezer compartment should be defrosted once or twice a year (more often in other circumstances).
The fridge compartment is defrosted automatically.
Danger warnings
- Never use electrical appliances to defrost you’re such as a hairdryer, fan heater. dehumidifiers. de-icing sprays or anything with a naked flame (e.g. candles).
- The plastic inside of your appliance could melt and the escaping gas or foam could be ignited by sparks or by the naked flame.
On no account should a steam cleaning device be used to defrost the layers of ice in the appliance (great risk of an electric shock).
Proceed as follows to defrost your appliance:
- Provide a suitable non-metallic container (a plastic container or wash-basket).
- Make absolutely sure that you remove the plug from the power socket.
- Dry your hands thoroughly to prevent skin damage from contact with ice (it is advisable to use gloves).
- Remove all frozen food from the freezer and roll it firmly in newspaper place it in the container already prepared and place the container in a cool, dry
- Cover the container all around with a thick blanket.
- Remove the drawers by pulling them as far out as possible and then raising them
- As described previously, scrape the thickest ice carefully from inside the freezer and put it in the kitchen
- If your appliance is equipped with a drip duct at the bottom of the appliance, pull it out and place a bowl to catch the dripping water underneath
- If necessary. speed up defrosting by placing a large bowl of warm (not too hot) water on the bottom of the appliance and closing the door
- If your appliance is not equipped with a drip duct, place an absorbent cloth underneath the front of the appliance and wipe up the defrosting water with a
- Thoroughly dean the Wipe it out with warm water and a little vinegar and then rinse it out with clear water.
- Dry it thoroughly with a soft cloth and air it for 3-4 minutes.
- Close the door and plug the appliance back in.
- Reset the temperature dial to the maximum setting. (if your appliance is equipped with green and red pilot lights, these will come on) and if the SUPER FREEZE SWITCH is provided, switch it on (the yellow light will also come on).
- Now refill the drawers with the frozen food – the oldest items at the top. To prevent the frozen food from defrosting. carry out the steps described above within two hours at the most.
- When the red pilot light goes off, reset the temperature dial to a medium setting. If provided, switch off the SUPER FREEZE SWITCH after about 12, but no later than 24 hours (the yellow light will go off).
Using the fridge
Switch on /off and select the temperature Temperature dial (thermostat)
The temperature dial switches the appliance on and off and sets the cooling temperature.
Switch on:
Turn the temperature dial to the right. Your fridge has been switched on. The light in the fridge compartment comes on. The compressor runs until the set temperature has been reached.
Temperature settings:
Turn dial left to lowest setting = slight cooling
Turn dial right to highest setting = lowest temperature The temperature must be set according to:
- room temperature
- quantity of stored food
- how often the appliance is opened
We recommend a medium setting. You will soon learn, through observation, which is the most suitable setting for your requirements.
Switch off: Turn the dial as far to the left as possible.
- The light in the fridge compartment goes off.
- The compressor has been switched
Interior lighting (not available on all models)
For those models equipped with interior lighting, a switch has been built in.
When the fridge has been switched on at the temperature dial, the light automatically comes on when the fridge door is opened and automatically goes off when the door is dosed. The light bulb is protected by a transparent cover.
Changing the light bulb:
Replacing the light bulb:
Under no circumstances should you use a lamp with a wattage more than that specified on the original lamp.
- Unplug the fridge and switch off the main fuse.
- Remove the transparent lamp cover (as far as available).
- Remove the old bulb by unscrewing it and screwing in the replacement bulb.
- Fit the lamp cover back in place
LEO lights may only be replaced by a qualified specialist. There is generally no guarantee for Illuminants.
Temperature range
Thanks to the natural air circulation in the fridge compartment there is a range of different temperatures which is suitable for the storage of different food. The coldest areas are directly over the salad crispers, in the lowest part of the fridge and against the back wall (suitable e.g. for sausages and meats): the warmest areas are in the front upper part and on the door (suitable for spreadable butter and cheese).
Mange the food according to the following table and store it not too tightly packed so that the air can circulate freely.
Storing food in the fridge (from the top to the bottom) 1. Door storage compartments
1. Butter, cheese
a) Eggs
b) Small jars or bottles, tins, seasonings
c) Large bottles, tins
2. Fridge compartment (shelving glass plates)
a) Preserves
b) pastries, ready-cooked foods
c) Dairy produce/meats and sausages
d) Meats and sausages
e) Vegetables, fruits, salad
Advice
- Food that gives off, or absorbs, slight odor or taste, as well as liquids, should always be kept in sealed containers or in their own packaging; high proof spirits should be stored upright and tightly dosed.
- Vegetables, fruits, salad can be stored unpacked in the salad crispers.
- Plastic and aluminum foils, which can be reused, are suitable for packing food, as are metal or glass containers.
- Hot foods and drinks should always be allowed to cool down out of the
Switching the fridge off
If the fridge has to be switched off for a long period of time. the temperature dial should be set to „O” and the fridge cleaned as instructed above.
While the fridge is off, leave the doors open to prevent odors from building up.
Troubleshooting guide
High-quality manufacturing processes and the use of the latest refrigerating and freezing technology will basically ensure the trouble-free functioning of your appliance.
If you suspect any fault, before contacting your nearest service department directly or via your dealer, make sure you have followed all instructions and advice given in this user manual.
Please note:
The compressor (also known as the refrigerating motor) must not operate continuously.
It is controlled by a thermostat which you set on the temperature dial and switches on automatically when the set temperature in the appliance is exceeded and switches off automatically when it is reached again.
Noise can be heard in every compressor – refrigerating system when it is switched on. These noises are produced when the motor in the compressor is running and by the refrigerant flowing through the refrigerating system circuit. These noises are normal and do not indicate any fault in the functioning of your appliance.
In unheated rooms and in cold weather conditions. condensation can build up on the outer walls of the appliance.
This does not mean there is a fault and it will disappear when the temperature increases.
Only call the service department. if after analysis of the possible fault factors. you cannot find any cause for the defect or you are not able to eliminate the fault.
Therefore first check under: „
what to do when………
a) The appliance does not function (it’s not running).
Please check:
- Is the plugin in good order and is it plugged in the socket properly?
- Is the electricity coming through?
- (check this by possibly plugging in a small appliance such as a hand mixer or hairdryer).
- Is the appliance switched on? (Temperature dial should not be set to “0”).
Warning!
In the event of a fault or of a power failure, the insulation of the walls of the appliance provides 12 to 15 hours of storage time for the frozen foods after the beginning of such failures. Considerably more time is granted in specially insulated appliances. Ask your dealer what is relevant: ‘Storage time in an emergency.
If it takes longer to eliminate a problem, the frozen food in the appliance begins to defrost. Therefore. take prompt action to eliminate the problem and, if necessary. move the frozen food to another freezer (perhaps to a neighbor).
b) Your appliance is not cooling sufficiently. The freezing process is taking too long. The compressor is running too often.
Please check:
- Did you make sure that the fridge/freezer was left to stand for at least 2 hours before switching it on? (To stabilize the circulation of the refrigerating fluid) see: “starting up”.
If not; unplug your appliance and lift it to one side. with the door dosed. for a short while. i.e. tilt it and then place it back down on its feet again. After 2 hours plug it back in. Do not open the door again for about 12 hours (i.e. until the red light – if provided – has gone off). - The door does not dose tightly and is not sealing
- Test: place a sheet of paper between the seal and the casing and close the door. It should be difficult to pull out the sheet of paper on all sides.
- If the paper slides out easily on one or more sides, call your nearest service department.
- Heavy ice formation on the inside walls of the freezer compartment (seer cleaning and maintenance”.
- The appliance is exposed to direct sunlight or is sited near a direct heat source (oven, radiator, etc.).
- Protect the appliance against direct sunlight / check the distance from the heat source/place an insulation plate between the appliance and the source of heat (see ‘Choosing where to install your appliance”).
- The freezer has been filled up with a quantity of fresh food which does not comply with the freezing capacity indicated on the rating plate (XX kg 124h).
- Is the ventilation working properly, the ventilation grille covered or is the condenser on the outer rear wall full of dust?
c) Your appliance is excessively noisy.
Please check:
- Is the cabinet standing level and steady, are any nearby objects or items of furniture being vibrated by the cabinet? Make sure everything at the rear is free, carefully bend back any parts touching.
proof.
Note: slight bubbling noises are normal for this type of refrigeration system.
Warning
On no account should you undertake any technical interventions or attempts at repair on your appliance?
Getting your appliance serviced
Any repairs or interventions on the appliance should only be carried out by your nearest service department, as otherwise the user may run considerable risks and the guarantee may no longer be valid.
Consult the enclosed guarantee card or the separately endorsed list of after-sales centers. to see which company is responsible for servicing your appliance.
If there is no indication of the nearest service department in the documentation provided, then contact your dealer.
Repairs by the service department to eliminate faults that have occurred because of non-adherence to the information and advice given in this user manual. have to be charged to the customer and are not covered by your dealer’s guarantee.
In order to receive immediate help, make sure you have ready the following essential data to identify your appliance: Appliance type and model (see the rating plate)
- Date of purchase
- Name and place of your dealer
- Description of the fault
Guarantee
The general terms and duration of the guarantee are those stated on the guarantee card here enclosed or supplied by your dealer at the time of purchase. Your purchase receipt is important to the guaranteed proof.
Your purchase receipt is important to the guaranteed proof.
The manufacturer works constantly on the further development of all products. Please, therefore, bear this in mind as the form, set up and technology are subject to change, without prior notice.
Setting the temperature in the refrigerator compartment
- The knob in the fridge compartment is used to adjust the temperature of the fridge compartment.
- The internal temperature is controlled by a sensor. There are 4 settings: OFF, COLD, COLDER and COLDEST. COLD is the warmest setting and COLDEST is the coldest setting.
- The appliance may not operate at the correct temperature if it is in particularly hot or if you open the door often.
- Neither fridge nor freezer compartment works when the setting is OFF.

Setting the temperature in the freezer compartment
You can regulate the temperature of the freezer compartment with this slider in the refrigerator compartment (behind the vegetable tray).
By pushing the slider in the direction of Pos. 1, the temperature in the freezer becomes higher. In contrast, the temperature in the freezer compartment is lower when the slide is moved in the direction of Pos. 3.
The middle Pos. 2 is set during normal operation.

The above information gives the user a recommendation for temperature settings.
In winter or at temperatures below 16 ° C, the settings
and COLD should be avoided
For Energy saving, the
and COLDEST set only apply to special needs (such as quick-freezing or ice-making), and need turn back after special need
Position different food in different compartments according to be below the table
| Refrigerator compartments | Type of food |
| Tiir Ablagefacher | Foods with natural preservatives, such as jams, juices, drinks, condiments. Do not store perishable foods. |
| Crisper drawer (salad drawer) | Fruits, herbs and vegetables should be placed separately in the crisper bin. Do not store bananas, onions, potatoes, garlic in the refrigerator |
| Fridge shelf — middle | Dairy products, eggs |
| Fridge shelf — top | Foods that do not need cooking, such as ready-to-eat foods, deli meats, leftovers. |
| Freezer drawer(s)/shelf | Foods for long-term storage Bottom drawer/shelf for raw meat, poultry, fish. Middle drawer/shelf for frozen vegetables, chips Top drawer/shelf for ice cream, frozen fruit, frozen baked foods |
Storing frozen food
When first starting up or after a period out of use. Before putting the product in the compartment let the appliance run at least 2 hours on the higher settings.
Important! In the event of accidental defrosting, for example, the power has been off for longer time, the defrosted food must be consumed quickly or cooked immediately and then re-frozen (after cooked).
Thawing
Deep-frozen or frozen food, prior to be used, can be thawed in the freezer compartment or at room temperature, depending on the time available for this operation. Small pieces may even be cooked still frozen, directly from the freezer. In this case, cooking will take longer.
Disassemble the bottom drawer
- Pull out the bottom drawer to stopper position.
- Left up the front of the drawer.
- Pull out the bottom drawer.



Caution Before troubleshooting, disconnect the power supply. Only a qualified electrician of competent Person must do the troubleshooting that is not in this manual.
Important! There are some sounds during normal use (compressor, refrigerant circulation).
| Problem | Possible cause | Solution |
| The appliance does not work | The temperature regulation knob is set at the coldest | Set the knob at another switch on the appliance. |
| The mains plug is not plugged in or is loose | Insert mains | |
| Fuse has blown or is defective | Check fuse, replace if necessary | |
| Socket is defective | Mains malfunctions are to be corrected by an electrician | |
| Appliance freezes or cools too much | Temperature is set too cold or the appliance runs at coldest. | Turn the temperature regulator to a warmer setting temporarily. |
| The food is not frozen enough. | Temperature is not properly adjusted. | Please look in the initial Temperature Setting section. |
| The door was open for an extended period. | Open the door only as long as necessary. | |
| A large quantity of warm food was placed in the appliance within the last 24 hours. | Turn the temperature regulation to a colder setting temporarily | |
| The appliance is near a heat source. | Please look in the installation location section. | |
| Heavy build-up of frost on the door seal | The door seal is not air-tight. | Carefully warm the leaking sections of the door seal with a hairdryer (on a cool setting). At the same time shape the warmed door seal by hand such that it sits correctly. |
| Unusual noises | The appliance is not level. | Re-adjust the feet. |
| The appliance is touching the wall or other objects. | Move the appliance slightly. | |
| A component. e.g. a pipe, on the rear of the the appliance is touching another part of the appliance or the wall way. | If necessary, carefully bend the component out of the | |
| Water on the floor | The water drain hole is blocked. | See the Cleaning and Care section. |
| Side panels are hot. | It’s normal. Heat exchange parts are in the sides. | Take gloves to touch sides if needed. |
| If the malfunction shows again. contact the Service Center. These data are necessary to help you quickly and correctly. Write the necessary data here. refer to the rating plate. | ||
18 STORAGE TABLE
| Fresh food | Suitable packaging | For Freezer compartments approx. storage time in months | ||||||
| 2-3 | 4 | 6 | 8 | 10-12 | ||||
| Mincemeat | > | Polyethylene freezer bag | > | • | ||||
| Sausages | A | Polyethylene freezer bag | > | • | ||||
| Small fish | A | Polyethylene freezer bag | > | • | ||||
| Heart/liver | > | Polyethylene freezer bag | > | • | ||||
| Ice cream | A | Plastic container | > | • | ||||
| Fruit | A | Plastic container | > | • | ||||
| Cheese | A | Polyethylene freezer bag | • | |||||
| Bread | A | Polyethylene freezer bag | • | |||||
| Large fish | > | Polyethylene freezer bag | • | |||||
| Cake / biscuits | > | Glass container | • | |||||
| Pork | A | Aluminum foil | > | • | ||||
| Beef | A | Aluminum foil | > | • | ||||
| Rabbit | A | Aluminum foil | > | • | ||||
| Lamb | > | Aluminum foil | > | • | ||||
| Mushrooms | > | Polyethylene freezer bag | > | • | ||||
| Asparagus | > | Polyethylene freezer bag | > | • | ||||
| Vegetables (cut) | > | Polyethylene freezer bag | > | • | ||||
| Strawberries | A | Polyethylene freezer bag | > | • | ||||
| Flans | Al | Aluminium foil | Al | • | ||||
| Chicken | LAD | Aluminum foil | El | • | ||||
| Turkey | > | Aluminum foil | > | • | ||||
| Duck | A | Aluminum foil | > | • | ||||
| Goose | A | Aluminum foil | > | • | ||||
| Cauliflower | A | Polyethylene freezer bag | > | • | ||||
| Beans | A | Polyethylene freezer bag | > | • | ||||
| Pepperoni | A | Polyethylene freezer bag | > | • | ||||
| Preserves | > | Glass container | > | • | ||||
| Preserved fruit | > | Glass container | > | • | ||||
| Ice lollies | AI | Aluminum foil | AI | • |
WARRANTY CONDITIONS
The manufacturer does not take any responsibility for damage caused by the buyer.
This device has been manufactured and tested according to the latest methods. Irrespective of the sellers/dealers’ statutory warranty obligation, the manufacturer provides a 6-month warranty for faultless material and faultless production for a period of 24 months from the date of purchase. The warranty expires in case of intervention by the buyer or by third parties. Damage caused by improper handling or operation, by incorrect installation or storage, by improper connection, improper installation, as well as by force majeure or other external influences, are not covered by the guarantee. We reserve the right to repair or replace defective parts or to exchange the device in case of complaints. Only if repair (s) or replacement of the device, the intended use by the manufacturer should not be finally achieved, the buyer can demand warranty within six months, calculated from the date of purchase, reduction of the purchase price or cancellation of the purchase contract.
Claims for damages, including consequential damages, unless they are based on intent or gross negligence excluded.
In the case of unnecessary or unjustified use of the customer service, we charge the usual time and track charge for our service.
Complaints must be reported immediately after the detection of an error. The replacement of light bulbs by our customer service technician is not subject to the guarantee guidelines and is therefore subject to a charge. There is no guarantee for bulbs.
The warranty claim has to be proven by the buyer, by presenting the purchase receipt. The guarantee is valid within the Federal Republic of Germany.




















