SANWA GMAWTB40 Wireless Trackball Mouse

400-MAWTB40 | GMAWTB40
Opening
Thank you for purchasing this Wireless Trackball Mouse.
Caution
The company is not liable for any damages, such as live motion defects, data loss, etc., caused by using this product or software.
- This product is not guaranteed to be compatible all device.
- This product is intended for use in general workplaces and homes.
- The company does not assume responsibility in the event of damages caused by using in any other places.
- Refrain from using in environments where medical instruments and systems directly or indirectly related to human life are required, and where a high level of safety and responsibility is required
- Refrain from using directly or indirectly with equipment and computer systems in which a high level of safety and responsibility are required
- Do not use this product on airplanes as it may interfere with the airplane communication system.
- Please consult your doctor before using this product if you use a pacemaker or other medical device.
Warnings Regarding Health
Operating the mouse, trackball, and keyboard for long periods of time can lead to pain or numbness in hands, arms, neck, shoulders, etc. Serious damage may be incurred if such use is repeated. If you feel pain or numbness while operating the mouse or keyboard, stop using it immediately and consult a doctor if necessary. Take regular breaks from daily computer work to avoid strain on hands, arms, neck, shoulders, etc.
Specifications
| I n t e r f a c e | USB 3.2/3.1/3.0/2.0/1.1 | |
| Connector Shape | USB A | |
| Wireless System | 2.4GHz RF Radio wave system *The ID between the mouse and the receiver is fixed. | |
| Communication R a n g e | Wooden desk (nonmagnetic material) / approx. radius 10m, Steel desk (magnetic material) / approx. radius 2m | |
| Resolution | 600·800·1200·1600 DPI | |
| Reading method | Optical sensor system | |
| B u t t o n s | 2 buttons, wheel button (scroll), count switch button | |
| Size/Weight | Mouse: W107.9×D155.1×H6.1mm; approx.145g Receiver: W14.7×D19.1×H6.1mm; approx.2g | |
Compatible Models
Windows (DOS/V) PC
Apple Mac series
Chrome OS PC
*Models with a USB port (A-type connector).
Compatible OS
Windows10·8.1·8·7
macOS11、macOS10.12~10.15
Chrome OS
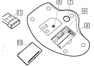
Name of Parts
- Left button / Right button
- Wheel button (scroll button)
- Count switch button
- Trackball
- LED
Check count status:
blinks 1 time: 600count/inch
blinks 2 times: 800count/inch
blinks 3 times: 1200count/inch
blinks 4 times: 1600count/inch
- Power switch
- Trackball removal hole
- Receiver storage slot
- Battery storage slot
- Battery cover
- Receiver

NOTE
This equipment has been tested and found to comply with the limits for a Class B digital device, pursuant to part 15 of the FCC Rules. These limits are designed to provide reasonable protection against harmful interference in a residential installation. This equipment generates uses and can radiate radio frequency energy and, if not installed and used in accordance with the instructions, may cause harmful interference to radio communications. However, there is no guarantee that interference will not occur in a particular installation. If this equipment does cause harmful interference to radio or television reception, which can be determined by turning the equipment off and on, the user is encouraged to try to correct the interference by one or more of the following measures:
- Reorient or relocate the receiving antenna.
- Increase the separation between the equipment and receiver.
- Connect the equipment into an outlet on a circuit different from that to which the receiver is connected.
- Consult the dealer or an experienced radio/TV technician for help
Changes or modifications not expressly approved by the party responsible for compliance could void the user’s authority to operate the equipment.
This device complies with Part 15 of the FCC Rules. Operation is subject to the following two conditions:
(1) this device may not cause harmful interference, and (2) this device must accept any interference received, including interference that may cause undesired operation.






















