

UVS4
USER MANUAL
KEEP THIS MANUAL FOR FUTURE NEEDS
Thank you for purchasing a GOLDEN SEA UV product. You have acquired a powerful and versatile device. We are confident that you will be satisfied with our excellent products and service. For your own safety, please read this user manual carefully before installing and operating the device.
Voltage Input: AC 100-120V~, 50/60Hz; AC 220-240V~, 50/60Hz Power: 7W; Product Size: 232x95x95mm
This device is for household use, applications such as kitchen, bedroom, study, living room, etc. It shall only be used by adults who are capable of operating this device by following this user manual and keeping children, pets, and plants away from the disinfection area before operating.
IMPORTANT SAFEGUARDS
When using electrical equipment, basic safety precautions should always be followed including the following:
READ AND FOLLOW ALL SAFETY INSTRUCTIONS
a) This equipment is designed for use with germicidal UV radiation sources and UV radiation can pose a risk of personal injury. Overexposure can result in damage to the eyes and
bare skin. To reduce the risk of overexposure, the operator must wear protective clothing and UV glasses when operating, and make sure the disinfection area is safeguarded during the entire disinfection process.
b) Maintenance and servicing of this UV generating equipment shall be performed by a professional person. Service personnel must wear appropriate Personal Protective Equipment (PPE) if the equipment will be in operation during the maintenance or servicing work. Contact the equipment manufacturer for PPE recommendations and guidance.
c) When replacing lamps, replace them only with the lamps for which the equipment is marked and intended.
d) The use of accessories not recommended by the manufacturer may cause an unsafe condition.
e) Do not use this equipment other than intended use.
f) People, pets, and plants should leave the areas when using the disinfection light.
g) It should be stored well to avoid accidental damage to the sterilizer and personal injury after the sterilization is finished.
Manual Operation (control panel)
- Close all the doors and windows.
- Plugin and power on, unlock the product by long-pressing the Start touch key
and the Lock touch key
on the device for 3 seconds until there is a beep. - Select time setting <15 mins>, <30 mins> or <60 mins> by the Time Setting touch key, the touch key indicator light turns on.
- Press the Start touch key, the audible alarm starts beeping regularly for 30 seconds. The UV lamp will turn on after the 30 seconds delay when disinfection time is set.
- Once the disinfection process ends, the touch key indicator light turns off, and an audible alarm sounds. Open the doors and windows to ventilate the disinfected area.

Warning:
Don’t look at the disinfection light directly. People, pets, and plants should leave the area when using the disinfection light. Ventilate for 30-40 minutes after work.
Remote Control Operation
- Close all the doors and windows.
- Plugin and power on, unlock the product by long-pressing the Start button
on the remote control and the Lock touch key
on the device for 3 seconds until there is a beep. - Select time setting <15 mins>, <30 mins> or <60 mins> by the Time Setting button on the remote control, the touch key indicator light on the device turns on.
- Press the Start button, the audible alarm starts beeping regularly for 30 seconds. The UV lamp will turn on after the 30 seconds delay when disinfection time is set.
- Once the disinfection process ends, the touch key indicator light on the device turns off, and an audible alarm sounds. Open the doors and windows to ventilate the disinfected area.
Note: if the remote control loses pairing with the device, re-do the pairing by pressing the Start button on the remote control and switching on (plug-in) the device for 5 seconds. One remote control can be matched with multiple units of the same model.

Motion Sensor Operation (if the lamp with Motion Sensor)
- Turn on the UV lamp, select the disinfection time and start, leave the room, after 30 seconds alarming (Di….Di…Di….), the UV lamps will switch on automatically, the
the motion sensor will be activated. - The Motion sensor can ‘see’ through non-metal materials, such as wood board, plastic, fabrics, etc. But the concrete will influence the motion sensor, and the metal board even can stop the detecting ability. So, when the UV Lamps are working, it will turn off when it detects that someone or something moving around within its detecting range even outside the rooms, and it will turn on again when someone or something is left. (detecting range: 3m in an open area without any of the above influence factors)
Note: for safety reasons, the UV lamp does not work if the motion sensor is defective.
Fall Protection Auto Power Off
- When a working device detects a movement of more than 45°, it will automatically power off, thus preventing heat damage to surrounding objects, should the device fall
over by accident or misuse.
- To make it work again after auto power off, put the device back to the normal upright position, make sure the power plug is still well-connected to the power socket, re-start the operation again from the beginning.
Notes
- Put the UV lamp at a height of 0cm-400cm to get the best disinfection effect. Please do not put the lamp higher than 400cm, as the Motion Sensor cannot detect perfectly.
- The surface of the lamp should be kept clean.
- When disinfecting the surface of an object with ultraviolet rays, the surface to be irradiated should be directly irradiated within 1 meter of ultraviolet rays, otherwise, it’s necessary to increase the irradiation time.
- The lamp is fragile. Please handle it with care.
- According to the latest guideline on the diagnosis and treatment released by the National Health Commission, the virus is sensitive to ultraviolet (UV) light and heat, so UV radiation is a quick and effective way of disinfecting rooms against germs and viruses.
According to the guideline, indoor spaces should be disinfected with UV light with an intensity of over 1.5 watts per square meter. A UV lamp can disinfect objects within one
meter for at least half an hour. Longer exposure to radiation is needed when the temperature indoors is below 20°C or above 45°C and relative humidity is over 60%. A room should be ventilated after UV disinfection, and people are suggested to enter the room half an hour later.
Suggestion For Disinfection Time
| Area | Power | Disinfection Time |
| 0.55m2 | 7W | 15min |
| 1m2 | 7W | 30min |
| 2m2 | 7W | 60min |
Warnings
The UV-C wavelength is 253.7nm, the radiation intensity in 200mm distance is 205.83 UW/cm².
CAUTION: TO REDUCE THE RISK OF FIRE USE ONLY _ TUV 4W FAM/10X25BOX _ LAMPS ATTENTION – RISQUE D’INCENDIE TILISER NIQUEMENT LES LAMPES _ TUV 4W FAM/10X25BOX
Suitable for damp locations
CONVIENT AUX EMPLACEMENTS HUMIDES
WARNING – RISK OF PERSONAL INJURY THIS EQUIPMENT IS DESIGNED FOR USE WITH GERMICIDAL LAMPS OR UV SOURCES AND MUST BE INSTALLED AND USED IN COMPLIANCE WITH COMPETENT TECHNICAL DIRECTIONS TO PREVENT THE USER’S EYE AND BARE SKIN FROM EXPOSURE TO HARMFUL UV OR OPTICAL RADIATION.PEOPLE, PETS, AND PLANTS SHOULD LEAVE THE AREAS WHEN USING THE DISINFECTION LIGHT. EYE DAMAGE MAY RESULT FROM DIRECTLY VIEWING THE LIGHT PRODUCED BY THE LAMP IN THIS EQUIPMENT. ALWAYS TURN OFF THE LAMP BEFORE SERVICING.
UV-C RISK GROUP 3
WARNING: UV-C emitted from this product. Avoid eye and skin exposure to unshielded products. Follow installation instructions and user manual.
WARNING-POSSIBLE RISK OF INJURY TO EYES AND SKIN
- Hazardous optical radiation may be emitted from the light source. Do not stare at the operating lamp. May be harmful to the eyes.
- UV may be emitted from the light source. Eye or skin irritation may result from exposure. Use appropriate shielding.
- IR may be emitted from the light source. Do not stare at the operating lamp.
SAVE THESE INSTRUCTIONS
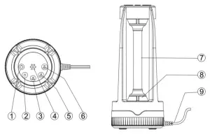
Product Overview
- Start – touch key
- Lock – touch key
- 15 mins – touch key
- Buzzer
- 30 mins – touch key
- 60 mins – touch key
- UV Tube
- Lamp Tube Holder
- Power Cable

Dimensional Drawings

Replacing The UV Tube
To maintain the sterilizing efficacy, the UV tube needs to be replaced after 6,000 hours of use.

Steps:
- Wait for the UV tube to cool down (to avoid scalding) after switching off the device.
- Holding the UV tube and turn it 90°anti clockwise (or clockwise) ① as shown and take it out ② from its holder.
Note: please follow your local toxic and hazardous waste regulations for lamp disposal - Insert the new UV tube into the holder and turn the UV tube 90° anti-clockwise (or clockwise) until it fits into place correctly and tightly.
Note: direct contact with the new UV tube should be avoided as grease from your skin may reduce the efficiency of the UV tube. It is advised to wear protective gloves when handling a new UV tube. - The device is now ready for use.
Troubleshooting Tips
11.1 What to do if the device doesn’t work?
- Ensure the device is plugged into a working wall socket.
- Ensure the plug is wired correctly and the terminal is well-connected.
- If you still have issues with the device, please contact your local dealer or our customer service for assistance.
11.2 How often should the UV tube be replaced?
- The UV tube is the core of the product, it should be replaced after 6000 hours of use to maintain the germicidal efficacy.
- The UV tube defects if it flashes, please contact your local dealer or our customer service to order a new UV tube. For replacing the UV tube, please refer to the instructions in this user manual.
- After use for a period of time, it is normal to find some black spots on both sides of the UV tube.
11.3 The Audio alarm signal for this product:
| Status | Audio Alarm |
| Standby | – |
| Delayed Start | Beeping for 30 seconds regularly (frequency increase in the countdown 10 seconds) |
| Lamp Strike | UV Lamp on after 15 seconds when the beeping stops |
| Emitting (working) | Single beep |
| Motion Detected | Dual beeps every 10 seconds |
| End of Cycle | Triple beeps every 10 seconds (in 30 seconds) |
| Fall Protection | Quadruple beeps every 10 seconds |
Features
Light Source
- Lamp:
TUV 4W FAM/10X25BOX (PHILIPS) or HNS 4W G5(G4T5/OF)PURITEC UV-C Germicidal Low-Pressure Lamp (OSRAM) - Extremely long life: up to 6,000 H
Features
- Delayed start (30 seconds delayed start)
- Motion sensor
- Audio alarm
- Visual indicator lights(under touch keys)
- 3 disinfection time settings
- Control panel with touch keys
- Through wall remote control
- Fall protection mode
- UVC wavelength: 253.7nm
- Radiation intensity in 200mm distance: 205.83uw/cm²
Product Type
Household Ultraviolet disinfection light
Weight
Net weight: 0.34 kg
Accessories List:
| UV Tube | Included | |
| UV bag | Included | |
| Remote Control (battery type: CR2025) | Included | |
| UV Glasses (protective eyewear) | Optional | |
| UV Irradiance Meter | | Optional |
Cleaning and Maintenance
- To ensure the device remains in good condition and does not fail prematurely, regular maintenance, cleaning, and checks are required.
- For cleaning the device, please use a lint-free cloth.
- To avoid damage to the device, never use detergent or solvents.
- Never spray insecticide towards the device, it can discolor or damage.
- Should you need any spare parts, please order genuine parts from your local dealer.
Service
For all service needs, please contact your local authorized dealer or GOLDEN SEA customer service. Our contact details are:
Email: [email protected]
Tel: +86 20 3996 6388
Address: No.109 Haiyong Road, Shiji Town, Panyu Zone, Guangzhou, China. 511450
Errors and omissions for all information given in this user manual are expected.
All information is subject to change without prior notice.
www.goldenseauv.com





















