
INTELLIGENT BY DESIGN®
EZ-Topper™ Short, Twin
MODEL: EZT
WITH SPOUT HEATER:
85920 COMPLETE
85713 WARMER BASE
85843 CUSTOM
WITHOUT SPOUT HEATER:
85930 COMPLETE
85714 WARMER BASE

Used with 48 fl oz pouches with 16mm center fitments.

Thank You
…for your purchase. This pouched topping warmer virtually eliminates product degradation and waste, so you can reduce food costs while delivering a superior product.
SIMPLIFY TOPPING MANAGEMENT—GO POUCHED
PARTS
KNOBS ON CUSTOM UNITS MAY VARY

SAFETY

WARNING-
ELECTRICAL SHOCK COULD OCCUR
This unit must be earthed or grounded.
This requires all three prongs (terminals) on the cord plug to be plugged into a power source.

According to food and safety regulations, most foods must be stored and/or served at certain temperatures or they could become hazardous. Check with local food and safety regulators for specific guidelines.
Be aware of the product you are serving and the temperature the product is required to maintain. Server Products, Inc. can not be responsible for the serving of potentially hazardous products.
UNIT SETUP
WASH ALL PARTS PROPERLY BEFORE EVERY USE.
SEE SEPARATE PUMP MANUAL FOR PUMP SETUP.
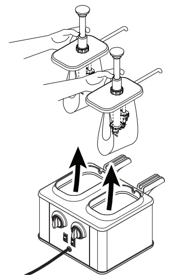
- ATTACH EACH PUMP TO EACH POUCH
• Place pouch on the countertop with pouch fitment circle facing upward.
• Position pump connector directly over the center of pouch fitment.
• Press pump connector down to pierce through film in pouch fitment.
- INSTALL PUMPS WITH POUCHES INTO BASE

- PLUG CORD into a power source.
- PRESS SWITCH to the “ON” position.
- SET THERMOSTAT KNOBS to food manufacturer’s recommended serving temperature(s).
• Dial indicators use increments of 5º F.
• Thermostat maximum is 210º F/99º C.
UNIT TAKE-DOWN
- PRESS SWITCH to the “OFF” position.
- UNPLUG CORD

CAUTION- HOT
Allow unit to cool before continuing or use proper care with hot surfaces. - REMOVE PUMPS WITH POUCHES

- DETACH POUCHES from the bottom of the pumps.
- FLUSH AND RINSE PUMPS Thoroughly rinse all inside and outside surfaces of pumps with hot water.
- DISASSEMBLE AND CLEAN PUMPS.
SEE SEPARATE PUMP MANUAL FOR PUMP CLEANING.
CLEANING 

SEE SEPARATE PUMP MANUAL FOR PUMP INSTRUCTIONS.
WARNING- ELECTRICAL SHOCK COULD OCCUR
- Electrical components of the unit could be damaged from water exposure or any liquid.
- Never immerse the unit in water or any liquid.
- Never use any water jet or pressure sprayer on the unit.
- Ensure the unit is “OFF” and unplugged.
CAUTION- HOT
Allow unit to cool before cleaning.
CLEAN EXTERNAL SURFACES
- Wipe daily with a clean damp cloth.
- Dry with a clean soft cloth.
- Glass and surface cleaners approved for use in food contact areas may be used.
CARE OF STAINLESS STEEL
This warmer and accessories are constructed of stainless steel— one of the best materials for food serving and storage.
If you notice corrosion beginning on any stainless steel surface, you may need to change the cleansing agent, sanitizing agent, or the cleaning procedures you are using.
- A mildly abrasive nylon or brass brush may be used to remove any stubborn food or mineral deposits on the interior surfaces of the unit.
- Fully rinsing and drying all parts can help prevent corrosion. Elements and minerals in tap water can accumulate on stainless steel parts and create corrosion.
- Do not use abrasive, caustic, or ammonia-based cleansers.
- Do not use products containing acids, alkalines, chlorine, or salt. These agents can corrode stainless steel.
- Do not use metal scrapers or cleaning pads that could scratch surfaces.
WIRING
UNITS 85713, 85714, 85843 | 120V | USA

- Cord Assembly
- Bushing/Strain Relief
- Snap-In Rocker Switch
- 6″ Wire Assembly, Black
- Thermostat
- Heating Element
- 6″ Wire Assembly, Green
- 18″ Wire Assembly, Green
TROUBLESHOOTING
UNIT DOES NOT HEAT?
- Ensure the cord is securely plugged in.
- Ensure the unit is on.
- Ensure the thermostat knob is set correctly.
- Ensure power is available from the source.
- Do not allow any of the electrical components to get wet. Moisture may cause the unit to trip breaker or GCFI. If moisture is suspected, discontinue use. Allow unit to fully air dry.
POUCH DOES NOT EVACUATE ALL PRODUCTS?
- Ensure that the pouch is properly connected with the pump.
SERVER PRODUCTS LIMITED WARRANTY

Server Products equipment is backed by a two-year limited warranty against defects in materials and workmanship.
For complete warranty information go to: www.Server-Products.com
GENERAL SERVICE, REPAIR, OR RETURNS
Before sending any item to Server Products for service, repair, or return, contact Server Products customer service to request a Return Authorization NuJve of the OEM (original equipment manufacturer) or a qualified technician may replace the cord. The cord must meet code designation H05 RN-F requirements.
NEED HELP?
Server Products Inc.
3601 Pleasant Hill Road
Richfield, WI 53076 USA
262.628.5600 | 800.558.8722
[email protected]
Please be prepared with your Model, Part, and Series Numbers. This information and other important data are located on the lid and/or base of the unit.
Manual #01777-RevD 101921

























