TRANE Technologies BAYECON300 Downflow Dry Bulb Economizer
SAFETY WARNING
Only qualified personnel should install and service the equipment. The installation, starting up, and servicing of heating, ventilating, and air-conditioning equipment can be hazardous and requires specific knowledge and training. Improperly installed, adjusted or altered equipment by an unqualified person could result in death or serious injury. When working on the equipment, observe all precautions in the literature and on the tags, stickers, and labels that are attached to the equipment.
Introduction
Read this manual thoroughly before operating or servicing this unit.
Warnings, Cautions, and Notices
Safety advisories appear throughout this manual as required. Your personal safety and the proper operation of this machine depend upon the strict observance of these precautions.
The three types of advisories are defined as follows:
- WARNING Indicates a potentially hazardous situation that, if not avoided, could result in death or serious injury.
- CAUTIONs Indicate a potentially hazardous situation that, if not avoided, could result in minor or moderate injury. It could also be used to alert against unsafe practices.
- NOTICE Indicates a situation that could result in equipment or property damage only accidents.
Important Environmental Concerns
Scientific research has shown that certain man-made chemicals can affect the earth’s naturally occurring stratospheric ozone layer when released to the atmosphere. In particular, several of the identified chemicals that may affect the ozone layer are refrigerants that contain Chlorine, Fluorine and Carbon (CFCs) and those containing Hydrogen, Chlorine, Fluorine and Carbon (HCFCs). Not all refrigerants containing these compounds have the same potential impact to the environment. Trane advocates the responsible handling of all refrigerants-including industry replacements for CFCs and HCFCs such as saturated or unsaturated HFCs and HCFCs.
Important Responsible Refrigerant Practices
Trane believes that responsible refrigerant practices are important to the environment, our customers, and the air conditioning industry. All technicians who handle refrigerants must be certified according to local rules. For the USA, the Federal Clean Air Act (Section 608) sets forth the requirements for handling, reclaiming, recovering and recycling of certain refrigerants and the equipment that is used in these service procedures. In addition, some states or municipalities may have additional requirements that must also be adhered to for responsible management of refrigerants. Know the applicable laws and follow them.
WARNING
Proper Field Wiring and Grounding are Required!
Failure to follow the code could result in death or serious injury. All field wiring MUST be performed by qualified personnel. Improperly installed and grounded field wiring poses FIRE and ELECTROCUTION hazards. To avoid these hazards, you MUST follow requirements for field wiring installation and grounding as described in NEC and your local/state/national electrical codes.
WARNING
Personal Protective Equipment (PPE) is Required!
Failure to wear proper PPE for the job being undertaken could result in death or serious injury. Technicians, in order to protect themselves from potential electrical, mechanical, and chemical hazards, MUST follow precautions in this manual and on the tags, stickers, and labels, as well as the instructions below:
- Before installing/servicing this unit, technicians MUST put on all PPE required for the work being undertaken (Examples; cut-resistant gloves/sleeves, butyl gloves, safety glasses, hard hat/bump cap, fall protection, electrical PPE, and arc flash clothing). ALWAYS refer to appropriate Safety Data Sheets
(SDS) and OSHA guidelines for proper PPE. - When working with or around hazardous chemicals, ALWAYS refer to the appropriate SDS and OSHA/GHS (Global Harmonized System of Classification and Labeling of Chemicals) guidelines for information on allowable personal exposure levels, proper respiratory protection, and handling instructions.
- If there is a risk of energized electrical contact, arc, or flash, technicians MUST put on all PPE in accordance with OSHA, NFPA 70E, or other country-specific requirements for arc flash protection, PRIOR to servicing the unit.
- NEVER PERFORM ANY SWITCHING, DISCONNECTING, OR VOLTAGE TESTING WITHOUT PROPER ELECTRICAL PPE AND ARC FLASH CLOTHING. ENSURE ELECTRICAL METERS AND EQUIPMENT ARE PROPERLY RATED FOR THE INTENDED VOLTAGE.
WARNING
Follow EHS Policies!
- Failure to follow the instructions below could result in death or serious injury.
- All Trane personnel must follow the company’s Environmental, Health and Safety (EHS) policies when performing work such as hot work, electrical, fall protection, lockout/tagout, refrigerant handling, etc. Where local regulations are more stringent than these policies, those regulations supersede these policies.
- Non-Trane personnel should always follow local regulations.
Copyright
- This document and the information in it are the property of Trane, and may not be used or reproduced in whole or in part without written permission. Trane reserves the right to revise this publication at any time, and to make changes to its content without obligation to notify any person of such revision or change.
Trademarks
- All trademarks referenced in this document are the trademarks of their respective owners.
Revision History
- Model number updates in Used With information.
- Actuator updates in General information and Installation chapters.
General Information
Inspection
- Unpack all components of the kit.
- Check carefully for shipping damage. If any damage is found, report it immediately, and file a claim against the transportation company.
- Visually inspect the components for shipping damage as soon as possible after delivery, before it is stored. Concealed damage must be reported within 15 days.
- If the concealed damage is discovered, stop unpacking the shipment.
- Do not remove damaged material from the receiving location. Take photos of the damage, if possible. The owner must provide reasonable evidence that the damage did not occur after delivery.
- Notify the carrier’s terminal of the damage immediately by phone and by mail. Request an immediate joint inspection of the damage by the carrier and the consignee.
Note: Do not attempt to repair any damaged parts until the parts are inspected by the carrier’s representative.
Parts List
Field Installed Option
Table 1. Major economizer component parts list
| Item | Description | Qty |
| 1 | Outside air damper assembly | 1 |
| 2 | Connecting rod assembly (Carrier configuration) | 1 |
| 3 | Return air damper assembly | 1 |
| 4 | Connecting rod assembly (Trane option | 1 |
| 5 | Block-off | 1 |
| 6 | Plastic bag of miscellaneous parts: | 1 |
| Screws | ||
| Outdoor Air Temperature sensor | 1 | |
| Edge protector | 2 | |
| Installation and operation manual | 1 | |
| Rubber grommet | 1 |
Note: Verify that all of the parts are available for installation.
Factory Installed Option
Table 2. Factory-installed component parts list
| Qty | Description |
| 1 | Block-off |
| 1 | The plastic bag containing screws |
Field Supplied Part
NOTICE Corrosion Damage! Use of non-recommended caulking/sealant could cause corrosion-related failures to refrigeration components.
Table 3. Field-supplied parts list
| Qty | Description |
| 1 | Tube Sealant – Trane recommends Sikaflex 221 (SEL00439) |
Note: Do not adjust the damper blade manually. If required, decouple actuator and shaft connection before manual adjustments of damper blade. Confirm the coupler properly engaged after installation and service. Refer to Figure 2.
Installation
WARNING
Hazardous Service Procedures! Failure to follow all precautions in this manual and on the tags, stickers, and labels could result in death or serious injury.
Technicians, in order to protect themselves from potential electrical, mechanical, and chemical hazards, MUST follow precautions in this manual and on the tags, stickers, and labels, as well as the following instructions: Unless specified otherwise, disconnect all electrical power including remote disconnect and discharge all energy storing devices such as capacitors before servicing. Follow proper lockout/tagout procedures to ensure the power can not be inadvertently energized.When necessary to work with live electrical components, have a qualified licensed electrician or other individual who has been trained in handling live electrical components perform these tasks.
Important:
- If the unit is in a Trane airflow configuration, proceed to “Trane Configuration,” p. 7.
- If the unit is in a Carrier airflow configuration, proceed to “Carrier Configuration,” p. 8.
Field Installed Option
WARNING
Hazardous Voltage with Capacitors! Failure to disconnect power and discharge capacitors before servicing could result in death or serious injury. Disconnect all electric power, including remote disconnects and discharge all motor start/run capacitors before servicing. Follow proper lockout/ tagout procedures to ensure the power cannot be inadvertently energized. Verify with a CAT III or IV voltmeter rated per NFPA 70E that all capacitors have discharged.
Trane Configuration
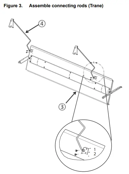
- Assemble connecting rods (4) to return air damper (3) by aligning holes (1) and (2), and attach rods using two screws. See Figure 3. See Figure 1 for part identification.

- 2. Remove the filter/fan compartment access panel and the unit end panel (evaporator end). See Figure 4. Figure 4. Remove panels

- Place the return air damper assembly into the return air opening as illustrated in Figure 5. Ensure the damper is positioned with the sheet metal lip in the upward position.
- Attach the pivotal brackets to the unit using two screws per bracket.
- Raise the damper and rods into the vertical position. Tie the connecting rods to the filter rack to prevent them from interfering with the economizer. See Figure 5.
- Ensure damper is positioned with sheet metal lip in the upward position as illustrated in Figure 5.

Carrier Configuration
- Assemble connecting rods (2) to return air damper (3) by aligning holes 2 and 3, and attach rods using two screws on each side. See Figure 6.

- Remove the filter/fan compartment access panel and the unit end panel (evaporator end). See Figure 4.
- Place the return air damper assembly into the return air opening as illustrated in Figure 7. Ensure the damper is positioned with the sheet metal lip in the upward position.
- Attach the pivotal brackets to the unit using two screws per bracket.
- Raise the damper and rods into the vertical position. Tie the connecting rods to the filter rack to prevent them from interfering with the economizer, as illustrated in Figure 7.
- Ensure damper is positioned with sheet metal lip in the upward position, as illustrated in Figure 7.

Applicable to both Trane and Carrier Configurations
Note: Before proceeding, confirm the previous Trane or Carrier step.
- 1. Attach block-off (5) to the unit using four screws shown in Figure 8.
The block-off is designed to close the opening created between the economizer and the base when the economizer assembly is installed in the operating position.
- Remove approximately 3-inch of gasket material from the bottom of each corner post to expose the holes used to attach the economizer assembly to the unit shown in Figure 9, detail A
Note: There are two holes, a (large) clearance hole, and a (small) engagement hole. Their function will be discussed later.
- Place the economizer assembly into the opening with the back right flange, on the economizer, behind the corner post flange. See Figure 10.

- Position the left side flange on the economizer in front of the corner post flange.
- With the screws provided, secure the bottom right hand side of the economizer assembly by inserting the screws through the clearance holes in the corner post and into the engagement holes in the economizer assembly. Refer to Figure 10.
- Secure the bottom left hand side of the economizer assembly by inserting the screws through the clearance holes in the economizer assembly and into the engagement holes of the corner post. Refer to Figure 10.
- Secure economizer using five screws on left side and five screws on right side. See Figure 10.
- Attach connecting rod bracket to outdoor damper blade using two screws on each side. See Figure 11, detail B.
- Decouple connection between actuator and shaft to avoid back driving of actuator and check for binding by slowly operating the dampers by hand. See Figure 2. Confirm coupler is assembled after installation.

- Insert the rubber grommet into the hole on sensor bracket. See Figure 12
- Insert mixed air sensor through the grommet, approximately half inch, with the end pointing toward the coil.
- Locate and connect wires 121A and 122A to Mixed Air sensor. See Figure 12.

- Attach the end panel back to the unit and seal along indicated areas in Figure 13 with field-supplied silicone sealant.

Factory Installed Option (Field Set-Up)
WARNING
Hazardous Voltage with Capacitors! Failure to disconnect power and discharge capacitors before servicing could result in death or serious injury. Disconnect all electric power, including remote disconnects and discharge all motor start/run capacitors before servicing. Follow proper lockout/Tagout procedures to ensure the power cannot be inadvertently energized. Verify with a CAT III or IV voltmeter rated per NFPA 70E that all capacitors have discharged. Each economizer ships inside the unit and requires partial assembling and setup in the field.
Trane Configuration
- Remove the filter/fan compartment access panel.
- Remove the lower screws and block off the angle in the end panel. See Figure 14. Lay block-off angle aside for later installation.

- Do not remove the screws in the upper row of the end panel.
- Grasp the bottom of the end panel and pull the economizer assembly outward into the operating position. See Figure 14.
- Remove approximately 3-inch of gasket material from the bottom of each corner post to expose the holes used to attach the economizer assembly to the unit.
See Figure 15. - With the screws provided, secure each side of the economizer assembly by inserting a screw through the clearance hole in the bottom of the corner post and into the engagement hole in the economizer assembly.See Figure 15.

- Install the block-off angle underneath the economizer. See Figure 16. The block-off angle is designed to close the opening created between the economizer and the base when the economizer assembly is in its operating position.
a. Holding the block-off angle with the holes at the bottom and the bottom angle outward, tilt the top forward, and insert it into the opening between the economizer and the unit base.
b. Press the bottom of the block-off angle against the unit and line up the holes. Using the provided screws, secure it into place.
Carrier Configuration
- Remove filter and rear access panel.
- Remove the return duct cover (7) from the Carrier return air opening. See Figure 17.

- Remove block-off (8) from the return air opening. See Figure 18.

- Remove Trane connecting rods (4) from the unit. See Figure 19.

- Switch return air damper assembly (3) from the Trane position to the Carrier position and secure with screws on both ends. See Figure 20.

- Attach connecting rods (2) to return air damper and outdoor damper. See Figure 21.

- Attach return duct cover (7) to Trane return air inlet. See Figure 22.

- If barometric or power exhaust is not installed, attach block-off plate (8) to Carrier return air inlet.See Figure 23.

- If barometric or power exhaust is not installed, attach block-off plate (8) to Carrier return air inlet.See Figure 23.
- Attach Filter and Rear access panels.
Mist Eliminator Servicing
- Remove screws from end panel securing it to the unit and economizer.
- Set end panel aside.
- Remove mist eliminator brackets.
- Remove mist eliminators and clean.
- Reinstall and secure the mist eliminator brackets.
- Reinstall end panel and secure to unit and economizer.

Minimum Position Setting
To adjust the minimum position setting and check out the economizer, the power must be connected.
- Close the unit disconnect and place the zone sensor fan selector in the fan ON position and the heat/cool selector in the OFF position. This will place the damper in the minimum ventilation position.
- To adjust the minimum position setting for the required ventilation air, turn the potentiometer (on the ECA) clockwise to open (to increase the amount of ventilation) or counterclockwise to close (to decrease the amount of ventilation). The damper will open to this setting each time the blower circuit is energized.
When adjusting minimum position, the damper may move to the new setting in several small steps. Once the damper has remained in position for 10 to 15 seconds without movement, it can be assumed it is at the new position. - Replace the filter access panel.
The damper will close when the blower circuit is de-energized.
Dry Bulb Settings
Standard economizer dry bulb changeover is field selectable to five outdoor temperatures. See Table 4 for potentiometer settings.The selection is made on the ECA.
Reference Enthalpy Settings
Economizer enthalpy changeover is field selectable to five points. See Table 4 for potentiometer settings. The selection is made on the ECA.
Table 4. Potentiometer settings
| Potentiometer Setting | Dry Bulb | Enthalpy |
| A | 73ºF (22.8ºC) | 27 Btu/lb (63 kJ/kg) |
| B | 70ºF (21.1ºC) | 25 Btu/lb (58 kJ/kg) |
| C(a) | 67ºF (19.4ºC) | 23 Btu/lb (53 kJ/kg) |
| D | 63ºF (17.2ºC) | 22 Btu/lb (51 kJ/kg) |
| E | 55ºF (12.8ºC) | 19 Btu/lb (44 KJ/Kg) |
a) Factory
Table 5.Economizer control options
| Control Option | Enable Conditions(a) | Optional Sensors Required(b) |
| Dry Bulb (standard) | See Table 4 | Outdoor Air Temp (OAT) |
| Reference Enthalpy (ReliaTel Only) | See Table 4 | Outdoor Humidity (BAYENTH300*) |
| Comparative Enthalpy (ReliaTel Only) | Outdoor Air Enthalpy 3.0 BTU/lb. less than Return Air Enthalpy | Outdoor Humidity Return Humidity Return Temperature (BAYENTH301*) |
- (a) Economizing is enabled when these conditions are met.
- (b) Conditions level will be self configured when optional sensors are connected.
Wiring Connections
Locate unit wiring harness plug PPM2A. The plug is located in the upper left section of the return air section. Remove the cap covering the plug, and connect to the economizer wiring harness.
Trane and American Standard create comfortable, energy-efficient indoor environments for commercial and residential applications. For more information, please visit trane.com or americanstandardair.com. Trane and American Standard have a policy of continuous product and product data improvement and reserve the right to change design and specifications without notice. We are committed to using environmentally conscious print practices. ACC-SVN155E-EN 03 Dec 2022 Supersedes ACC-SVN155D-EN (Sep 2021) ©2022










































