

BR3040RD Hair Dryer
Instruction Manual
HAIRDRYER BR3040RD
The hairdryer is intended for hair drying and styling.
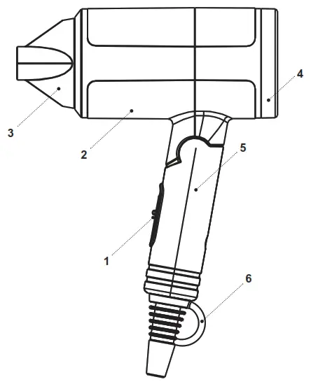
DESCRIPTION
- Operation mode switch (0/1/2)
- Body
- Nozzle
- Air inlet grid
- Foldable handle
- Hanging loop
ATTENTION!
- Do not use the unit near water in the bathrooms, showers, swimming pools etc.
- After using the hairdryer in a bathroom, you should take the power plug out of the main socket, as the closeness of water is dangerous even if the unit is switched off.
- For additional protection, it is reasonable to install a residual current device (RCD) with a nominal operating current not exceeding 30 mA into the mains of a bathroom. To install it, contact an electrical technician.

SAFETY MEASURES AND OPERATION RECOMMENDATIONS
Read the operation instructions carefully before using the unit, after reading keep them for future reference.
- Use the unit for its intended purpose only, as it is stated in this manual.
- Mishandling the unit can lead to its breakage and cause harm to the user or damage to his/her property and it is not covered by warranty.
- The hairdryer is intended only for the styling of slightly wet and dry hair, do not use the unit for the styling of wet hair or synthetic wigs.
- Make sure that the operating voltage of the unit indicated on the label corresponds to your home mains voltage.
- Do not use the unit when you are drowsy.
- Do not use the unit outdoors.
- It is recommended not to use the unit during lightning storms.
- Protect the unit from blows, drops, vibrations, and other mechanical stress
- Never leave the plugged-in hairdryer unattended.
- Do not use the unit near heating appliances, heat sources, or open flame
- Do not use the unit in places where aerosols are used or sprayed, and in proximity to inflammable liquids.
- Do not use the unit in proximity to the kitchen sink, bathrooms, swimming pools, or other containers filled with water.
- Do not use the unit while taking a bath.
- Do not hang and do not keep the unit in places where it can fall into a bath or a sink filled with water; do not immerse the unit body, power cord, or power plug into water or any other liquid.
- If the unit is dropped into water, unplug it immediately, and only then you can take the unit out of the water.
- Do not let the power cord touch hot surfaces and sharp edges of furniture.
- Unplug the unit after usage or before cleaning. When unplugging the unit hold the power plug and carefully remove it from the mains socket, do not pull the power cord — this can lead to its damage and cause a short circuit.
- Do not touch the unit body, the power cord, and the power plug with wet hands.
- Avoid contact with hot surfaces with your face, neck, and other parts of your body.
- Do not direct hot air into your eyes or other heat-sensitive parts of your body.
- The attachment gets hot during operation. Allow it to cool down before removal.
- Never insert any foreign objects into any unit body openings.
- Do not block the air inlets of the hairdryer, and do not place it on a soft surface, where the air inlets may be blocked. Keep the air inlets free of lint, dust, hair, etc.
- Clean the unit regularly.
- Unplug the unit after usage and before cleaning.
- For children, for safety reasons do not leave polyethylene bags used as packaging unattended.
ATTENTION!
Do not allow children to play with polyethylene bags or packaging film. The danger of suffocation!
- The hairdryer is not intended for usage by children.
- Do not leave children unattended to prevent using the unit as a toy.
- Do not allow children to touch the operating surface, unit body, power cord, or power plug during the operation of the unit.
- Be especially careful if children or disabled persons are near the operating unit.
- During the unit operation and breaks between operation cycles, place the unit out of reach of children.
- The unit is not intended for usage by physically or mentally disabled persons (including children) or by persons lacking experience or knowledge if they are not under the supervision of a person who is responsible for their safety or if they are not instructed by this person on the usage of the unit.
- Regularly check the integrity of the power cord.
- If the power cord is damaged, it should be replaced by the manufacturer, maintenance service, or similarly qualified personnel to avoid danger
- Do not repair the unit by yourself. Do not disassemble the unit by yourself, if any malfunction is detected, and after the unit was dropped, unplug it and apply to the service center.
- To avoid damages, transport the unit in the original package.
- Keep the unit in a dry cool place out of reach of children and disabled persons.
THE UNIT IS INTENDED FOR HOUSEHOLD USE ONLY, DO NOT USE THE UNIT FOR COMMERCIAL OR LABORATORY PURPOSES.
BEFORE THE FIRST USE
After unit transportation or storage at negative temperature, unpack it and wait for 3 hours before using.
- Unpack the unit and remove all the packaging materials.
- Keep the original package.
- Check the delivery set.
- Read the safety measures and operating recommendations.
- Examine the unit for damages, in case of damaged not plug it into the mains.
- Make sure that the specified specifications of the power supply voltage of the unit correspond to the specifications of your mains. When using the unit the mains with 60 Hz frequency, the unit does not need any additional settings.
- Wipe the unit with a clean, slightly damp cloth to remove dust, and then wipe it dry.
- Unwind the power cord to its full length while using the unit.
USING THE HAIRDRYER
- Make sure that the operation mode switch (1) is at the position «0».
- Unwind the power cord completely.
- Insert the power plug into the main socket.
- Use the switch (1) to set the required operation mode:
– «0» — the hairdryer is off;
– «1» — warm air supply;
– «2» — hot air supply. - Note: — during the first operation a foreign smell and a small amount of smoke can appear from the heating element, this is normal and it is not covered by warranty.
- After finishing the operation, switch the hairdryer off by setting switch (1) to the position «0», and unplug it.
NOZZLE
- Use the nozzle (3) when you need to focus the power of drying on a small area (for example, a curl or a wave) or when you want to straighten wavy hair.
- Attach the nozzle (3) to the unit body. The nozzle (3) allows directing a narrow airflow of high intensity at a definite hair lock.
- Insert the power plug into the main socket. Use switch (1) to set the necessary operation mode.
- Periodically straighten the power cord if it gets twisted during operation.
OVERHEATING PROTECTION
- The overheating protection system switches the hairdryer off if the outgoing air temperature is above the limit.
- If the hairdryer is switched off during operation, set the switch (1) to the position «0», unplug the unit and make sure that the air inlets and outlets are unblocked.
- Let the unit cool down for 5-10 minutes and then switch it on again. Do not block the air inlets during the operation of the hot air styler and
- avoid getting hair into the air inlet grid (4).
CLEANING AND MAINTENANCE
- The hairdryer is intended for household use only.
- Set the switch (1) to the «0» position, disconnect the hairdryer from the mains and let it cool down.
- Wipe the unit body (2) with a slightly damp cloth, and then wipe it dry.
- Clean the air inlet grid (4) with a brush.
- Do not immerse the unit into water or any other liquids.
- Do not use abrasives and solvents to clean the nozzle (3) and the unit body (2).
STORAGE
- Disconnect the unit from the mains and clean it.
- Never wind the power cord around the hairdryer body (2), as it can lead to its damage or damage of the unit body (2)
- A hanging loop (6) you can hang the hairdryer on is provided for the ease of storage of the unit, given that no water will get on it; and you can fold the handle (5) to minimize the hairdryer size.
- Keep the unit in a dry cool place out of reach of children and disabled persons.
DELIVERY SET
- Hairdryer — 1 pc.
- Nozzle — 1 pc.
- Manual — 1 pc.
TECHNICAL SPECIFICATIONS
- Supply voltage: 220-240 V, ~ 50/60 Hz
- Rated input power: 1400 W
ATTENTION!
Do not use the unit near water in the bathrooms, showers, swimming pools, etc.
RECYCLING
To prevent possible damage to the environment or harm to the health of people by uncontrolled waste disposal, after the expiration of the service life of the unit or the batteries (if included), do not discard them with usual household waste, take the unit and the batteries to specialized stations for further recycling.
The waste generated during the disposal of products is subject to mandatory collection and consequent disposal in the prescribed manner.
For further information about recycling this product apply to a local municipal administration, a household waste disposal service, or to the shop where you purchased this product.
The manufacturer reserves the right to change the design, structure, and specifications not affecting the general operating principles of the unit, without prior notice.
The unit operating life is 3 years
The manufacturing date is specified in the serial number. In case of any malfunctions, it is necessary to apply promptly to the authorized service center.




















