CENTRAL FORGE 92553 Mini Plane Set

Product Information
This product is a #4 Jack Plane, item number 92553. It is a woodworking tool that is used to smooth rough or uneven wood surfaces and to remove thin layers of wood. The product comes with a blade and a chip breaker that can be removed for sharpening or adjustment. The product has important safety information that must be read before use and requires the use of safety goggles, heavy-duty work gloves, and appropriate clothing. The product must be assembled properly before use.
Specifications
- Product type: #4 Jack Plane
- Item number: 92553
Important Safety Information
The product has important safety information that must be read before use. The safety information includes securing the workpiece with clamps, wearing appropriate safety gear, keeping the work area clean, dressing properly, staying alert, taking caution with toxic woods, not overreaching, not allowing children to play with or near the product, using as intended only, inspecting before use, and storing idle equipment.
Product Usage Instructions
- Read the entire important safety information section in themanual before setting up or using the product.
- To remove the blade, lift the lever on the lever cap assembly and remove the assembly from the plane.
- To remove the chip breaker from the blade, remove the screw from the bottom of the blade. You can then sharpen or adjust the blade. Replace the chip breaker (curved side down) and tighten the screw when finished.
- To install and adjust the blade, position it over the lever cap screw and ensure it is properly aligned. Replace the lever cap assembly and tighten the lever cap screw.
Note: If any parts are missing or broken, call 1-888-866-5797 as soon as possible. Tools required for assembly and service may notbe included. Store idle equipment in a dry location to inhibit rust, and keep out of reach of children.
Save This Manual Keep this manual for the safety warnings and precautions, assembly, operating, inspection, maintenance and cleaning procedures. Write the product’s serial number in the back of the manual near the assembly diagram (or month and year of purchase if product has no number). Keep this manual and the receipt in a safe and dry place for future reference.
When unpacking, make sure that the product is intact and undamaged. If any parts are missing or broken, please call 1-888-866-5797 as soon as possible.
Copyright© 2022 by Harbor Freight Tools®. All rights reserved. No portion of this manual or any artwork contained herein may be reproduced in any shape or form without the express written consent of Harbor Freight Tools. Diagrams within this manual may not be drawn proportionally. Due to continuing improvements, actual product may differ slightly from the product described herein. Tools required for assembly and service may not be included.
Specifications
| #4 Jack Plane | 2″ Wide Blade @ 25° |
| Mini Block Plane | 1.3″ Wide Blade @ 25° |
IMPORTANT SAFETY INFORMATION
- Secure workpiece with clamps.
- Properly assemble planer before use.
- Sharp blade; avoid contact during set up and use.
- Wear ANSI-approved safety goggles and heavy duty work gloves during set up and use.
- Keep work area clean.
- Observe work area conditions. Do not usetools in damp or wet locations. Do not expose to rain. Keep work area well lighted.
- Dress properly. Do not wear loose clothing or jewelry. Protective, electrically nonconductive clothes and non-skid footwear are recommended when working. Wear restrictive hair covering to contain long hair.
- Stay alert. Watch what you are doing, use common sense. Do not operate any tool when you are tired.
- Take caution as some woods contain preservatives such as copper chromium arsenate (CCA) which can be toxic. When working with this type of wood, extra care should be taken to avoid inhalation and minimize skin contact.
- Do not overreach. Keep proper footing and balance at all times.
- This product is not a toy. Do not allow children to play with or near this item.
- Use as intended only.
- Inspect before use; do not use if parts are loose or damaged.
- Store idle equipment. When not in use, tools must be stored in a dry location to inhibit rust. Always lock up tools and keep out of reach of children.
- Maintain product labels and nameplates. These carry important safety information. If unreadable or missing, contact Harbor Freight Tools for a replacement.
Operation
Read the ENTIRE IMPORTANT SAFETY INFORMATION section at the beginning of this document including all text under subheadings therein before set up or use of this product.
#4 Jack Plane
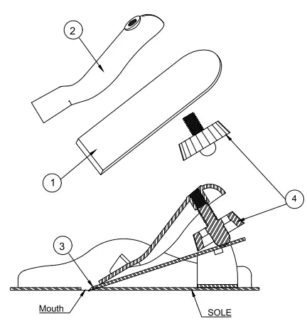
- To remove the Blade (1), lift the lever on Lever Cap Assembly (3) and remove the Assembly from the Plane.
- To remove the Chip Breaker from the Blade, remove the Screw from the bottom of the Blade. You can then sharpen or adjust the Blade. Replace Chip Breaker (curved side down) and tighten Screw when finished.
- To install and adjust the Blade, position it over the Lever Cap Screw and ensure it isproperly aligned. Replace the Lever Cap Assembly and tighten the Lever Cap Screw.
- Adjust the Blade by pressing the Blade Adjustment Lever (9) from side to side to adjust the Blade angle. Turn the Adjustment Screw (8) to adjust the Blade depth.
- Make sure the workpiece is securely fastened down.
- Do not force the Plane or press down on it. Move it forward, taking off a little wood at a time. If the Plane does not move forward easily, adjust the Blade as explained in step 2 on previous page.
Note: If the Blade isn’t planing properly, adjust the Chip Breaker position up or down.
Mini Block Plane
- To remove the Blade (1), loosen the Adjustment Screw (4) and remove the Screw Cap (2).
- You can then sharpen or adjust the Blade.
- To install and adjust the Blade; position it over the Plane Body (3) with the Screw Cap on top of it.
- Turn the Adjustment Nut until the Blade is held firmly in place in the desired position.
- Make sure the workpiece is securely fastened down.
- Do not force the Plane or press down on it. Move it forward, taking off a little wood at a time. If the Plane does not move forward easily, adjust the Blade as explained in step 2 on previous page.
Note: If the Blade isn’t planing properly, loosen the Adjustment Screw and reposition the Blade up or down.
Record Serial Number Here:
Note: If product has no serial number, record month and year of purchase instead.
Note: Some parts are listed and shown for illustration purposes only, and are not available individually as replacement parts. Refer to UPC 193175486868.
PLEASE READ THE FOLLOWING CAREFULLY
THE MANUFACTURER AND/OR DISTRIBUTOR HAS PROVIDED THE PARTS LIST AND ASSEMBLY DIAGRAM IN THIS DOCUMENT AS A REFERENCE TOOL ONLY. NEITHER THE MANUFACTURER OR DISTRIBUTOR MAKES ANY REPRESENTATION OR WARRANTY OF ANY KIND TO THE BUYER THAT HE OR SHE IS QUALIFIED TO MAKE ANY REPAIRS TO THE PRODUCT, OR THAT HE OR SHE IS QUALIFIED TO REPLACE ANY PARTS OF THE PRODUCT. IN FACT, THE MANUFACTURER AND/OR DISTRIBUTOR EXPRESSLY STATES THAT ALL REPAIRS AND PARTS REPLACEMENTS SHOULD BE UNDERTAKEN BY CERTIFIED AND LICENSED TECHNICIANS, AND NOT BY THE BUYER. THE BUYER ASSUMES ALL RISK AND LIABILITY ARISING OUT OF HIS OR HER REPAIRS TO THE ORIGINAL PRODUCT OR REPLACEMENT PARTS THERETO, OR ARISING OUT OF HIS OR HER INSTALLATION OF REPLACEMENT PARTS THERETO.
Parts List and Diagram
#4 Jack Plane
| Part | Description | Qty | Part | Description | Qty | |
| 1 | Blade | 1 | 10 | Screw & Washer For Frog | 1 | |
| 2 | Screw | 1 | 11 | Handle | 1 | |
| 3 | Lever Cap | 1 | 12 | Knob | 1 | |
| 4 | Lever Cap Screw | 1 | 13 | Bolt and Nut for Handle | 1 | |
| 5 | Frog Assembly | 1 | 14 | Bolt and Nut for Knob | 1 | |
| 6 | Y Adjusting Lever | 1 | 15 | Screw for Handle Toe | 1 | |
| 7 | Adjusting Knob | 1 | 16 | Plane Body | 1 | |
| 8 | Adjustment Screw | 1 | 17 | Clip & Screw for Frog | 1 | |
| 9 | Blade Adjustment Lever | 1 | 18 | Adjusting Screw for Frog | 1 |

Mini Block Plane
| Part | Description | Qty | Part | Description | Qty | |
| 1 | Blade | 1 | 3 | Plane Body | 1 | |
| 2 | Screw Cap | 1 | 4 | Adjustment Screw | 1 |

Maintenance
General Tool Maintenance
- During periods of storage, coat the bare metal surfaces with light oil to inhibit rust.
- This product should be assembled and stored in a dry area.
Sharpening The Cutting Blade
- Use an abrasive stone that is lubricated with light oil or paraffin.
- While wearing work gloves, use two hands, one to grip the cutting blade to maintain the angle. The other hand should exert an even pressure just above the cutting edge.
- Move the cutting blade along the abrasive stone in a figure-eight motion. Begin on the course side of the stone and finish sanding on the fine side. Always keep the blade at the same angle while sharpening.
- After sharpening the blade there may be a ragged burr on the cutting edge of the blade.
- Remove this burr by gently rubbing the flat side of the blade on a fine abrasive stone.
Warranty
Limited 90 Day Warranty
Harbor Freight Tools Co. makes every effort to assure that its products meet high quality and durability standards, and warrants to the original purchaser that this product is free from defects in materials and workmanship for the period of 90 days from the date of purchase. This warranty does not apply to damage due directly or indirectly, to misuse, abuse, negligence or accidents, repairs or alterations outside our facilities, criminal activity, improper installation, normal wear and tear, or to lack of maintenance. We shall in no event be liable for death, injuries to persons or property, or for incidental, contingent, special or consequential damages arising from the use of our product. Some states do not allow the exclusion or limitation of incidental or consequential damages, so the above limitation of exclusion may not apply to you. THIS WARRANTY IS EXPRESSLY IN LIEU OF ALL OTHER WARRANTIES, EXPRESS OR IMPLIED, INCLUDING THE WARRANTIES OF MERCHANTABILITY AND FITNESS.
To take advantage of this warranty, the product or part must be returned to us with transportation charges prepaid. Proof of purchase date and an explanation of the complaint must accompany the merchandise. If our inspection verifies the defect, we will either repair or replace the product at our election or we may elect to refund the purchase price if we cannot readily and quickly provide you with a replacement. We will return repaired products at our expense, but if we determine there is no defect, or that the defect resulted from causes not within the scope of our warranty, then you must bear the cost of returning the product.
This warranty gives you specific legal rights and you may also have other rights which vary from state to state.
- 26677 Agoura Road
- Calabasas, CA 91302
- 1-888-866-5797
- For technical questions, please call 1-888-866-5797.
- Visit our website at: http://www.harborfreight.com
- Email our technical support at: [email protected]



















