FISHER PAYKEL CMOH30SS Over The Range Convection Microwave Oven
MOUNTING SPACE
Please read all instructions thoroughly before installing the Over the Range Convection Microwave Oven. Two people are recommended to install this product.
If a new electrical outlet is required, its installation should be completed by a qualified electrician before the microwave oven is installed. See ELECTRICAL GROUNDING INSTRUCTIONS page 5.
This microwave oven requires a mounting space on a wall as shown in Figure 1.
For proper installation and servicing, a 2-inch space is necessary between the top of the range backsplash and the bottom of the Over the Range Microwave Oven.
WALL CONSTRUCTION
This Over the Range Microwave Oven should be mounted against and supported by a flat vertical wall. The wall must be flat for proper installation. If the wall is not flat, use spacers to fill in the gaps. Wall construction should be a minimum of 2″ x 4″ wood studding and 3/8″ or more thick dry wall or plaster/lath. The mounting surfaces must be capable of supporting weight of 110 pounds—the oven and contents—AND the weight of all items which would normally be stored in the top cabinet above the unit. The unit should be attached to a minimum of one 2″ x 4″ wall stud. To find the location of the study, one of the following methods may be used:
A. Use a stud finder, a magnetic device that locates the nails in the stud.
B. Use a hammer to tap lightly across the mounting surface to find a solid sound. This will indicate stud location.
The center of the stud can be located by probing the wall with a small nail to find the edges of the stud and then placing a mark halfway between the edges. The center of any adjacent studs will normally be 16″ or 24″ to either side of this mark.
Note: In the event that the unit will be unable to be supported by any stud, it will be necessary to use special care in the placement of the toggle bolts and top cabinet screws. See Wall Template for details. The top cabinet should be tested to ensure it is securely attached to the wall. Place extra weight up to 110 pounds inside the top cabinet to test the support.

ELECTRICAL GROUNDING INSTRUCTIONS
This appliance must be grounded. This microwave oven is equipped with a cord having a grounding wire with a grounding plug. It must be plugged into a wall receptacle that is properly installed and grounded in accordance with the National Electrical Code and local codes and ordinances. In the event of an electrical short circuit, grounding reduces risk of electric shock by providing an escape wire for the electric current.
WARNING – IMPROPER USE OF THE GROUNDING PLUG CAN RESULT IN A RISK OF ELECTRIC SHOCK. DO NOT USE AN EXTENSION CORD. IF THE POWER SUPPLY CORD IS TOO SHORT, HAVE A QUALIFIED ELECTRICIAN OR SERVICEPERSON INSTALL AN OUTLET NEAR THE APPLIANCE.
The microwave oven is equipped with a 3-prong grounding plug. DO NOT UNDER CIRCUMSTANCES CUT OR REMOVE THE GROUNDING PIN FROM THE PLUG.The Power Supply Cord and plug must be connected to a separate 120 Volt AC, Amp, or more branch circuit, single grounded receptacle. The receptacle should inside the cabinet directly above the Microwave Oven mounting location.
Notes:
- If you have any questions about the grounding or electrical instructions, consult a qualified electrician or serviceperson.
- Neither Fisher & Paykel nor the dealer can accept any liability for damage to the oven personal injury resulting from failure to observe the correct electrical connection procedures.
HOOD EXHAUST DUCT
When the hood is vented to the outside, a hood exhaust duct is required. All ductwork must be metal; absolutely do not use plastic ducts. Check that all connections are made securely. Please read the following carefully:
Exhaust connection The hood exhaust has been designed to connect to a standard 3 1⁄4″ x 10″ rectangular duct. If a round duct is required, a rectangular-to-round adapter must be used.
Rear exhaust If a rear or horizontal exhaust is to be used, care should be taken to align the exhaust with the space between the studs, or wall should be prepared at the time it is constructed by leaving enough space between wall studs to accommodate the exhaust.
Maximum duct length
For satisfactory air movement, the total duct length of 3-1/4″ x 10″ rectangular or 6″ diameter round duct should not exceed 140 feet. Elbows, adapters, wall, roof caps, etc. present additional resistance to airflow and are equivalent to a section of straight duct which is longer than their actual physical size. When calculating the total length, add the equivalent lengths of all transitions and adapters plus the length of all straight duct sections. Figure 4 shows the approximate feet of equivalent length of some typical ductwork parts. Use the values in parentheses for calculating air flow resistance equivalent, which should total less than 140 feet.

TOOLS RECOMMENDED FOR INSTALLATION
- Phillips screwdriver
- Electric drill
- Scissors
- Pencil
Tape
- Measure tape
- 1 1⁄2″ wood bit or metal hole cutter (if metal cabinet is used)
- 1⁄2″, 5⁄8″ and 3⁄32″ drill bits
- Saw to cut exhaust opening (if needed)
- Protective drop cloth for product and range—you may also use carton for protection
INSTALLATION HARDWARE
The INSTALLATION HARDWARE (items 1-8) packed with the oven should contain the following:
| 1 | Wood Screw 5 x 30 mm | 6 | 290109 | |||
| 2 | Toggle Bolt #10 – 24 x 50 mm | 4 | 290106 | |||
| 3 | Top Cabinet Screw 5 x 60 mm | 2 | 290108 | |||
| 4 | Flat Washer 30 mm diameter | 2 | 290107 | |||
| 5 | Grommet | 1 | 290105 | |||
| 6 | Tapping Screw 4 x 12 mm | 4 | 245657 | |||
| 7 | Exhaust Damper Assembly | 1 | 290046 | |||
| 8 | Mounting Deflector | 1 | 290122 |

PREPARATION OF THE OVEN
- Open the bottom of the carton, and remove oven and all packing materials.
- CHECK THE OVEN.
Check the oven for any damage, such as misaligned or bent door, damaged door seals and sealing surfaces, broken or loose door hinges and latches and dents inside the cavity or on the door. If there is any damage, do not operate the oven and contact your dealer or Fisher & Paykel AUTHORIZED SERVICER. - Rest the microwave oven on its side as shown in Figure 6.
- Remove the two screws which secure the mounting plate to the rear side of the oven. Remove the mounting plate. The two screws can be discarded.
Note: If the unit you purchased does not have the mounting plate attached to the rear side of the oven, please disregard this section and continue to Section 8.

VENTILATION SYSTEM
This Over-the-range microwave oven is designed for adaptation to three types of hood ventilation systems. Select the type required for your installation.
A. RECIRCULATING – NON-VENTED, DUCTLESS OPERATION
The unit is shipped assembled for recirculating.
Note:
- The Exhaust Damper Assembly (Figure 11) is not required for recirculating operation.
- The Charcoal Filter provided with the unit must be installed behind the exhaust louver before use. For instructions on installation of the filter, refer to the “Cleaning and Care” the section in the Use and Care Guide.
- The Charcoal Filter should be replaced every 6 to 12 months, depending on use.
B. HORIZONTAL EXHAUST – OUTSIDE VENTILATION
Remove and save the 4 screws from Fan Cover Bracket. Remove Fan Cover Bracket by sliding it in the opposite the direction of the arrow on the Fan Cover
Bracket, as shown in Figure 7.
Lift Hood Fan Unit carefully and slip wires out of cavity. See Figure 8.
CAUTION:
DO NOT PULL OR STRETCH BLOWER WIRING.
- Rotate the Hood Fan Unit 180˚ so that the fan blade openings are facing the back of the oven. Note, you will need to lift the wire over the hood fan unit so the wire will clear. See Figure 9 (A). Replace Hood Fan Unit into the oven. Be careful not to pinch the wire and the Hood Fan Unit. See Figure 9 (B).

- Replace the fan cover bracket. Make sure the fan blades are visible through the rear openings in oven before proceeding. Attach the fan cover bracket to the unit with the 4 screws removed in step 1 above. See Figure 10. The hood fan is now rotated for horizontal exhaust operates

- Attach the Exhaust Damper Assembly to the back of the mounting plate by sliding it into the slits in the same direction as the arrow. See Figure 11. Using tapping screw 4 x 12 mm from the INSTALLATION HARDWARE, tighten into place.

C. VERTICAL VENTILATION – OUTSIDE VENTILATION
- Remove and save the 4 screws from the Fan Cover Bracket. Remove Fan Cover Bracket by sliding it in the opposite the direction of the arrow on the Fan Cover The bracket as shown in Figure 12

- Lifts the Hood Fan Unit carefully and slip wires out of cavity. See Figure 13.
CAUTION:
DO NOT PULL OR STRETCH BLOWER WIRING
- Rotate the Hood Fan Unit 180˚ so that the fan blade openings are facing the back of the oven. Note, you will need to lift the wire over the hood fan unit so the wire will clear. See Figure 14 (A). Then rotate the Hood Fan Unit 90˚ so that the fan blade openings are facing the top of the oven. See Figure 14 (B). Replace Hood Fan Unit into the oven. Be careful not to pinch the lead wire between th inner bracket and the Hood Fan Unit. Put the lead wire into the Wire Box. See Figure Replace the Fan Cover Bracket. Make sure the fan blades are visible through the top openings in the oven before proceeding.
Attach the Fan Cover Bracket to unit with the 4 screws removed in step 1 above. See Figure 15. The Hood Fan Unit is now rotated for vertical exhaust operation
- Attach the Exhaust Damper Assembly to the fan cover on the top of the outercase cabinet by sliding it into the slits in the same direction as the arrow. Use 1 Tapping Screw 4 x 12 mm from the INSTALLATION HARDWARE and tighten into place. See Figure 16.
OVEN INSTALLATION
This oven cannot be properly installed without referring to the mounting instructions found on both templates. Read and follow mounting information on both TOP CABINET TEMPLATE and WALL TEMPLATE.
MOUNTING PLATE
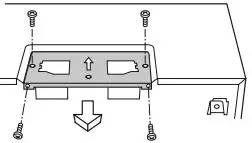
- Separate 4 Toggle Bolts 2, packed in the INSTALLATION HARDWARE, from the Toggle Nuts.

- use Wood Screws 1 to attach Mounting Plate to the stud or studs. Use Toggle Bolts to attach Mounting Plate through the holes at A, B, C and D; UNLESS THOSE HOLES ARE LOCATED ON THE STUD. Insert one Toggle Bolt into A, B, C and D where appropriate (these correspond to the holes of the Wall Template) and put the Toggle Nuts onto the Toggle Bolts. Figure 17. Refer to instructions in Wall Template

- Position the Mounting Plate with the Toggle Bolts are attached at the wall location and insert Toggle Nuts and Bolts through the holes in the wall with the Toggle Nuts closed. Figure 18. Use Wood Screws 1 to attach the Mounting Plate to studs.
Note: Before insertion, be sure you leave a space more than the thickness of the wall between the Mounting Plate and the end of each of the Toggle Nuts (in the closed position). If you do not leave enough space, the Toggle Nut will not be able to open on the other side of the wall. Also, once a Toggle Nut opens, it cannot be withdrawn from the hole; therefore make sure all of the Toggles are in the correct position before insertion.
- Align the Mounting Plate carefully and hold in position while tightening Toggle Bolts. Pull Toggle Bolt toward you and turn clockwise to tighten. Figure 19.
MOUNTING THE OVEN TO THE WALL
Two people are recommended to attach the Over the Range Microwave Oven to the Mounting Plate.
- Thread the power supply cord through the hole made in the bottom of the top cabinet.

- Hang the oven on the lower edge of the mounting plate. Rotate the unit upward. See Figure 20. Take care that the power cord is able to clear the edge of the hole as the oven is rotated upward. (In the case of a
non-recessed bottom in the top cabinet, the hole for the cord may need to be enlarged.)
- Tighten the two unit mounting screws located in the grease filter openings. See Figure 21.

- Install grease filters by fitting into the opening. Push back and up into place. See Figure 22.

- Use the two Top Cabinet Screws (D) and two Flat Washers (E), supplied in the INSTALLATION HARDWARE, to attach the unit to the top cabinet. See Figure 23.
MOUNTING DEFLECTOR
- Secure the deflector with 3 Tappingscrews 4 x 12 mm, packed in theInstallation Hardware
CHECKLIST FOR INSTALLATION
- Make sure the unit has been installed according to all of the Installation Instructions and the Wall and Top Cabinet Templates.
- Plugin the power cord.
- Keep the use and care guide.





















