Leuchten Direkt 15662-18 CUP Pendant Light

Specifications

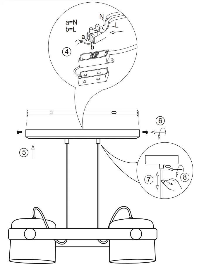
Installation Instructions



LeuchtenDirekt GmbH
Olakenweg 36 D-59457 Werl •
+49(0)2922 9721 9290
[email protected]
www.leuchtendirekt.de

Leuchten Direkt 15662-18 CUP Pendant Light





LeuchtenDirekt GmbH
Olakenweg 36 D-59457 Werl •
+49(0)2922 9721 9290
[email protected]
www.leuchtendirekt.de

Download manual
Here you can download full pdf version of manual, it may contain additional safety instructions, warranty information, FCC rules, etc.