HALO HOME HIWMA1BLE40A In-Wall Smart Dimmer

In-Wall Accessory Dimmer Installation Instructions
ONLY USE WITH NON-SMART LIGHTS
WARNING:
- Turn OFF circuit breaker or remove fuse(s) and test that power is off before wiring or servicing.
- Never wire any electrical device with power turned on. Wiring device with power on may cause permanent damage to product and void warranty.
- If you are not sure about any part of these instructions, please contact a licensed electrician.
- Minimum 75°C supply conductors
CAUTION:
- Edges may be Sharp – Wear gloves while handling.
- Connect dimmer to a 120 volt, 60 Hz power source. Any other connection voids the warranty.
- Fixture should be installed by persons with experience in household wiring or by a qualified electrician. The electrical system, and
the method of electrically connecting the fixture to it, must be in accordance with the National Electrical Code and local building codes.
PACKAGING CONTENTS
A. Accessory Dimmer B. (4) Wire Nuts C. (2) Screws
ITEMS REQUIRED (Purchase separately)
- Philips Screwdriver
- Labels or electrical tape for tagging wiring
- Voltage tester
- Tape or labels (3- or 4-way wiring)
- Gloves
SINGLE LOCATION OVERVIEW
The HALO Home Smart Dimmer requires a neutral wire for operation. If there is no neutral wire at the current installation location, contact a licensed electrician.
The HALO Home Smart Dimmer easily replaces a single location standard dimmer or switch to allow ON/OFF and dimming control of standard lighting via the HALO Home app and HALO Home Controllers.
Max Loads: 600W INC/ELV/FLR/Halogen/MLV; 300W LED/CFL
| Max wattage derating | 1-Gang | 2-Gang | 3-Gang |
| INC/ELV/FLR/Hal/MLV | 600W/VA | 550W/VA | 500W/VA |
| LED/CFL | 300W | 300W | 300W |
MULTI-LOCATION CONTROL OVERVIEW
If there is more than one control location for the same lighting or switched load (3-way or 4-way), additional HALO Home products will be needed:
- One location will need a HALO Home Smart Dimmer. This will operate as a single-pole dimmer controlling the lighting load.
- The other dimmer location(s) will require HALO Home Accessory Dimmers*. These will send wireless signals to the Smart Dimmer which will turn ON/OFF the lighting/load.
*Other HALO Home Controllers like the Accessory Switch, Anyplace Dimmer or Multi-Room Scene Keypads can also be used.

TIPS: When retrofitting existing dimmer locations:
- Verify that there is a neutral wire available at EACH dimmer location.(White wires connected to dimmer terminals and marked with electrical tape are typically NOT neutral wires.)
- HALO Home Accessory Dimmers cannot wire downline of a Smart Switch, Smart Dimmer, or other dimming/switching device.
They require a constant hot feed
(unswitched and undimmed). - Because it does not directly control the Smart Light/Device, the HALO Home Accessory Dimmer does not need to be powered from the same circuit and can be connected for power to any convenient constant power circuit (undimmed and unswitched).
3-way and 4-way wiring can be confusing. If wiring does not match diagrams shown, stop and consult with an electrician.
SINGLE-POLE INSTALLATION (1 Dimmer)
- Turn OFF power at the circuit breaker and remove the wall plate
- Leaving wiring attached, pull the dimmer away from the wall.
- Verify that there is a neutral wire available. If not, stop and consult a licensed electrician.

- Turn the wall dimmer to the OFF position but leave the wires connected.
- Ensure wiring is safely separated and terminals are not touching anything, and then turn ON power at the circuit breaker.
- DO NOT TOUCH EXPOSED WIRE OR TERMINALS. Using a voltage tester, determine and note which wire still has power (‘Hot’).

- Turn OFF power at the circuit breaker
- Use a label or electrical tape to tag the identified ‘Hot’/power wire.
- Disconnect the wires and remove the dimmer.

- Connect the HALO Home Accessory Dimmer (A) using provided wire nuts (B).
- Connect the tagged ‘Hot’ wire to the Accessory Dimmer’s black wire.
- Connect the bare copper or green ground wire from the wall-box to the Accessory Dimmer’s green wire.
- Connect the other dimmer wire (load) to the Accessory Dimmer’s red wire.
- Connect the neutral wire in the wall-box to the Accessory Dimmer’s white wire. (NEUTRAL IS REQUIRED).

- Using the screws provided (C), mount the Accessory Dimmer in the wall-box and attach a wall plate (not included).
- Turn ON power at the circuit breaker. (An LED indicator will start flashing when power is turned ON).

- Using your smart phone/tablet, follow the online Quick Start Guide to pair this product to your HALO Home account. support.BringHaloHome.com
3-WAY INSTALLATION (2 Dimmers)
- Turn OFF the light using one of the dimmers. Turn OFF power at the circuit breaker.
- Remove the wall plates from the existing light dimmers.
- Leaving wiring attached, remove screws and pull the dimmers away from the wall. Verify that BOTH dimmer locations have a neutral wire available. If not, stop and consult a licensed electrician.

- At each dimmer location, place electrical tape or a label on the wire connected to the different colored screw terminal (common).
- Ensure wiring is safely separated and terminals are not touching anything, and then turn ON power at the circuit breaker.

- DO NOT TOUCH EXPOSED WIRE OR TERMINALS. Using a voltage tester, determine which dimmer location has power on the tagged wire. (The powered location is connected to the breaker while the unpowered location is connected to the lighting load.)
- Use a tape or label to tag the powered dimmer location “POWER”. Label the other dimmer location “LOAD”.

- Turn OFF power at the circuit breaker.
- Disconnect the wiring and remove both dimmers.

- At the location labeled “POWER”, connect the HALO Home Accessory Dimmer (A) using provided wire nuts (B).
- Connect the tagged wire (Power) to the Accessory Dimmer’s black wire.
- Connect the bare copper or green ground wire from the wall-box to the Accessory Dimmer’s green wire.
- Connect the other 2 dimmer wires to the Accessory Dimmer’s red wire.
- Connect the neutral wire in the wall-box to the Accessory Dimmer’s white wire. (NEUTRAL IS REQUIRED).

- At the location labeled “LOAD” connect the HALO Home Accessory Dimmer using provided wire nuts.
- Connect the tagged wire (lighting load) to the Accessory Dimmer’s red wire.
- Connect the bare copper or green ground wire from the wall-box to the Accessory Dimmer’s green wire.
- Connect the other 2 dimmer wires (incoming power) to the Accessory Dimmer’s black wire.
- Connect the neutral wire in the wall-box to the Accessory Dimmer’s white wire. (NEUTRAL IS REQUIRED).

- Using the screws provided (C), mount the Accessory Dimmer in the wall-box and attach a wall plate (not included).
- Turn ON power at the circuit breaker. (An LED indicator will start flashing when power is turned ON).

- Using your smart phone/tablet, follow the online Quick Start Guide to pair this product to your HALO Home account. support.BringHaloHome.com
3-WAY WIRING DIAGRAM

4-WAY INSTALLATION (3+ Dimmers)
In locations with 3 or more dimmers, the following rules will be true:
- 2 locations will have 3-way dimmers: 3 wiring terminals plus a ground terminal.
- All remaining locations will have 4-way dimmers: 4 wiring terminals plus a ground terminal.

- Follow steps 1 – 3 in the “3-WAY INSTALLATION (2 Dimmers)” section, removing 3- and 4-way dimmers from the wall in step 3. All dimmer locations must have a neutral.
- At the two 3-way dimmer locations, follow steps 4 – 11 in the “3-WAY INSTALLATION (2 Dimmers)” section and then return to this section for further instruction.
- (Make sure circuit breaker is still OFF from previous steps.) At each 4-way dimmer location, identify the 2 separate pairs of wires
- Disconnect the wiring, keeping the 2 pairs separated.

- Connect HALO Home Accessory Dimmers at each 4-way dimmer location using provided wire nuts.
- Connect 1 pair of wires to the Accessory Dimmer’s black wire.
- Connect the bare copper or green ground wire from the wall-box to the Accessory Dimmer’s green wire.
- Connect the other pair of wires to the Accessory Dimmer’s red wire.
- Connect the neutral wire in the wall-box to the Accessory Dimmer’s white wire. (NEUTRAL IS REQUIRED).

- Using the screws provided (C), mount all dimmers in the wall-boxes and attach wall plates (not included).
- Turn ON power at the circuit breaker. (An LED indicator will start flashing on all dimmers when power is turned ON).

- Using your smart phone/tablet, follow the online Quick Start Guide to pair this product to your HALO Home account. support.BringHaloHome.com
4-WAY WIRING DIAGRAM

FACTORY RESET
ONLY DO THIS STEP IF YOU ARE UNABLE TO REMOVE THE DEVICE USING THE APP.
If removal does not work, delete it in the app by clicking “my device is broken” and then follow the factory reset steps:
- Press and hold the ON button for 12 seconds to reset.
- The load may turn OFF or ON and the LED will start flashing indicating the reset is processing. The LED will continue flashing to indicate that the dimmer is ready to be paired with the HALO Home App
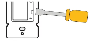
CIRCUIT DISCONNECT (AIR-GAP)
Disconnect power to this dimmer and any connected loads by using a flathead screwdriver to pull the air-gap dimmer out until you hear a click.
FCC STATEMENT
- This device complies with Part 15 of the FCC Rules. Operation is subject to the following two conditions:
- This device may not cause harmful interference.
- This device must accept any interference received, including interference that may cause undesired operation.
NOTE: The grantee is not responsible for any changes or modifications not expressly approved by the party responsible for compliance. Such modifications could void the user’s authority to operate the equipment.
NOTE: This equipment has been tested and found to comply with the limits for a Class B digital device, pursuant to part 15 of the FCC Rules. These limits are designed to provide reasonable protection against harmful interference in a residential installation.
- This equipment generates uses and can radiate radio frequency energy and, if not installed and used in accordance with the instructions, may cause harmful interference to radio communications. However, there is no guarantee that interference will not occur in a particular installation. If this equipment does cause harmful interference to radio or television reception, which can be determined by turning the equipment off and on, the user is encouraged to try to correct the interference by one or more of the following measures:
- Reorient or relocate the receiving antenna.
- Increase the separation between the equipment and receiver.
- Connect the equipment into an outlet on a circuit different from that to which the receiver is connected.
- Consult the dealer or an experienced radio/TV technician for help
Supplier’s Declaration of Conformity
47 CFR § 2.1077 Compliance Information
Unique Identifier: 2AKCY-HIWAC1BLE40
Responsible Party – U.S. Contact Information
Cooper Lighting Solutions
1121 Highway 74 S
Peachtree City, GA 30269
www.cooperlighting.com
IC Statement
- This device contains licence-exempt transmitter(s)/receiver(s) that comply with Innovation, Science and Economic Development Canada’s licence-exempt RSS(s). Operation is subject to the following two conditions:
- This device may not cause interference.
- This device must accept any interference, including interference that may cause undesired operation of the device.
FCC ID: 2AKCY-HIWAC1BLE40
IC: 4706A-HIWAC1BLE40
SAVE THESE INSTRUCTIONS AND WARNINGS.
SUPPLEMENTAL INFORMATION
- Construction of control: Independently Mounted for Flush Mounting
- Type of Action: Type 1.B Action
- Pollution Degree: 2
- Rated Impulse Voltage: 2500 V
- Software Class: Class
5-YEAR WARRANTY
For warranty information, please visit
www.cooperlighting.com/legal



































