ELITE SCREENS Aeon CLR 3 Ceiling Ambient Light Rejecting Fixed Frame Screen User Guide

Product Description:
The Aeon CLR® 3 Series is a fixed frame projection screen that uses Elite’s EDGE FREE® technology. The EDGE FREE® design resembles a flat panel TV display. The Aeon CLR® 3 includes a micro-thin bezel trim to further enhance the frame appearance and absorb projector overshoot.
The screen material included is our CLR® 3, which is an optical lens front projection material precisely formulated for environments with minimal control over room lighting. It was designed to filter and absorb overhead light while directing table-top mounted ultra-short throw projection. It best for family rooms, educational facilities, conference rooms or any applications in which incident light is a factor.
Screen maintenance
Dust, dirt and scratches on the projection screen surface will affect the quality and performance of the projection image. Follow the instructions below to properly maintain the screen.
- The screen surface has a horizontal linear structure. DO NOT wipe the screen up and down or in a circular motion. Wipe gently from left to right only.
- Clean the dust on the screen surface with a soft brush or microfiber cloth. A rough/coarse towel or cloth may damage the screen’s surface.
- Gently wipe the screen with a lightly moistened white lint free cloth with water or with a neutral detergent (1mL/0.33 oz) mixed with water (1000 mL/33.8 oz).
Notes: The following precautions should always be followed to avoid damaging the material, which is not covered under warranty.
- Don’t touch the screen material to avoid leaving fingerprints.
- Use gloves when handling the material.
- Don’t scratch the material, as it will leave permanent markings on the screen’s surface.
- Don’t point to the screen material with a fingertip or other sharp objects to prevent damage to the material.
- Don’t use acetone, benzene, alcohol and any other organic solvents to clean the screen material. Using such chemicals will permanently damage the screen.
Scan the QR code to watch our assembly/installation video



| Item | Parts List | 103” | 123’’ |
| a. | Center Joints- M4 (bottom position) | 2 | 2 |
| b. | Center Joints-D5 (top position) | 2 | 2 |
| c. | Elbow Joints M4 (bottom position) | 4 | 4 |
| d. | Elbow Joints D5 (top position) | 4 | 4 |
| e. | Side cover Center Joints- M4 | 2 | 2 |
| f. | Side cover Elbow Joints M4 | 4 | 4 |
| g. | M4x7 Screws | 24 | 24 |
| h. | Spring | 88 | 104 |
| i. | Spring Hook | 2 | 2 |
| j. | wall brackets | 4 | 4 |
| k. | Φ5×50 Wall Screws | 8 | 8 |
| l. | Hollow Wall anchors | 8 | 8 |
| m. | M4x4 Screws | 24 | 24 |
| n. | Angle cover | 4 | 4 |
| o. | Center Support Bar | 1 | 1 |
| p. | White gloves | 2 | 2 |
| q. | Spring | 4 | 4 |
Frame Assembly
Step 1: Place the included soft padded foam sheet on a clean area where the screen will be assembled.
Step 2: Position the pieces of the frame on the foam sheet in the arrangement shown above.

Step 3: Insert center joint (a/b) connectors into one-half of the horizontal frame (B/C) and secure with the M4x7 screws (M) as shown in the illustration below.
Tip: The center joint (b) with the larger diameter holes should be on top.

Step 4: Connect the elbow joints (c/d) to the top and bottom sections of the vertical frame. Once inserted, connect the vertical sections to the horizontal frame sections. Make sure all holes are in alignment and the frame pieces are flush (no gaps). They should form perfect right angles.
Tip: The elbow joint (d) with the larger diameter holes should be on top.

Step 5: Secure the elbow joints by fastening them with M4x7 screws (g), 4 at each corner
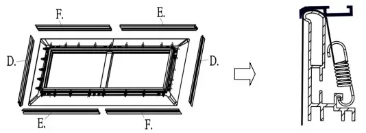
Screen Material
CAUTION!
THE PROJECTION FABRIC IS A DELICATE OPTICAL/LENTICULAR SCREEN MATERIAL AND SHOULD NOT BE FOLDED, BENT, OR CREASED. ALWAYS MAINTAIN SCREEN MATERIAL FLAT AND TAUT DURING SETUP AND DISASSEMBLY. TWO PEOPLE ARE REQUIRED TO SETUP AND INSTALL THE MATERIAL TO AVOID PERMANENT DAMAGE. ANY DAMAGES TO THE SCREEN MATERIAL WILL VOID YOUR WARRANTY.
TWO PERSON SETUP
Step 6: Carefully and gently place the assembled frame on top of the screen material in the marked areas as shown below. Make sure to not allow the angle edge of the frame to come in direct contact with the screen material to avoid puncturing it.

Step 7: Hook one end of the spring and secure inside the groove of the frame, use the spring hook (h) to attach the spring to the hole located on the screen material’s outer edge in the following order.

Begin by first attaching the center points on both vertical (left/right) sides, steps 1-2. Then the center points on both horizontal (top/bottom) sides, steps 3-4. Once all center points have been secured, make sure the screen material is still within the marked areas before proceeding to attach the next springs. Continue attaching the rest of the springs to the material in the following order in steps 5-12.

Note (after all springs have been attached):
Correct material installation –Corners of the screen material are properly wrapped around the corner edges of the frame and material is evenly tensioned and flat, creating a nicely taut surface.
Incorrect material installation –The corners of the screen material are not properly wrapped along the edge of the frame leaving the material with unbalanced tension and an uneven finish. To correct, detach springs from material at the corner(s) where material does not lie flat along the edge of the frame, reposition the material so that it lies flat and wraps along the edge of the frame, and reattach springs to the material.
Center Support Bar
Step 8: Insert the Center Support Bar (o) into the upper top groove on the back of the frame with the bottom end near the approximate center point of the frame and rotate it in at an angle so that both ends of the bar are in alignment with the groove.
]
Attention: Do not proceed with the Edge Trim installation until making sure there are no ripples in the material.
Edge Trim Installation
ATTENTION: The back of the material has labels indicating the TOP and BOTTOM. The top edge trim piece with the logo should be installed at the top. The material is directional and will not accurately reflect if bottom side is projected on.
Step 9: Place the edge trim frame pieces over each end of the frame.

Connect edge trim frames (e/f) together using the M4 center joint (e) and secure with four of the M4x4 screws (m) as show in Step 1. Repeat for other side.
Once both top and bottom edge trim frames have been connected, attach the vertical (left/right) sides edge trim frames (d) using the elbow joints (f) and secure with four M4x4 screws (m) on all corners, Step 2.

Step 10: Install the angle cover (n) on each corner of the frame using the M4x4 screws (m). Note: The angle cover screws holes align with the screw holes on the elbow joint.

Step 11: Install the springs (q) in each middle area to further support the bezel trim edge frame.
Material Tip: Proper Projector Placement for CLR® 3
The CLR® 3 is exclusively for table-mounted ultra-short throw projectors.

Overhead placement or a standard projector will make the image very dark, on account of the screen’s absorbent layer deflecting light that is not aligned with its reflective angle.

Wall Installation
Step 12: Measure the overall length and height of the frame and drill holes for the top brackets. Line up the wall brackets with the drilled holes on the installation location and screw them in using a Phillips screwdriver. If not installing into a structural wood stud, use a hollow wall anchor then screw in the M5x50 wood screws with a screwdriver. Make sure the brackets are leveled.

| Model/Size | X = Wall bracket distance | X1 = Bracket hole distance | Y = Top/Bottom Wall Bracket Height |
| 103” | 1200mm (47.24”) | 30mm (1.18”) | 1110mm (43.7”) |
| 123’’ | 1400mm (55.12”) | 30mm (1.18”) | 1360mm (53.54”) |
Step 14: Position the fixed frame screen onto the top wall brackets as shown below and push down at the center of the top of the frame to secure.

For Technical Support or an Elite Screens contact in your area, visit www.elitescreens.com




















