PRO-E 140 High Beam Cube Acid E-Bike

PRO-E 140 HIGH BEAM

Head light for E-Bikes with speeds up to 25 km/h (Pedelecs). This head light is for DC power source from 6 to 16 V only. Connection prepared for BOSCH BES 3 connector systems. Do not use it to an AC power source (e.g. a dynamo)!
INTENDED USE
This product is intended for mounting on approved vehicles only. Make sure that your vehicle is suitable for retrofitting this product. If you are not absolutely sure, please contact your dealer. This product is approved as a front light on E-Bikes according to the currently valid STVZO. For switching on and off, use the E-Bike control system. This requires a professional electrical connection to the E-Bike system and a light activation on the E-Bike system. It is imperative that you have this work carried out by your dealer. Use the product only as described in this manual. Any other use is considered as not intended and can lead to accidents, serious injury or damage to the vehicle. The product is not a toy for children. The manufacturer or dealer accepts no liability for damage caused by incorrect mounting and improper or incorrect use.
Product Overview

Product Content
- Headlight

- Bolt screw

- Rubber O-ring

- Handlebar bracket Ø35

- Pads for Ø31.8

- Screw M4 x 12 mm

- Universal bracket

- Universal bracket

- Fork bracket

- Screw M5 x 20 mm

- Nut M5

- Knurled washer

- K-reflector

- Reflector bracket

- Reflector bracket

- Spacer

- high beam control switch

- Bracket for high beam switch

- Screw M3 x 18 mm

- Nut M3

- Not included in delivery
Only use a screw and washer that is suitable for your fork. If you are unsure, please contact your dealer.
Technical Description
- Type Name : HKAE
- Model No. : HKAE130P2AC
- Light Intensity : 140 Lux (High Beam) / 90 Lux (Low Beam)
- Luminous Flux LED : 1100 Lumen (High Beam) / 530 Lumen (Low Beam)
- Optical Technology : MTi+
- Light Source : 4 x High Intensity LED
- Colour of light : 6000K (5% tolerance)
- Input Voltage : 6 – 16 V (DC)
- Max. Peak Current : High Beam: 1.1A (12V) / 2.1A (6V) | Low Beam: 0.5A (12V) / 1.0A (6V
- Operating Temperature : -25~+70 °C
- Housing : 6061 Aluminium
- Cable Length (motor) : 1300 mm
- Plug: BOSCH System (BES 3)
- Weight : 145 g
- Dimension : ø46 x 59 mm
- IP Protection Class : IP56
- Wattage : 13 W max.
Technical modification reserved.
Mounting of the headlight
Mounting on fork
IMPORTANT!
Usage without K-reflector does not comply with the STVZO.

Mounting on handlebar

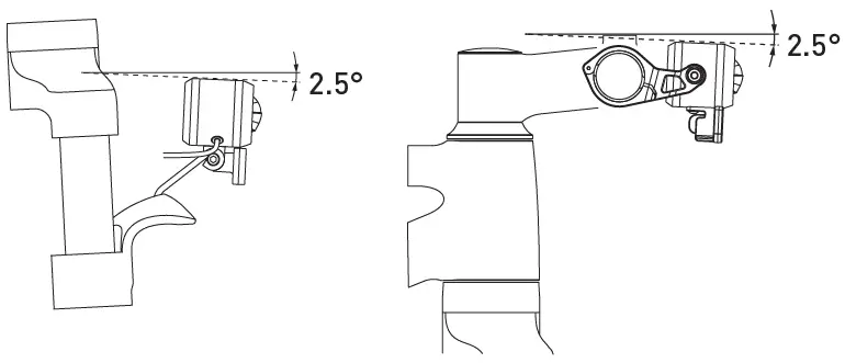
Product setting
Presetting
Correct setting

IMPORTANT! Adjust the light cone of the spotlight so that the center of the light cone in 5 m is half as high as the spotlight itself.
Mounting of high beam control switch
On bracket for high beam control switch.
The bracket for the high beam control switch can be installed on the handlebars in both directions.
Any existing components may have to be dismantled before installing the bracket for the high beam control switch. Please consider the instructions in the operating manual of the vehicle and the respective component.
- Slide the bracket for the high beam control switch onto the handlebars.

- Push the high beam control switch from the side notch into the bracket.7

- Assemble the bracket with the provided screw and nut.

- The position of screw and nut can be switched for installation need.
Magura MT & HS series brake levers itch
Clamp is not included in delivery. For more information, please contact your dealer.
Magura style clamp

The arrow on the clamp points upwards.

- Tighten the upper screw first, then tighten the lower screw with 4 Nm torque. (Tektro: 5-7 Nm)
- Push the button into clamp.
Connection to BOSCH motor
When inserting the BOSCH plug into the front light socket of the BOSCH motor, make sure that the plug audibly clicks into place.
GENERAL
READ AND KEEP THE MANUAL
This and other accompanying instructions contain important information on the assembly, initial operation, and maintenance of the product. Read all enclosed instructions carefully before assembling or using the product, especially the general safety instructions. Non-observance of this manual may result in serious injury or damage to the product itself and your vehicle. Keep the enclosed instructions close to hand for further use. If you pass on
the product or the vehicle equipped with the product to a third party, always include all accompanying instructions. We at CUBE strongly recommend that you have this product assembled by your dealer. The enclosed instructions are subject to European legislation. If the product or vehicle is delivered outside Europe, the manufacturer/importer may have to provide additional instructions
EXPLANATION OF SYMBOLS
The following symbols and signal words are used in the enclosed instructions, on the product or on the packaging.
WARNING!
A medium risk of hazard which may result in death or serious injury if not avoided.
CAUTION!
A low risk of hazard which may result in moderate or minor injury if not avoided.
NOTICE!
Warning of possible damage to property.
- Useful additional information for assembly or operation.
- Read and observe the enclosed instructions.
- NM Use a torque wrench. Use the torque values indicated in the symbol.
- Observe indication sound.
SAFETY INSTRUCTIONS FOR ACCESSORIES
WARNING!
Risk of accident and injury!
Read all safety notes and instructions. Failure to observe the safety instructions and instructions can cause acci-dents, serious injury and damage.
Safety of children
If children play with the packaging or small parts, they may swallow them and suffocate or injure themselves.
- Keep small parts away from children.
- Do not let children play with the packaging or product.
- Do not leave the product or vehicle unattended during assembly.
Safety instructions for assembly
- This head light is for DC power source from 6 to 16 V only. Do not use it to an AC power source (e.g. a dynamo)! Connecting over voltage power may cause the lamp to be destroyed!
- The electrical connection of the product has to be done professionally. Please contact your dealer for the electrical connection of the product to your vehicle.
- Before assembly, check the scope of delivery of the product for completeness.
- Before assembly, check all components of the product and the vehicle for damage, sharp edges or burrs.
- If the scope of delivery for the product is not complete or if you notice any damage, sharp edges or burrs on the product, components or vehicle, do not use it. Have the product and the vehicle checked by your dealer.
- Only use parts and accessories that are intended for the product or included with the product. Components from other manufacturers may affect optimal function.
- If you intend to combine this product with vehicles of other manufacturers, be sure to check their specifications and check dimensional accuracy and compatibility according to the instructions in the enclosed manuals and the owner‘s manual of your vehicle.
Screw connections must be tightened correctly with a torque wrench and with correct torque values. - If you are not experienced in using a torque wrench or do not have a suitable torque wrench, have loose screw connections checked by your dealer.
- Note special torques for components made of aluminum or carbon fiber reinforced polymer. Please also read and follow the operating instructions of your vehicle.
Safety Instructions for Operation
Please note that accessories can have a significant influence on the characteristics of the vehicle.
- For optimum high beam performance, a power supply of at least 13 W at a nominal voltage of 12 V is strongly recommended. An inadequate power supply (<13 W) may cause the high beam to have no function or affect performance. Low voltage (<6 V) can result in no function or poor per-formance for high & low beam.
- The light housing can get hot when in use. Please keep it away from flammable materials and avoid direct contact with your skin.
- Lighting equipment must be mounted in a correct and fixed manner and permanently ready for operation. They must not be concealed.
- Prior to every ride, a secure and sturdy connection of the light to its mounting bracket and of the mounting bracket to the bicycle must be checked and ensured.
- For switching on and off, use the E-Bike control system.
- Never point the light beam into your eyes or the eyes of others.
- If you are not absolutely sure or if you have questions, please contact your dealer.
- The enclosed instructions cannot cover every possible combination of the product with all vehicle models.
Safety instructions for maintenance
Prevent malfunctions due to excessive wear, material fatigue or loose screw connections:
- Check the product and your vehicle regularly.
- Do not use the product and your vehicle if you notice excessive wear or loose screw connections.
- Do not use the vehicle if you notice cracks, deformation or color changes.
- Have the vehicle inspected immediately by your dealer if you notice excessive wear, loose screw connections, deformation, cracks or color changes.
- The LEDs are not interchangeable. If a LED fails, the entire light must be replaced.
CLEANING AND CARE
NOTICE!
Risk of damage!
Improper handling of cleaning agents can cause damage to the product.
- Do not use aggressive cleaning agents, brushes with metal or nylon bristles or sharp or metallic cleaning objects such as knives, hard spatulas and the like. These can damage the surfaces and the product.
- Never use high-pressure cleaners, high air pressure or liquids containing alcohol for cleaning. Do not use aggressive cleaners (also no alcohol).
- Clean the product regularly with a damp and soft cleaning cloth (if necessary with a mild detergent).
STORAGE
All parts must be completely dry before storage.
- Always store the product in a dry place.
- Protect the product from direct sunlight.
DISPOSAL
Dispose of the packaging according to its type. Add cardboard and cartons to your waste paper collection, and films and plastic parts to your recyclables collection. The product is not allowed to be disposed of with normal household waste. The product can only be disposed of at a collection point for electronic waste. Please contact your local municipality for information on how to dispose of the product.
LIABILITY FOR MATERIAL DEFECTS
If there are any defects, please contact the dealer from whom you purchased the product. In order to ensure that your complaint is processed smoothly, it is necessary for you to present proof of purchase and proof of inspection. Please keep them in a safe place. To ensure a long service life and durability of your product or your vehicle, you may only use it in accordance with its intended purpose. It is essential that you observe the information in the operating instructions of your vehicle. Furthermore, the installation instructions (especially torques for screws) and the prescribed maintenance intervals must be observed.
OTHER INFORMATION
Please visit us occasionally on our website at www.CUBE.eu. There you will find news, information and the latest versions of our manuals as well as the addresses of our specialist dealers.
Pending System GmbH & Co. KG Ludwig-Hüttner-Str. 5-7
D-95679 Waldershof
+49 (0)9231 97 007 80
www.cube.eu

































