Beacon LIGHTING 229125 Sunset Solar Wall Bracket Instruction Manual
Thank you for purchasing this quality Lucci product. To ensure correct function and safety, please read and follow all instructions carefully before assembly, installation and use of the product. Please keep instructions for future reference.
Warranty
- This product is covered by a 12 month warranty from the date of purchase. Please retain proof of purchase.
- Warranty will be void if there is any damage due to improper usage or modification to the fitting.
- Failure to comply with the instructions in this manual may increase the risk of damage or injury and will void warranty.
Installation requirements
- Select a suitable location for installation;
- This product is suitable for outdoor use only.
- This product is protected against water penetration to IP44 standards, which is splashing in every direction and is not designed to be immersed in water.
- Lay out all the components on a smooth surface and make sure there are no components missing before assembling. If parts are missing, return the complete product to the place of purchase for inspection or replacement.
- Check whether the fitting has been damaged during transport. Do not operate/install any product which appears damaged in any way. Return the complete product to the place of purchase for inspection, repair or replacement.
Installation directions
- Remove all packaging material from the product and be careful not to throw away accessories that may be hidden within the packaging material.
- Remove the mounting bracket (A) from the fitting (C) by loosening the screws (B). (Step 1)
- Use the mounting bracket as a template to mark the screw positions onto the wall. Drill holes into the wall and push plastic anchors (D) into the holes. (Step 2)
- Install the mounting bracket onto the wall by using the mounting screws (E). Ensure that the anchors and mounting screws used are suitable for the mounting surface. (Step 2)
- Secure the fitting back on the mounting bracket using the screws (B) rovided. (Step 3)
- Loosen the cover (F) from the fitting by turning it anti-clockwise. (Step 4)
- Turn the ON/OFF switch (H) to the ON position. Then the solar panel can charge the battery under sunlight. When there is no sunlight, the fitting will turn on automatically. When the battery is fully charged (all day sunlight), the light can last upto 8 hours. (Step 4)
- Secure the cover back on the fitting, making sure that there is no gap between the cover and the fitting for water proof. (Step 5)
Installation Instructions





The fitting has a built-in rechargeable battery
IFR18650 (3.2V 1.0Ah) type battery located inside the unit has a limited life of up to 1 year. After this time the battery can be changed over with a new one simply by:
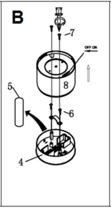
- Removing the cover (1) and the solar unit (2) from the lamp body (3) by turning the cover anti-clockwise (A).

- Removing the battery compartment (4) from the solar unit body (8) by loosening the 2 screws (7) (B).

- Replace the battery (5) with a new one by loosening the 2 screws (6). Make sure the polarity is right (C).

- Secure the battery and the battery compartment back using the screws (D).
- Secure the cover and the solar unit back to the lamp body.
Safety tips
- Do not drop the system or make impact to the system.
- Do not turn on the ON/OFF switch during transportation, faulty condition, or dangerous condition (battery leakage, control unit box damaged / burned / high temperature).
- Do not install the fitting in a position where sunlight cannot reach the solar panel.
Specifications
| SKU | 229125 |
| Rated Voltage | 3.2 VDC |
| IP Rating | IP44 |
| Dimensions | H:115mm x W:89mm x E:115mm |
| Battery | IFR18650 (3.2V 1.0Ah) rechargeable Li-Fe battery |
| LEDS | >27 lumens, 0.3W , 3000K |
| Light up time | >8 hours when fully charged (and there has been sufficient sunlight) |
| Weight | 0.39kg |





















