Installation Instructions
Thank you for purchasing this quality Lucci product. To ensure correct function and safety, please read and follow all instructions carefully before assembly, installation and use of this product. Please keep instructions for future reference.
Warranty
- This fitting is covered by a 12-month warranty. The warranty is from date of purchase, not the date of installation.
- If the fitting is not assembled and installed by a licensed electrician the warranty will be void.
- Please retain proof of purchase and evidence of assembly and installation by a licensed electrician.
- Warranty will be void if there is any damage due to improper usage or modification to the fitting.
- Failure to comply with the instructions in this manual may increase the risk of damage or injury and will void warranty.
Installation Requirements
- This fitting must be assembled and installed by a licensed electrician.
- All wiring and installation of the light fitting must adhere to local and national wiring rules. eg. AS/NZS 3000:2007/Amendment 2:2012 Electrical installations.
- Do not exceed the maximum wattage rating.
- Select a suitable location for installation:
– This product is suitable for indoor use only.
– The mounting point must support 2 times the weight of the fitting.
– Ensure the fitting is not installed in direct line of an air vent/system.
– If installing a fitting in an area prone to moisture, ensure that the area is well ventilated and an appropriately rated exhaust fan is used if required. Damage or corrosion caused by moisture is not a product fault, and as such is not covered under warranty. - Take care not to pull any electrical wires during unpacking as this may damage the connection.
- Lay out all the components on a smooth surface and make sure there are no components missing before assembling. If parts are missing, return the complete product to the place of purchase for inspection or replacement
- Check whether the fitting has been damaged during transport. Do not operate/install any product which appears damaged in any way. Return the complete product to the place of purchase for inspection, repair or replacement.
- Ensure power to the circuit you are working on has been switched OFF before commencing any electrical work.
Installation Directions
- Remove all packaging material from the product and be careful not to throw away accessories that may be hidden within the packaging material. If assembly is required, lay the fitting on a smooth non-scratch surface.
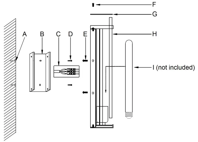
- Remove the top plate (G) from the fitting by loosening the screw (F).
- Remove the glass rods (H) by carefully lifting them upwards from the fitting.
NOTE: When handling the glass rods (H), ensure care is taken so they do not crack or break. - Remove the mounting bracket (B) from the fitting by loosening the screws (E) on the sides.
- Use the mounting bracket (B) as a template to mark the screw positions on the wall.
- Install the mounting bracket (B) onto the wall by using appropriately sized mounting screws (D) and anchors (A). Ensure the screws (D) and anchors (A) used are suitable for the mounting surface and surrounding environment.
- Connect the mains supply wire to the terminal block (C). Ensure the wires are secure and no bare wires are exposed.
Mains Supply Wire
Earth – Yellow/Green
Neutral – Blue or Black
Live – Brown or RedFitting Wire
Yellow/Green or
Blue or N
Brown or L - Install the fitting onto the mounting bracket (B) and secure by tightening the screws (E) on the sides.
- Install a globe (I – not included) into the lamp holder. Do not exceed the maximum wattage rating.
NOTE: SKU# 101419 – Karbon Decorative T8 globe is recommended. - Carefully install the glass rods (H) back into the fitting followed by the top plate (G) and secure with the screw (F).
- After the installation, switch on the fitting to test and enjoy your new lighting product.

Safety Tips
- Always ensure the power is OFF and the fitting has cooled down before performing any maintenance, cleaning, changing the globe, or making any adjustment to the fitting.
- To avoid injury or damage to the fitting, ensure that power leads and screws are secure before connecting the power.
- Select a suitable location away from liquids and hazards.
- Ensure that the fitting does not come in contact with corrosive chemicals, etc.
- To clean, wipe with a damp clean cloth. Never soak the fitting with water.
Specifications
| SKU # | 50345 | 50346 |
| Colour | Polished Chrome | Antique Black |
| Rated Voltage | 220-240V– 50Hz | |
| Rated Wattage | 25W Max. (Karbon T8 globe recommended) | |
| Lamp Holder | ES / E27 | |
| Weight | 1.8kg | |
| Dimensions | H:380mm W:100mm E:85mm | |
CORBELLI 1 LIGHT WALL BRACKET
SKU# 050345, 050346
Rated Voltage 220-240V~ 50Hz
v 1.1


















