User Manual
Charger for Li-Ion Batteries
Updates and language-specific user manuals are available on
www.mascot.no/downloads/usermanuals
http://www.mascot.no/downloads/usermanualsBruksanvisning

IMPORTANT SAFETY INSTRUCTIONS!
TO REDUCE THE RISK OF FIRE AND ELECTRIC SHOCK:
READ THROUGH THESE INSTRUCTIONS PRIOR TO USING THE PRODUCT.
CAREFULLY FOLLOW THESE INSTRUCTIONS WHEN USING THE PRODUCT.
RETAIN THESE INSTRUCTIONS FOR FUTURE REFERENCE.
CAUTION! DOUBLE POLE / NEUTRAL FUSING!
This product is designed for indoor use. (Not applicable to products marked ”IP67”)
IP41 IP44 IP67
A version of this product marked ”IP41” may be available. This version is protected against the ingress of solid objects larger than 1.0 mm and the effects of vertically falling drops of water according to standard EN/IEC 60529.
A version of this product marked ”IP4X” or ”IP40” may be available. This version is protected against the ingress of solid objects larger than 1.0 mm.
A version of this product marked ”IP44” may be available. This version is protected against the ingress of solid objects larger than 1.0 mm and the effects of water splashed against the enclosure from any direction according to standard EN/IEC 60529.
A version of this product, marked with a symbol with two drops of water and/or ”IP67”, may be available.
This version is filled with a potting compound and is dust-tight and protected against the effects of temporary immersion in water according to standard EN/IEC 60529, but must not be immersed in water for longer periods of time.
Products marked with the “double square symbol” are double insulated (Insulation Class II). Products without this mark are Class I (relies on safety earth for protection).
WARNING: To avoid the risk of electric shock, Class I products must only be connected to a supply main with protective earth.
At the end of their service life, electric and electronic equipment and their accessories shall not be discarded with the municipal waste but are disposed of using separate collection, treatment, recovery/recycling, and environmentally sound disposal. This also applies to any potentially bio-hazardous parts and accessories. If in doubt, contact your local authorities to determine the proper method. Technical specifications for your product: see tables, the marking on the product or www.mascot.no
Cautions to observe prior to use
- The intended use for this product is to charge a battery or a battery-powered electrical accessory (NiCd/NiMH, Lead-Acid, Lithium-Ion, or LiFePO4 batteries) or to be used as a Power Supply to power an electrical accessory. Please see the marking on the product you have to verify the type of product you have and read the application instructions and technical specifications included with this manual.
- This product may be used by unskilled operators, under the condition that these instructions are followed.
- Unskilled operators may contact the supplier or manufacturer for assistance, if needed, in setting up, using, or maintaining this product and to report unexpected operations or events.
- This appliance can be used by children aged 8 years and above and persons with reduced physical, sensory or mental capabilities or lack of experience and knowledge if they have been given supervision or instruction concerning the use of the appliance in a safe way and understand the hazards involved. Do not allow small children to handle this product while unattended as cables may represent a risk for strangulation and small parts may represent a risk for inhalation or swallowing.
- Do not allow animals to come into contact with this product. Some animals are known to cause damage to cables etc which may be a potential risk of electric shock and excessive temperatures. Also, cables and small parts may represent a strangulation risk for the animal.
- If the product is equipped with the main cord, please check that the cord is not damaged. If the cord is damaged, the product must not be used until the cord is replaced. Replacement should be carried out by qualified personnel.
- The main socket outlet used should always be easily accessible to facilitate immediate removal of the product’s mains supply should an operational error occur during use. If the product has a detachable mains cord the appliance coupler may be used as a disconnect device.
- The product is “switched on” by inserting the mains plug into the mains socket and “switched off” by disconnecting the mains plug from the mains socket.
- The product may be connected to an IT-type mains supply.
- For use in the U.S.A.:
• Be sure to use 125V 15A receptacle configuration before plugging in.
• Use a UL817-standard-compliant mains cord (plug type NEMA 1-15, cord type SJT or SVT). - For use outside the U.S.A: Use a mains cord compliant with the country-specific requirements.
- The time from powering this product until its full function starts may exceed 15 seconds.
- Should an operational error or unexpected change in the performance occur during use; disconnect the product from the mains immediately by disconnecting the mains plug from the mains socket and contacting the supplier or manufacturer (see contact details on the front of this document).
- When not in use please think about disconnecting the product from the mains. This will reduce the risk of hazards, reduce the product’s environmental impact and save electricity costs.
- To avoid overheating make sure there is sufficient room for the circulation of air around the product when in use. Do not cover it up.
- Even though this product complies with relevant safety standards it should not be in contact with human skin for long periods as some people may get allergies or injuries from long-term contact with moderate temperatures and/or plastic materials.
- Prior to using this product with accessories and/ or interconnected equipment please carefully read its respective User Manuals.
- If the product is supplied with exchangeable output plugs, please see a separate page for assembly.
- Output cables having a modular plug ( similar to a telephone connector) must never be connected to a telephone outlet.
- Products with a welded plastic housing or rated IP 67 are not repairable. For such products, the supply cord cannot be replaced. If the cord is damaged the appliance should be scrapped. Please contact your supplier for a replacement part.
- This product contains hazardous voltages and there are no user-replaceable parts inside the product. Never attempt to remove the cover.
- WARNING: No modification of this equipment is allowed. Any repair/service should be carried out by qualified personnel who may get assistance by contacting the manufacturer or the manufacturer’s agent.
- Products specified to have automatic polarity protection must be switched off if a battery is connected with reverse polarity. The protection will be automatically reset when the polarity has been corrected.
- In chargers specified to have a replaceable fuse as polarity protection, the fuse must be replaced if the battery has been connected with reverse polarity. When replacing the fuse, a fuse of the same type and rating must be used.
- If the product is specified to comply with the standard for Medical Electrical Equipment (standards based on IEC60601-1) it complies with some of the requirements for medical electrical equipment and may be used in medical applications and hospital environments.
- The product must be kept away from sources of heat and may not be used in the vicinity of flammable anesthetic gases or in other environments with a flammable or explosive atmosphere.
- If the product is specified to comply with the standard for Medical Electrical Equipment for Home Healthcare Environment (standard IEC60601-1-11) it may be used in medical applications used in a home healthcare environment.
NOTE: Products relying on safety earth for protection (Class I) may not be used in a home healthcare environment unless they are permanently wired to the building installation: Installation must only be carried out by qualified service personnel, following the below instructions:
• The protective earth conductor must be min. 0.75 mm 2
• Connect the protective earth conductor to the external protective earthing system.
• Verify that the protective earth terminal used is connected to the external protective earthing system.
• Verify the integrity of the external protective earthing system. - This product converts the mains voltage to a safe extra-low voltage. The output from products applying with 2MOPP insulation ( model names followed by ”P”) may be treated as Applied Part Type B or Type BF according to standard EN/IEC 60601-1 and may come in physical contact with a patient. The housing of the product shall not be allowed to contact the patient.
- This product must be operated in an environment within a temperature range of +5 to +40°C, with humidity of 15 – 93 % RH and an atmospheric pressure of 70 – 106 kPa (700 – 1060 hPa). If the product has recently been stored or transported at conditions outside this range; please wait for 30 minutes before operating the product.
- The expected service life of this product and accessories delivered with this product is three (3) years if operated as indicated above. However; the guarantee times indicated in the document ”TERMS OF SALES AND DELIVERY FOR MASCOT AS” apply (available at www.mascot.com).
- Environmental parameters during transport and storage between uses: temperature range -25 to +85 °C, humidity 15 – 93% RH NC and atmospheric pressure 70 – 106 kPa (700 – 1060 hPa).
- If stored for longer periods of time the environmental parameters should be within the temperature range +5 to +35°C, humidity range 10 – 75% RH NC and atmospheric pressure 70 – 106 kPa (700 – 1060 hPa) to maintain the products expected service life.
- The expected shelf life of this product is one (1) year if stored as indicated above.
- This product complies with the requirements for electromagnetic compatibility for medical electrical equipment and for use in the residential, office, or light industrial environments but all-electric products imply a potential for electromagnetic or other interference between the product and other devices. If such interference is suspected please disconnect the product from the mains and consult a qualified technician, your supplier, or the manufacturer.
- No special maintenance procedure is required but if the product gets dusty or dirty it should be wiped clean using a dry cloth while the product is disconnected from the mains. No other maintenance should be necessary.
- For products having a plastic casing, please avoid any contact with lotions, oils, grease, and solvents as most types of plastic may be degraded by such chemicals. Also make sure to position, operate and store such products away from UV light and direct sunlight.
- Position, operate and store this product only under reasonable foreseeable environmental conditions with respect to magnetic fields, EM fields, electrostatic discharges, pressure or variations in pressure, acceleration, etc.
- If this product is used with or mounted in a vehicle it may only be used when the vehicle is not in use.
- When in use, position this product so that the label can be read – within 40 cm of the operator.
- Turn the product off and allow its housing to cool down prior to moving it to another location.
Cautions to observe prior to charging Li-Ion-batteries
- Li-Ion chargers are designed for charging LiIon (LI) batteries only. Make sure you have the correct battery charger for the chemistry and number of cells in series. If the number of cells in series in the battery pack is not known you can calculate it by dividing the voltage indicated by 3.6VDC for LI (e.g. a 14.4VDC LI battery contains 4 Li-Ion cells).
Make sure the charge voltage indicated on the charger corresponds to the number of battery cells in series multiplied by 4.2VDC (e.g. a 4 cell LI battery is typically charged using 16.8VDC).
NOTE! The voltages indicated above are typical and may vary between battery types and battery makes. If in doubt, consult the specifications for your battery. - Make sure the specifications for your battery allows for the maximum charge current indicated on the charger.
- Make sure the specifications for your battery allows for the environmental conditions present during charging.
- Never attempt to charge batteries that are not rechargeable.
- We recommend that you connect the charger to the mains before the connection is made to the battery.
This will reduce the sparks that may occur due to the difference in potential between charger terminals and battery terminals.
NOTE! Make sure the charger terminals are not short-circuited and ensure that the polarity is correct. - Please ensure correct polarity when connecting to the battery terminals. Reverse polarity connection may, in some chargers (see the specifications of the charger), result in a fuse blowing, requiring replacement, or leaving the charger useless.
- The charge cycle starts when the charger is connected to the mains.
- If the charger is disconnected from the mains voltage during a charge cycle the charger will start a new charge cycle when it is reconnected to the mains.
- The recommended minimum and maximum battery capacity for which the specific charger can be used vary from battery to battery. Please follow the datasheet and recommendations from the battery manufacturer. In our tables, we use typical 1C as a maximum current for Li-Ion cells. 1C means that the charge current for a 1Ah battery should be maxed at 1A. Thus the typical minimum capacity recommendation is 1Ah for a 1A charger. For max battery capacity, we have used C/40 for chargers with a timer (and/or uC) and 100 times current detection levels for chargers using only this termination method. For a 1A charger with 0.1A current detection level the max capacity recommended will be 100 x 0.1A = 10Ah.
Again these are just typical recommendations. Please read recommendations and datasheets from the battery manufacturer.
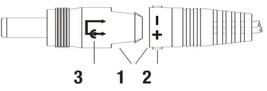
How to connect exchangeable DC-output plugs

- To connect for the desired polarity, both plug ends are clearly marked.
- When connected, the female plug is also marked on each side to identify plug polarity.
- Shows the center polarity of the plug.
How to connect exchangeable AC-plugs

The following exchangeable AC plugs are available:
| ”EURO” | 250V 2.5A (EN50075/IEC83 C5 II) |
| ”US” | 125V 2.5A (NEMA 1-15 / CSA-C22.2 No.42) |
| ”UK” | 250V 13A (BS 1363) |
| ”AUS” | 250V 10A (AS/NZS 3112) |
Mains Cord Set is available on request if you wish your product to be ”DeskTop”
Mounting and use for bracket Mascot, part no. 205800
Wall mount: Fix the bracket to the wall using screws suitable for the wall material and:
head diameter: 8 – 9.5 mm, head height: max. 3 mm, thread diameter: 4 – 5.5 mm, thread length: min. 16 mm.
Use one screw for each of the oval openings in the bracket, a total of four screws.
Place the Power Supply / Charger centered on the bracket so that the slot in the bottom housing is in line with the tabs on the bracket.
Push down on the handle marked ”Push” while pushing the product against the wall. Release and the product lock to the wall mount.
Release the product from the wall mount by pushing down on the handle marked ”Push” while pulling the product from the wall.
If not fixed to a wall the bracket may be used as a handle, following the same procedure.
Explanation of Li-Ion battery charge cycle
(See tables for methods for each charger model)
Charging method A
STEP 1 – BOOST CHARGE
To start a charge cycle, connect the charger to the mains.
The charger is in constant current mode, charging with the maximum current indicated on the charger, the LED indicator on the charger is ORANGE. This step allows rapid charging of your battery until the battery reaches typically 80 – 95% of its capacity.
STEP 2 – TOP-UP CHARGE
The charger is in constant voltage mode, charging with a decreasing current until the current is below the charger’s charge termination level (indicated on the charger). The LED indicator on the charger is ORANGE. The battery is charged to its full capacity at the end of this step.
STEP 3 –FLOAT CHARGE
The LED indicator on the charger is GREEN and the battery is fully charged.
The charge voltage is at float level and the charger may remain connected to the battery.
The charger will return to Step 1 if the battery is used. A load larger than the cut-off current will initiate a new charge cycle.
Charging method B
STEP 1 – BOOST CHARGE
To start a charge cycle, connect the charger to the mains.
The charger is in constant current mode, charging with the maximum current indicated on the charger, the LED indicator on the charger is ORANGE. This step allows rapid charging of your battery until the battery voltage has increased to a certain set level
STEP 2 – TOP-UP CHARGE
When the battery voltage has increased to a certain set level the charger enters constant voltage mode, charging with a decreasing current until the current is below the charger’s
charge termination level (indicated on the charger). The LED indicator on the charger is ORANGE.
When the battery has reached typically 90 – 95% of its full capacity the charge current has dropped below a set level and the LED indication on the charger changes to YELLOW to indicate that the battery is almost fully charged and may be ready for use. The constant voltage charge continues and the battery reaches its full capacity at the end of this step
STEP 3 – FLOAT CHARGE
The LED indicator on the charger is GREEN and the battery is fully charged.
The charge voltage is at float level and the charger may remain connected to the battery.
The charger will return to Step 1 if the battery is used. A load larger than the cut-off current will initiate a new charge cycle.
Charging method C
STEP 1 – BOOST CHARGE
To start a charge cycle, connect the charger to the mains.
The charger is in constant current mode, charging with the maximum current indicated on the charger, the LED indicator on the charger is ORANGE (or RED 9640). This step allows rapid charging of your battery until the battery reaches typically 80 – 95% of its capacity.
STEP 2 –TIMER CHARGE
The charger is in constant voltage mode, charging with a decreasing current.
The the-indication on the charger is YELLOW. The charger is now in timer mode indicated by the YELLOW LED and will remain in this mode until the time interval is completed. The battery is charged to its full capacity at the end of this step.
STEP 3 – FLOAT CHARGE
The LED indicator on the charger is GREEN and the battery is fully charged.
For Li-Ion batteries, the charge current is zero and the battery has been charged it its full capacity.
The charge voltage is at float level and the charger may remain connected to the battery charger and will return to Step 1 if the battery is used. A load larger than the constant current level in Step 1 will initiate a new charge cycle.
Charging method D
STEP 1 – BOOST CHARGE
LED-indicator: YELLOW.
The charger is in constant current mode (CC), charging with the maximum current until battery voltage reaches the Top-Up level.
STEP 2 – TOP-UP CHARGE
The charger is in constant voltage mode.
The LED indication will be FLASHING YELLOW during the Top-up charge.
The charger stays in this mode until the charge current decreases to charge termination level or the Top-Up Charge Timer runs out. The battery is charged to its full capacity at the end of this step
STEP 3 – FLOAT CHARGE
The LED indicator on the charger is GREEN and the battery is fully charged. The charge current is zero and the battery has been charged to its full capacity. The charger may remain connected to the battery. A new charge cycle will be initiated if the battery voltage decrease to 0.1V/cell.
BATTERY NOT CONNECTED INDICATIONS
Battery not connected is indicated by FLASHING GREEN. In this mode, the charger will apply short pulses attempting to wake up deeply discharged batteries.
ERROR INDICATIONS
| 2 red blinks: | The battery is connected to the charger with the wrong polarity! |
| 3 red blinks: | Charger output is shorted. Check output cable connection! |
| 4 red blinks: | The battery voltage is low. Check battery status or voltage. |
| 5 red blinks: | The safety timer has run out. Check battery status or capacity. |
| LED off: | The battery voltage is too high. Check the battery voltage. |
WAIT FOR MODE INDICATIONS
| Yellow with 1 red blink: | The battery temperature is too low (<0°C) |
| Yellow with 2 red blinks: | The battery temperature is too high (>45°C) |

Electromagnetic Compatibility
In order to regulate the requirements for EMC (electromagnetic compatibility) with the aim of preventing unsafe product situations, the EMC EN60601-1-2 standard has been implemented. This standard defines the levels of immunity to electromagnetic interference as well as maximum levels of electromagnetic emissions for medical devices. Medical devices manufactured by Mascot have been tested and conform with the requirements of IEC/EN 60601-1-2, 3rd & 4th edition, nevertheless, special precautions may need to be observed:
The Mascot products are suitable for use in Domestic, Residential, Office, and Hospital environments, except in special locations where EM Disturbances are known to be high, such as High-Frequency Surgical Equipment or Magnetic Resonance Imaging systems.
When used according to its specification the User can expect the product to fulfill its essential performance, being powering Medical Electrical Devices or charging batteries for Medical Electrical Devices.
WARNING: Use of this equipment adjacent to or stacked with other equipment should be avoided because it may result in improper operation. If such use is necessary, this equipment and the other equipment should be observed to verify that they are operating normally.
WARNING: The use of accessories, transducers, and cables other than provided by the manufacturer could result in increased electromagnetic emissions or decreased electromagnetic immunity of this equipment and result in improper operation.
WARNING: Portable RF communications equipment should be used no closer than 30 cm (12 inches) to any part of the power supply or battery charger, including cables. otherwise, degradation of the performance of this equipment could result.
GUIDANCE AND MANUFACTURER’S DECLARATION
The Masot products are intended for use in the electromagnetic environment specified below. The customer or user should ensure that it is used in such an environment.
| Test / Standard | Compliance level | Guidance |
| Emission: | ||
| RF emissions, CISPR 11 | Group 1, Class B | Suitable for use in all establishments, including domestic establishments and those directly connected to the public low-voltage power supply network that supplies buildings used for domestic purposes. RF emissions are not likely to cause any interference in nearby electronic equipment. However, a separation distance of 30 cm shall be maintained. |
| Harmonic emissions, IEC 61000-3-2 | – | |
| Voltage fluctuations / flicker missions, IEC 61000-3-3 | – | |
| Immunity: | ||
| Electrostatic discharge (ESD), IEC 61000-4-2 | ± 8 kV contact ± 15 kV air | Temporary loss of function may be experienced while the product is subject to the phenomena. The product is expected to recover to its normal operation. |
| Electrostatic fast transient / burst, IEC 61000-4-4 | ± 2 kV for AC-power lines ± 1 kV for output lines | |
| Surge, IEC 61000-4-5 | ± 1 kV line to line ± 2 kV line to earth (if applicable). | |
| Voltage dips, short interruptions, and voltage variations on power supply lines, IEC 61000-4-11 | <5% UT (0.5 cycle) 40% UT (5 cycles) 70% UT (25 cycles) <5% UT for 5 s UT = AC Input Voltage prior to the test. | Not applicable for non-magnetic field sensitive devices. |
| Power frequency magnetic field IEC 61000-4-8 | 3 A/m (50/60 Hz) | Not applicable for non-magnetic field sensitive devices. |
| Conducted RF, IEC 61000-4-6 | 3 Vrms 150 kHz to 80 MHz | Temporary loss of function may be experienced while the product is subject to the phenomena. The product is expected to recover to its normal operation. |
| Radiated RF, IEC 61000-4-3 | 3V/m for a Professional healthcare environment. 10 V/m for Home Healthcare environment. 80 MHz to 2.7 GHz | |
| These guidelines may not apply in all situations. Electromagnetic propagation is affected by absorption and reflection from structures, objects, and people and field strengths from fixed transmitters, such as base stations for radio (cellular/ cordless) telephones and land mobile radios, amateur radio, AM and FM radio broadcasts and TV broadcasts cannot be predicted theoretically with accuracy. To assess the electromagnetic environment due to fixed RF transmitters an EM site survey may be considered. If the measured field strength in the location exceeds the applicable RF compliance level above, the Mascot product should be observed to verify normal operation. If abnormal per- performance is observed, additional measures may be necessary, such as re-orienting or relocating the product. | ||
Technical data (If not appearing in the table see marking on the product)
Charge diagram A 1.0
| Input voltage | Charge LED indicator | 1 cell (3.6V) | 2 cell (7.2V) | 3 cell (10.8V) | 4 cell (14.4V) | 5 cell (18V) | |
| 2240(P) 2241(P) | 100-240Vac 50-60Hz max 0.35A | Orange CC ch.: Orange CV ch.: Green ch. complete: Rec. batt. capacity: | 1.3A < 4.2V 4.2V > 100mA <100mA 1.3Ah – 10Ah | 1.3A < 8.4V 8.4V >100mA <100mA 1.3Ah – 10Ah | 1.2A < 12.6V 12.6V >100mA < 100mA 1.2Ah – 10Ah | 0.9A <16.8V 16.8V >100mA < 100mA 0.9Ah – 10Ah | 0.7A < 21 V 21V >100mA <100mA 0.7Ah – 10Ah |
| 2740 | 100-240Vac 50-60Hz | Orange CC ch.: Orange CV ch.: Green ch. complete: Rec. batt. capacity: | 1.0A < 4.2V 4.2V > 100mA < 100mA 1Ah – 10Ah | 1.0A < 8.4V 8.4V > 100mA < 100mA 1Ah – 10Ah | 0.7A < 12.6V 12.6V >100mA < 100mA 0.7Ah – 10Ah | 0.6A < 16.8V 16.8V > 100mA < 100mA 0.6Ah – 10Ah | 0.5A < 21 V 21V > 100mA < 100mA 0.5Ah – 10Ah |
| Input voltage | Charge LED indicator | 6 cell (21.6V) | 7 cell (25.2V) | 8 cell (28.8V) | 9 cell (32.4V) | 10 cell (36V) | |
| 2240(P) 2241(P) | 100-240Vac 50-60Hz max 0.35A | Orange CC ch.: Orange CV ch.: Green ch. complete: Rec. batt. capacity: | 0.6A < 25.2V 25.2V > 100mA < 100mA 0.6Ah – 10Ah | 0.56A < 29.4V 29.4V > 100mA < 100mA 0.56Ah – 10Ah | -49A < 33.6V ))3.6V > 100mA < 100mA 0.49Ah -10Ah | 0.43A < 37.8V 37.8V > 100mA < 100mA 0.43Ah -10Ah | 0.39A < 421\, 42V > 100mA < 100mA 0.39Ah -10Ah |
| 2740 | 100-240Vac 50-60Hz | Orange CC ch.: Orange CV ch.: Green ch. complete: Rec. batt. capacity: | 0.4A < 25.2V 25.2V > 100mA < 100mA 0.4Ah – 10Ah | 0.35A < 29.4V 29.4V > 100mA < 100mA 0.35Ah – 10Ah | 0.3A < 33.6V 33.6V > 100mA < 100mA 0.3Ah -10Ah | 0.27A < 37.8V 37.8V > 100mA < 100mA 0.27Ah -10Ah | 0.25A < 42V 42V > 100mA < 100mA 0.25Ah -10Ah |
| Input voltage | Charge LED indicator | 11 cell (39.6V) | 12 cell (43.2V) | 13 cell (46.8V) | 14 cell (50.4V) | 16 cell (57.6V) | |
| 2240(P) 2241(P) | 100-240Vac 50-60Hz max 0.35A | Orange CC ch.: Orange CV ch.: Green ch. complete: Rec. batt. capacity: | 0.35A < 46.2V 46.2V > 100mA < 100mA 0.35Ah -10Ah | 0.32A < 50.4V 50.4V > 100mA < 100mA 0.32Ah -10Ah | 0.30A < 54.6V 54.6V > 100mA < 100mA 0.3Ah -10Ah | 0.27A < 58.8V 58.8V > 100mA < 100mA 0.27Ah -10Ah | 0.22A < 67.2V 67.2V > 100mA < 100mA 0.22Ah -10Ah |
| 2740 | 100-240Vac 50-60Hz | Orange CC ch.: Orange CV ch.: Green ch. complete: Rec. batt. capacity: | 0.22A < 46.2V 46.2V > 100mA < 100mA 0.22Ah -10Ah | 0.2A < 50.4V 50.4V > 100mA < 100mA 0.2Ah -10Ah | 0.18A < 54.6V 54.6V > 100mA < 100mA 0.18Ah -10Ah | 0.17A < 58.8V 58.8V > 100mA < 100mA 0.17Ah -10Ah | 0.15A < 67.2V 67.2V > 100mA < 100mA 0.15Ah -10Ah |
(P)= 2MOPP version. (All standard versions are also available as open frame units).
Charge diagram B 1.0
| Input voltage | Charge LED indicator | 1 cell (3.6V) | 2 cell (7.2V) | 3 cell (10.8V) | 4 cell (14.4V) | 5 cell (18V) | |
| 2440(P) | 100-240Vac 50-60Hz max. 1.6A | Orange CC ch.: Orange CV ch.: Yellow CV ch.: Green ch. complete: Rec. ball. capacity: | 4.5A < 4.2V 4.2V > 1.8A 4.2V < 1.8A < 300mA 4.5Ah – 30Ah | 4.5A < 8.4V 8.4V > 1.8A 8.4V < 1.8A < 300mA 4.5Ah – 30Ah | 4.5A < 12.6V 12.6V > 1.8A 12.6V < 1.8A < 300mA 4.5Ah – 30Ah | 3.5A < 16.8V 16.8V > 1.6A 16.8V < 1.6A < 300mA 3.5Ah – 30Ah | 3.3A < 21V 21V > 1.6A 21V < 1.6A < 300mA 3.3Ah – 30Ah |
| 2541(P) 2541B(P) 2542(P) | 100-240Vac 50-60Hz max 0.9A | Orange CC ch.: Orange CV ch.: Yellow CV ch.: Green ch. complete: Rec. ball. capacity: | 2.7A < 4.2V 4.2V >1.15A 4.2V < 1.15A < 100mA 2.7Ah -10Ah | 2.7A < 8.4V 8.4V> 1A 8.4V < 1A < 100mA 2.7Ah -10Ah | 2.3A < 12.6V 12.6V >1.0A 12.6V < 1.0A < 100mA 2.3Ah -10Ah | 2.OA < 16.8V0 16.8V> 0.85A 16.8V < 0.85A < 100mA 2Ah -10Ah | 1.6A < 21 V 21V> 0.7A 21V < 0.7A < 100mA 1.6Ah -10Ah |
| (20-60Vdc) max 2A | |||||||
| 2544 | 10-30Vdc | Orange CC ch.: Orange CV ch.: Yellow CV ch.: Green ch. complete: Rec. ball. capacity: | 3.0A < 4.2V 4.2V > 1.15A 4.2V < 1.15A < 100mA 3Ah -10Ah | 2.7A < 8.4V 8.4V > 1.15A 8.4V < 1.15A < 100mA 2.7Ah -10Ah | 2.3A < 12.6V 12.6V > 0.9A 12.6V < 0.9A < 100mA 2.3Ah -10Ah | 2.OA < 16.8V 16.8V > 0.85A 16.8V < 0.85A < 100mA 2Ah -10Ah | 1.6A < 21V 21V > 0.7A 21V < 0.7A < 100mA 1.6Ah -10Ah |
| 2641 per channel | 100-240Vac 50-60Hz | Orange CC ch.: Orange CV ch.: Yellow CV ch.: Green ch. complete: Rec. batt. capacity: | 2.7A < 4.2V 4.2V > 1.15A 4.2V < 1.15A < 100mA 2.7Ah -10Ah | 2.7A < 8.4V 8.4V > 1.15A 8.4V < 1.15A < 100mA 2.7Ah – 10Ah | 2.3A < 12.6V 12.6V > 0.9A 12.6V < 0.9A < 100mA 2.3Ah – 10Ah | 1.8A < 16.8V 16.8V > 0.85A 16.8V < 0.85A < 100mA 1.8Ah -10Ah | 1.4A < 21V 21V > 0.6A 21V < 0.6A < 100mA 1.4Ah – 10Ah |
| 2840(P) 284013 2840B(P) | 220-240Vac | Orange CC ch.: Orange CV ch.: Yellow CV ch.: Green h. complete: Rec. ball. capacity: | 8.5A < 4.2V 4.2V > 3.8A 4.2V < 3.8A < 300mA 8.5Ah – 30Ah | 8.0A < 8.4V 8.4V > 3.5A 8.4V < 3.5A < 300mA 8Ah – 30Ah | 7.0A < 12.6V 12.6V > 3.1A 12.6V < 3.1A < 300mA 7Ah – 30Ah | 6A < 16.8V 16.8V > 2.7A 16.8V < 2.7A < 300mA 6Ah – 30Ah | 4.5A < 21V 21V > 1.9A 21V < 1.9A < 300mA 4.5Ah – 30Ah |
| 50-60Hz | |||||||
| max.1.2A | |||||||
| 323240(P)im 324013 3240B(P) | 110-120Vac/ 220-240Vac 50-60Hz max. 2.1A | ||||||
| 3044 | 10-30Vdc | Orange CC ch.: Orange CV ch.: Yellow CV ch.: Green ch. complete: Rec. ball. capacity: | 4.OA < 4.2V 4.2V > 2A 4.2V < 2A < 250mA 4Ah – 25Ah | 4.OA < 8.4V 8.4V > 2A 8.4V < 2A < 250mA 4Ah – 25Ah | 4.OA < 12.6V 12.6V > 2A 12.6V < 2A < 250mA 4Ah – 25Ah | 3.5A < 16.8V 12.6V > 1.7A 12.6V < 1.7A < 250mA 3.5Ah – 25Ah | 2.8A < 21V 21V > 1.5A 21V < 1.5A < 250mA 2.8Ah – 25Ah |
| 3340 | 220-240Vac | N.A. | N.A. | N.A. | N.A. | N.A. |
(P)=2MOPP version. (B)=Special open frame PCB. (All standard versions are also available as open frame units).
Charge diagram B 1.1
| Input voltage | Charge LED indicator | 6 cell (21.6V) | 7 cell (25.2V) | 8 cell (28.8V) | 9 cell (32.4V) | 10 cell (36V) | |
| 2440(P) | 100-240Vac 50-60Hz max. 1MA | Orange CC ch.: Orange CV ch.: Yellow CV ch.: Green ch. complete: Rec. batt. capacity: | 2.8A <25.2V 25.2V >1MA 25.2V <1MA <300mA 2.8Ah – 30Ah | 2.5A <29.4V 29.4V >0.8A 29.4V <0.8A <300mA 2.5Ah – 30Ah | 2.1A <33.6V 33.6V >0.8A 33.6V <0.8A <300mA 2.1Ah – 30Ah | 1.9A <37.8V 37.8V >0.8A 37.8V <0.8A <200mA 1.9Ah – 20Ah | 1.8A <42V 42V >0.8A 42V <0.8A <200mA 1.8Ah – 20Ah |
| 2541(P) 2541 (P) 2542(P) | 100-240Vac 50-60Hz max 0.9A | Orange CC ch.: Orange CV ch.: Yellow CV ch.: Green ch. complete: Rec. batt. capacity: | 1.4A <25.2V 25.2V >0.6A 25.2V <0.6A <100mA 1.4Ah – 10Ah | 1.2A <29.4V 29.4V >0.5A 29.4V <0.5A <100mA 1.2Ah – 10Ah | 1.0A <33.6V 33.6V >0.4A 33.6V <0.4A <100mA1Ah – 10Ah | 0.9A <37.8V 37.8V >0.35A 37.8V <0.35A <100mA 0.9Ah – 10Ah | 0.8A <42V 42V >0.35A 42V <0.35A<100mA 0.8Ah – 10Ah |
| (20-60Vdc) max 2A | |||||||
| 2544 | 10-30Vdc | ||||||
| 2641 per channel | 100-240Vac 50-60Hz | Orange CC ch.: Orange CV ch.: Yellow CV ch.: Green ch. complete: Rec. batt. capacity: | 1.2A <25.2V 25.2V >0.6A 25.2V <0.6A <100mA 1.2Ah – 10Ah | 1.0A <29.4V 29.4V >0.5A 29.4V <0.5A <100mA 1.OAh – 10Ah | 0.9A <33.6V 33.6V >0.4A 33.6V <0.4A <100mA 0.9Ah – 10Ah | 0.8A <37.8V 37.8V >0.35A 37.8V <0.35A <100mA 0.8Ah – 10Ah | 0.7A <42V 42V >0.3A 42V <0.3A <100mA 0.7Ah – 10Ah |
| 2840(P) 2840B 2840B(P) | 220-240Vac 50-60Hz max. 1.2A | Orange CC ch.: Orange CV ch.: Yellow CV ch.: Green ch. complete: Rec. batt. capacity: | 3.9A <25.2V 25.2V >1.7A 25.2V <1.7A <300mA 3.9Ah – 30Ah | 3.5A <29.4V 29.4V >1.6A 29.4V <1.6A <300mA 3.5Ah – 30Ah | 3A <33.6V 33.6V >1.4A 33.6V <1.4A <300mA3Ah – 30Ah | 2.7A <37.8V 37.8V >1.3A 37.8V <1.3A <300mA 2.7Ah – 30Ah | 2.4A <42V 42V >1.2A 42V <1.2A <300mA 2.4Ah – 30Ah |
| 3240(En ‘ 3240B | 110-120Vac/ 220-240Vac 50-60Hz | ||||||
| 3044 | 10-30Vdc | Orange CC ch.: Orange CV ch.: Yellow CV ch.: Green ch. complete: Rec. batt. capacity: | 2.3A <25.2V 25.2V >1.1A 25.2V <1.1A <250mA 2.3Ah – 25Ah | 2.0A <29.4V 294V >1A 29.4V <1A<250mA2Ah – 25Ah | 1.7A <33.6V 33.6V >0.8A 33.6V <0.8A <250mA 1.7Ah – 25Ah | 1.6A <37.8V 37.8V >0.8A 37.8V <0.8A <250mA 1.6Ah – 25Ah | 1.5A <42V 42V >0.7A 42V <0.7A <100mA 1.5Ah – 10Ah |
| 3340 | 220-240Vac | Orange CC ch.: Orange CV ch.: Yellow CV ch.: Green ch. complete: Rec. batt. capacity: | 25A < 25.2V 25.2V > 10A 25.2V < 1 OA < 3A 25Ah – 300Ah | 22A < 29.4V 29.4V > 7A 29.4V < 7A < 3A 22Ah – 300Ah | 19A < 33.6V 33.6V > 7A 33.6V < 7A < 3A 19Ah – 300Ah | 17A < 37.8V 37.8V > 7A 37.8V < 7A < 3A 17Ah – 300Ah | 15A < 42V 42V > 7A 42V < 7A < 3A 15Ah – 300Ah |
(P)=2MOPP version. (B)=Special open frame PCB. (All standard versions are also available as open frame units).
Charge diagram B 1.2
Input voltage | Charge LED indicator | 11 cell (39.6V) | 12 cell (43.2V) | 13 cell (46.8V) | 14 cell (50.4V) | 15 cell (54V) | 16 cell (57.6V) | |
2440(P) | 100-240Vac 50-60Hz max. 1.6A | Orange CC ch.: Orange CV ch.: Yellow CV ch.: Green ch. complete: Rec. batt. capacity: | 1.6A < 46.2V 46.2V > 0.8A 46.2V < 0.8A < 200mA 1.6M – 20M | 1.45A < 50.4V 50.4V > 0.6A 50.4V < 0.6A < 200mA 1.45M – 20Ah | 1.35A < 54.6V 54.6V > 0.6A 54.6V < 0.6A < 100mA 1.35M – 10Ah | 1.3A < 58.8V 58.W > 0.6A 58.W < 0.6A < 100mA 1.3M – 10Ah | 1.15A < 63.0V 63.0V > 0.6A63.0V < 0.6A< 100mA 1.15Ah – 10Ah | 1A < 67.2V 67.2V > 0.6A 67.2V < 0.6A < 100mA 1Ah – 10Ah |
2541(P) | 100-240Vac 50-60Hz max 0.9A | Orange CC ch.: Orange CV ch.: Yellow CV ch.: Green ch. complete: Rec. batt. capacity: | 0.7A < 46.2V 46.2V > 0.3A 46.2V < 0.3A < 100mA 0.7Ah – 10Ah | 0.7A < 50.4V 50.4V > 0.3A 50.4V < 0.3A < 100mA 0.7Ah – 10Ah | 0.6A c 54.6V 54.6V > 0.25A 54.6V < 0.25A < 100mA 0.6Ah – 10Ah | 0.6A < 58.8V 58.8V > 0.25A 58.8V < 0.25A < 100mA 0.6M – 10Ah | N.A. | 0.5A < 67.2V 67.2V > 0.2A 67.2V < 0.2A < 100mA 0.5Ah -10M |
| (20-60Vdc) max 2A | ||||||||
2544 | 10-30Vdc | Orange CC ch.: Orange CV ch.: Yellow CV ch.: Green ch. complete: Rec. batt. capacity: | 0.7A < 46.2V 46.2V > 0.3A 46.2V < 0.3A < 100mA 0.7Ah -10M | 0.7A < 50.4V 50.44 > 0.3A 50.4V < 0.3A < 100mA 0.7Ah -10M | 0.6A < 54.6V 54.6V > 0.25A 54.6V < 0.25A < 100mA 0.6Ah – 10Ah | 0.6A < 58.8V 58.8V > 0.25A 58.8V < 0.25A < 100mA 0.6Ah – 10Ah | NA | 0.5A < 67.2V 7.2V > 0.2A67.2V < 0.2A < 100mA 0.5Ah -10M |
| 2641 per channel | 100-240Vac 50-60Hz | Orange CC ch.: Orange CV ch.: Yellow CV ch.: Green ch. complete: Rec. batt. capacity: | 0.6A < 46.2V 46.2V > 0.25A 46.2V < 0.25A < 100mA 0.6Ah -10M | 0.6A < 50.4V 50.4V > 0.25A 50.4V < 0.25A < 100mA 0.6Ah – 10Ah | 0.5A < 54.6V 54.6V > 0.25A 54.6V < 0.25A < 100mA 0.5Ah – 10Ah | 0.5A < 58.8V 58.8V > 0.25A 58.8V < 0.25A < 100mA 0.5Ah – 10Ah | NA | 0.45A < 67.2V 67.2V > 0.2A 67.2V < 0.2A < 100mA 0.45Ah -10M |
2840(P) | 220-240Vac 50-60Hz max. 1.2A | Orange CC ch.: Orange CV ch.: Yellow CV ch.: Green ch. complete: Rec. batt. capacity: | 2.2A < 46.2V 46.2V > 0.9A 46.2V < 0.9A < 300mA 2.2M – 30Ah | 2A < 50.4V 50.4V > 0.9A 50.4V < 0.9A < 300mA 2.0Ah – 30Ah | 1.8A < 54.6V 54.6V > 0.8A 54.6V < 0.8A < 300mA 1.8Ah – 30Ah | 1.7A < 58.8V 58.W > 0.7A 58.8V < 0.7A < 300mA 1.7M – 30Ah | 1.6A < 63.0V 63.0V > 0.6A 63.0V < 0.6A 1.6M – 30Ah | 1.5A < 67.2V 67.2V > 0.6A 67.2V < 0.6A < 200mA 1.5Ah – 20M |
3240(P) | 110-120Vac/ 220-240Vac 50-60Hz max. 2.1A | |||||||
3044 | 10-30Vdc | Orange CC ch.: Orange CV ch.: Yellow CV ch.: Green ch. complete: Rec. batt. capacity: | 1.3A < 46.2V 46.2V > 0.6A 46.2V < 0.6A < 100mA 1.3Ah – 10Ah | 1.2A < 50.4V 50.411 > 0.5A 50.4V < 0.5A < 100mA 1.2M – 10Ah | 1.1A < 54.6V 54.6V > 0.45A 54.6V < 0.45A < 100mA 1.1M – 10Ah | 1A < 58.8V 58.8V > 0.4A 58.8V < 0.4A < 100mA 1Ah – 10Ah | NA | 0.8A < 67.2V 67.2V > 0.35A 67.2V < 0.35A < 100mA 0.8Ah – 10Ah |
3340 | 220-240Vac | Orange CC ch.: Orange CV ch.: Yellow CV ch.: Green ch. complete: Rec. batt. capacity: | 14A < 46.2V 46.2V > 5A 46.2V < 5A <2A 14M – 200Ah | 13A < 50.4V 50.4V < 5A 50.4V < 5A <2A 13M – 200Ah | 12A < 54.6V 54.6V < 5A 54.6V < 5A <2A 12M – 200Ah | 11A < 58.8V 58.8V > 4A 58.8V < 4A <2A 11M – 200Ah | NA | 10A < 67.2V 67.2V > 4A 67.2V < 4A <2A 10Ah – 200M |
(P)=2MOPP version. (B)=Special open frame PCB. (All standard versions are also available as open frame units).
Charge diagram C 1.0
Input voltage | Charge LED indicator | 1 cell (3.6V) | 2 cell (7.2V) | 3 cell (10.8V) | 4 cell (14.4V) | 5 cell (18V) | |
| 2040(P) 2041(P) 2042(P) | 100-240Vac 50-60Hz max.1.2A | Orange CC ch.: Yellow Timer CV ch.: Green ch. complete: Rec. batt. capacity: | N.A. | N.A. | 4A < 12.6V 12.6V < 4A (4h) complete 4Ah – 160Ah | 3.5A < 16.8V 16.8V < 3.5A (4h) complete 3.5Ah – 140Ah | 2A < 21V 21V < 2A (4h) 2Ah – 80Ah |
| 9641 | 220-240Vac 50-60Hz | Red/Orange CC ch.: Yellow Timer CV ch.: Green ch. complete: Rec. batt. capacity: | N A .. | 2.7A < 8.4V 8.4V < 2.7A (4h) complete 2,7M -108M | 2.7A < 12.6V 12.6V < 2.7A (4h) complete 2.7Ah – 108M | 2.4A < 16.8V 16.8V < 2.4A (4h) complete 2.4Ah – 96Ah | 1.5A < 21V 21V < 1.5A (4h) complete 1.5Ah – 60Ah |
9940 | 100-240Vac 50-60Hz | Orange CC ch.: Yellow Timer CV ch.: Green ch. complete: Rec. ball. capacity: | N.A. | N.A. | 2.3A < 12.6V 12.6V < 2.3A (4h) complete 2.3M – 92Ah | 2A < 16.8V 16.8V < 2A (4h) complete 2A11 – 80Ah | 1.3A < 21V 21V < 1.3A (4h) complete 1.3Ah – 52Ah |
Input voltage | Charge LED indicator | 6 cell (21.6V) | 7 cell (25.2V) | 8 cell (28.8V) | 9 cell (32.4V) | 10 cell (36V) | |
| 2040(P) 2041(P) 2042(P) | 100-240Vac 50-60Hz max.1.2A | Orange CC ch.: Yellow Timer CV ch.: Green ch. complete: Rec. ball. capacity: | 2A < 25.2V 25.2V < 2A (4h) complete 2Ah – 80Ah | 2A < 29.4V 29.4V < 2A (4h) complete 2Ah – 80Ah | 1.7A < 33.6V 33.6V < 1.7A (4h) complete 1.7Ah – 68Ah | 1.5A < 37.8V 37.8V < 1.SA (4h) complete 1.5Ah – 60Ah | 1.4A < 42V 42V < 1.4A (411) complete 1.4Ah – 56Ah |
| 9641 | 220-240Vac 50-60Hz | Red/Orange CC ch.: Yellow Timer CV ch.: Green ch. complete: Rec. batt. capacity: | 1.5A < 25.2V 25.2V < 1.5A (4h) complete 1.5A11- 60Ah | 1.5A < 29.4V 29.4V < 1.5A (4h) complete 1.5Ah – 60Ah | 1.3A < 33.6V 33.6V < 1.3A (4h) complete 1.3M – 52Ah | 1.1A < 37.8V 37.8V < 1.1A (4h) complete 1.1Ah – 44Ah | 1A < 42V 42V < 1A (4h) 1Ah – 40M |
9940 | 100-240Vac 50-60Hz | Orange CC ch.: Yellow Timer CV ch.: Green ch. complete: Rec. ball. capacity: | 1.3A < 25.2V 25.2V < 1.3A (4h) complete 1.3M – 52Ah | 1.3A < 29.4V 29.4V < 1.3A (411) complete 1.3M – 52Ah | 1A < 33.6V 33.6V < 1A (4h) complete 1Ah – 40Ah | 0.9A < 37.8V 37.8V < 0.9A (4h) complete 0.9Ah – 36Ah | 0.9A < 42V 42V < 0.9A (411) complete 0.9M – 36Ah |
(P)= 2MOPP version. (All standard versions are also available as open frame units).
Charge diagram C 1.1
Input voltage | Charge LED indicator | 11 cell (39.6V) | 12 cell (43.2V) | 13 cell (46.8V) | 14 cell (50.41) | 16 cell (57.69) | |
2040(P) | 100-24OVac 50-60Hz max’1’` ,n, | Orange CC ch.: Yellow Timer CV ch.: Green ch. complete: Rec. bait. capacity: | 1.3A < 46.2V 46.2V < 1.3A (4h) complete 1.3Ah — 52A11 | 1.2A < 50.4V 50.4V < 2A (4h) complete 1.2Ah — 48Ah | 1.1A < 54.6V 54.6V < 1.1A (4h) complete 1.1Ah — 44Ah | 1A < 58.8V 58.8V < 1A (411) complete 1Ah — 40Ah | NA. |
9641 | 220-240Vac 50-60Hz | Red/Orange CC ch.: Yellow Timer CV ch.: Green ch. complete: Rec. bait. capacity: | N.A. | NA | NA. | NA. | NA. |
9940 | 100-240Vac 50-60Hz | Orange CC ch.: Yellow Timer CV ch.: Green ch. complete: Rec. bait. capacity: | N.A. | NA | N.A. | NA. | NA. |
(P)= 2MOPP version. (All standard versions are also available as open frame units).
Charge diagram D 1.0
| Input voltage | Charge LED indicator | 1-cell | 2-cell | 3-cell | 4-cell | 5-cell | 6-cell | 7-cell | |
| * 3540(P) 3540B(P) | 220-240Vac 50Hz Max. 2.4A | Yllow CC ch.: Yllow CV ch.: Flash Yellow CV Ch.: Green ch complete.: Rec. Batt. Capacity: | 20A < 4.2V 4.2V > 14A 4.2V < 14A < 1.2A 20-800Ah | 20A < 8.4V 8.4V > 14A8.4V < 14A < 1.2A 20-800Ah | 20A <12.6V 12.6V >14A 12.6V <14A < 1.2A 20-800Ah | 17.5A <16.8V 16.8V > 12.4A 16.8V < 12.4A < 1.2A 17.5-700Ah | 14A < 21V 21V > 11.5A 21V < 11.5A < 0.8A 14-560Ah | 10A < 25.2V 25.2V > 8.8A 25.2V < 8.8A < 0.8A 10 – 400Ah | 10A < 29.4V 29.4V > 8.8A 29.4V < 8.8A < 0.8A 10 – 400Ah |
| * 3540(P) 3540B(P) | 115Vac 50-60Hz Max 4.3A | Yellow CC ch.: Yellow CV ch.: Flash Yellow CV Ch.: Green ch complete.: Rec. Batt. Capacity: | 20A < 4.2V 4.2V > 14A 4.2V < 14A < 1.2A 20-800Ah | 20A < 8.4V 8.4V > 14A 8.4V < 14A < 1.2A 20-800Ah | 20A <12.6V 12.6V >14A 12.6V <14A < 1.2V 20-800Ah | 15A <16.8V 16.8V > 11.4A 16.8V < 11.4A < 1.2A 15-600Ah | 12A < 21V 21V > 10A 21V < 10A < 0.8A 12-480Ah | 10A < 25.2V 25.2V > 8.8A 25.2V < 8.8A < 0.8A 10 – 400Ah | 8.5A < 29.4V 29.4V > 7.2A 29.4V < 7.2A < 0.8A 8.5– 340Ah |
| 3546 | 100-240Vac 50-60Hz max.0.7A | Yellow CC ch.: Yellow CV ch.: Yellow flash CV ch.: Green ch. compl.: Rec. batt. capacity: | 2.5A < 4.2V 4.2V > 2.2A 4.2V < 2.2A < 100mA 2.5Ah – 100Ah | 2.5A < 8.4V 8.4V > 2.2A 8.4V < 2.2A < 100mA 2.5Ah – 100Ah | 2.2A < 12.6V 12.6V >1.9A 12.6V < 1.9A < 100mA 2.2Ah – 88Ah | 1.6A < 16.8V 16.8V > 1.3A 16.8V < 1.3A < 100mA 1.6Ah – 64Ah | 1.35A < 21V 21V > 1.1A 21V < 1.1A < 100mA 1.35Ah – 54Ah | 1.15A < 25.2V 21V > 0.9A 21V < 0.9A < 100mA 1.15Ah – 46Ah | 1.0A < 29.4V 29.4V > 0.8A 29.4V < 0.8A < 100mA 1Ah – 40Ah |
| 3743 | 100-240Vac 50-60Hz max.0.5A | Yellow CC ch.: Yellow CV ch.: Yellow flash CV ch.: Green ch. compl.: Rec. batt. capacity: | 1.5A < 4.2V 4.2V > 1.35A 4.2V < 1.35A < 100mA 1.5Ah – 60Ah | 1.5A < 8.4V 8.4V > 1.35A 8.4V < 1.35A < 100mA 1.5Ah – 60Ah | 1.2A < 12.6V 12.6V >1A 12.6V < 1A < 100mA 1.2Ah – 48Ah | 1A < 16.8V 16.8V > 0.8A 16.8V < 0.8A < 100mA 1Ah – 40Ah | 0.8A < 21V 21V > 0.65A 21V < 0.65A < 100mA 0.8Ah – 32Ah | 0.66A < 25.2V 21V > 0.55A 21V < 0.55A < 100mA 0.66Ah – 26.4Ah | 0.56A < 29.4V 29.4V > 0.49A 29.4V < 0.49A < 100mA 0.56Ah – 22.4Ah |
| Input voltage | Charge LED indicator | 8-cell | 9-cell | 10-cell | 11-celL | 12-clell | 13-cell | 14-cell | |
| * 3540(P) 3540B(P) | 220-240Vac 50Hz Max. 2.4A | Yellow CC ch.: Yellow CV ch.: Flash Yellow CV Ch.: Green ch complete.: Rec. Batt. Capacity: | 8.7A < 33.6V 33.6V > 7.5A 33.6V < 7.5A < 0.5A 8.7-348Ah | 7.7A < 37.8V 37.8V > 6.0A 37.8V < 6.0A < 0.5A 7.7-308Ah | 7.0A < 42.0V 42.0V > 5.8A 42.0V < 5.8A < 0.5A 7.0 -280Ah | 6.3A < 46.2V 46.2V > 5.0A 46.2V < 5.0A < 0.5A 6.3 -252Ah h | 5.8A < 50.4V 50.4V > 4.5A 50.4V < 4.5A < 0.3A 5.8 -232Ah < 0.3A | 5.2A < 54.6V 54.6V > 3.9A 54.6V < 3.9A < 0.3A 5.2 -208Ah | 5.0A < 58.8V 58.8V > 3.7A 58.8V < 3.7A 5.0 -200A |
| * 3540(P) 3540B(P) | 115Vac 50-60Hz Max 4.3A | Yellow CC ch.: Yellow CV ch.: Flash Yellow CV Ch.: Green ch complete.: Rec. Batt. Capacity: | 7.5A < 33.6V 33.6V > 6.5A 33.6V < 6.5A < 0.5A 7.5-300Ah | 6.6A < 37.8V 37.8V > 5.8A 37.8V < 5.8A < 0.5A 6.6-264Ah | 6.0A < 42.0V 42.0V > 5.0A 42.0V < 5.0A < 0.5A 6.0 -240Ah | 5.4A < 46.2V 46.2V > 4.5A 46.2V < 4.5A < 0.5A 5.4 -216Ah | 5.0A < 50.4V 50.4V > 3.7A 50.4V < 3.7A < 0.3A 5.0 -200Ah | 4.6A < 54.6V 54.6V > 3.3A 54.6V < 3.3A < 0.3A 4.6 -184Ah | 4.3A < 58.8V 58.8V > 3.2A 58.8V < 3.2A < 0.3A 4.3 -172Ah |
| 3546 | 100-240Vac 50-60Hz max.0.7A | Yellow CC ch.: Yellow CV ch.: Yellow flash CV ch.: Green ch. compl..: Rec. batt. capacity: | 0.85A < 33.6V 33.6V > 0.7A 33.6V < 0.7A < 100mA 0.85Ah – 34Ah | 0.75A < 37.8V 37.8V > 0.65A 37.8V < 0.65A < 100mA 0.75Ah – 30Ah | 0.7A < 42V 42V > 0.6A 42V < 0.6A < 100mA 0.7Ah – 28Ah | 0.6A < 46.2V 46.2V > 0.5A 46.2V < 0.5A < 100mA 0.6Ah – 24Ah | 0.55A < 50.4V 50.4V > 0.45A 50.4V < 0.45A < 100mA | 0.55Ah – 22Ah V 58.8V > 0.4A 58.8V < 0.4A < 100mA 0.5Ah – 20Ah | 0.5A < 54.6V 54.6V > 0.4A 54.6V < 0.4A < 100mA 0.5Ah – 20Ah 0.5A < 58.8 |
| 3743 | 100-240Vac 50-60Hz max.0.5A | Yellow CC ch.: Yellow CV ch.: Yellow flash CV ch.: Green ch. compl.: Rec. batt. capacity: | 0.5A < 33.6V 33.6V > 0.4A 33.6V < 0.4A < 100mA 0.5Ah – 20Ah | 0.45A < 37.8V 37.8V > 0.35A 37.8V < 0.35A < 100mA 0.45Ah – 18Ah | 0.4A < 42V 42V > 0.3A 42V < 0.3A < 80mA 0.4Ah – 16Ah | 0.37A < 46.2V 46.2V > 0.3A 46.2V < 0.3A < 80mA 0.37Ah – 14.8Ah | 0.33A < 50.4V 50.4V > 0.26A 50.4V < 0.26A < 80mA 0.33Ah – 13.2Ah | 0.3A < 54.6V 54.6V > 0.25A 54.6V < 0.25A < 56mA 0.3Ah – 12Ah | 0.3A < 58.8V 58.8V > 0.25A 58.8V < 0.25A < 56mA 0.3Ah – 12Ah |
(All standard versions are also available as open frame units).
Input voltage | Charge LED indicator | 1 cell | |||||
| 3745 | 100-240Vac 50-60Hz max.0.25A | Yellow CC ch.: Yellow CV ch.: Yellow flash CV ch.: Green ch. complete: Batt. capacity: | EasyPack S | EasyPack L | EasyPack XL | EasyPack PLUS | |
| 3845 | 100-240Vac 50-60Hz max.0.25A | Yellow CC ch.: Yellow CV ch.: Yellow flash CV ch.: Green ch. complete: Batt. capacity: | Rioz3k9f) | Rioz,10k0 0.85A < 4.2V 4.2V > 0.67A 4.2V < 0.67A < 55mA 0.85Ah – 34Ah | Rioz24k0. 1.5A < 4.2V 4.2V > 1.2A 4.2V < 1.2A< 125mA 1.5Ah – 60Ah | Rioz52k3n 1.5A < 4.2V 4.2V > 1.2A 4.2V < 1.2A < 260mA | No Rio input version |
The max. battery capacities given in the tables above are for guidance only. For import to the U.S.A.: see the U.S. DOE Compliance Certification Database for maximum battery capacity
allowed. (All standard versions are also available as open frame units).
MASCOT ELECTRONICS AS
P.O.Box 177, N-1601 Fredrikstad, NORWAY
Phone: +47 69 36 43 00
Telefax: +47 69 36 43 01
E-mail: [email protected]
Web: www.mascot.no
Doc.no. 5250E – Part No.
205250 – 30.11.2020



















