ECHO CS-4510 Gas Chain Saw

Product Information
Echo CS-4510 Chainsaw
The Echo CS-4510 Chainsaw is a powerful, 45cc chainsaw designed for heavy-duty cutting tasks. It features an engine cover, exhaust system, ignition system, fuel system, oil system, handles with throttle control, chain brake, clutch, and labels. The chainsaw comes with optional accessories and attachments such as a chainsaw carry bag, scabbard, case, chain sharpening kit, and safety equipment such as hearing protection helmet system, chaps, apron chaps, and full wrap chaps.
Optional Accessories & Attachments
- Chain Saw Carry Bag (103942147)
- 12-20 Scabbard (99988801595)
- ToughChest-20 Case (99988801210)
- Chain Sharpening Kit (99988800722)
Safety Equipment
- Hearing Protection Helmet System (99988801520)
- Chaps – 36 Apron (99988801500)
- Chaps – 40 Apron (99988801300)
- Chaps – 36 Full Wrap (99988801301)
- Chaps – 40 Full Wrap (99988801302)
Parts Catalog
The parts catalog lists all the parts of the Echo CS-4510 Chainsaw. It includes the serial number and the manufacturer’s address.
Table of Contents
The table of contents lists the various sections of the user manual, including engine, carburetor, engine cover, exhaust, ignition, fuel system, oil system, handles with throttle control, chain brake, clutch, labels, tools, maintenance kits, bulk pipe, and bulk starter rope.
Product Usage Instructions
- Before using the Echo CS-4510 Chainsaw, read the user manual carefully.
- Check the chainsaw for any damages or defects before each use.
- Ensure that you wear the appropriate safety equipment before using the chainsaw. This includes eye protection, hearing protection, gloves, and chaps.
- Fill the fuel tank with 50:1 fuel mixture (gasoline and 2-cycle oil).
- Check the oil level in the oil tank and fill if necessary.
- Start the chainsaw by following the instructions in the user manual.
- Adjust the throttle control to set the desired cutting speed.
- Hold the chainsaw firmly with both hands and position it correctly before starting to cut.
- Use the chainsaw carefully and avoid contact with any obstacles or hard surfaces that could cause kickback.
- After each use, clean the chainsaw and store it in a safe place.
Accessories for ECHO products can be found at: Los accesorios para los productos ECHO se pueden encontrar en: http://www.echo-usa.com/Products/Accessories
| OPTIONAL ACCESSORIES & | |
| ATTACHMENTS: | |
| Chain Saw Carry Bag | 103942147 |
| 12-20″ Scabbard | 99988801595 |
| ToughChest-20 Case | 99988801210 |
| Chain Sharpening Kit | 99988800722 |
| SAFETY EQUIPMENT | |
| Hearing Protection | 99988801520 |
| Helmet System | 99988801500 |
| Chaps – 36″ Apron | 99988801300 |
| Chaps – 40″ Apron | 99988801301 |
| Chaps – 36″ Full Wrap | 99988801302 |
| Chaps – 40″ Full Wrap | 99988801303 |
| ACCESORIOS OPCIONALES | |
| Bolso de transporte | 103942147 |
| Funda 30-50.8cm | 99988801595 |
| ToughChest-20 estuche | 99988801210 |
| Kit de afilado para cadena | 99988800722 |
EQUIPO DE SEGURIDAD
- Protección de los oídos 99988801520
- Casco de seguridad 99988801500
- Chaparreras – Mandil 91cm 99988801300
- Chaparreras – Mandil 102cm 99988801301
- Chaparreras 91cm 99988801302
- Chaparreras 102cm 99988801303
- ECHO Incorporated
- 400 Oakwood Road, Lake Zurich, Illinois 60047
- WWW.ECHO-USA.COM
- ©2022 ECHO Incorporated. All Rights Reserved
Engine
Motor
| NO. | PART NUMBER | QTY. | DESCRIPTION |
| 1 | SB1122 | 1 | SHORT BLOCK |
| 2 | V104002340 | 1 | +GASKET, EXHAUST |
| 3 | P100004570 | 1 | +CYLINDER ASSY |
| 4 | V804000110 | 8 | ++BOLT, TORX 4×10 |
| 5 | V103002000 | 2 | ++GASKET |
| 6 | P200000890 | 1 | ++SEAL KIT |
| 7 | V805000250 | 2 | ++BOLT, TORX 5×16 |
| 8 | P100004580 | 1 | +PISTON KIT |
| 9 | A101000710 | 1 | ++RING, PISTON |
| 10 | V580000010 | 2 | ++RING, SNAP 10 |
| 11 | 10001339730 | 1 | ++PIN, PISTON |
| 12 | V307000050 | 2 | ++WASHER, THRUST 10 |
| 13 | V555000180 | 1 | ++BEARING, NEEDLE |
| 14 | P100004590 | 1 | +CRANKSHAFT ASSY |
| 15 | V508000110 | 2 | ++SEAL, OIL |
| 16 | 90081036202 | 2 | ++BEARING, BALL 6202 |
| 17 | 10014212330 | 1 | +KEY, WOODRUFF |
Carburetor
| NO. | PART NUMBER | QTY. | DESCRIPTION |
| 1 | A021004681 | 1 | CARBURETOR – Z011/72C |
| 2 | 12531013930 | 1 | +SCREW |
| 3 | P005004110 | 1 | +COVER, PUMP |
| 4 | P005000860 | 1 | +SCREEN, FUEL INLET |
| 5 | 12537813930 | 1 | +PIECE, FRICTION |
| 6 | P005004100 | 1 | +VALVE, THROTTLE |
| 7 | 12531451230 | 2 | +SCREW 3×4.5 |
| 8 | P005004070 | 1 | +SHAFT ASSY, THROTTLE |
| 9 | P005004090 | 1 | +SPRING, RETURN |
| 10 | P005004220 | 2 | +CAP, LIMITER |
| 11 | P005004150 | 1 | +SCREW, IDLE ADJUST |
| 12 | 12536312820 | 2 | +RETAINER |
| 13 | P005004120 | 1 | +SCREW, THROTTLE ADJUST |
| 14 | P005004280 | 1 | +SCREW |
| 15 | 12534813930 | 3 | +SCREW |
| 16 | P005003820 | 2 | +CLIP, THROTTLE SHAFT |
| 17 | P005004060 | 1 | +NOZZLE, CHECK VALVE |
| 18 | P005004180 | 1 | +SHAFT ASSY, CHOKE |
| 19 | P005004190 | 1 | +LEVER, CHOKE |
| 20 | P005004210 | 1 | +SPRING, RETURN |
| 21 | P005004080 | 1 | +LEVER, THROTTLE |
| 22 | P005004200 | 1 | +VALVE, CHOKE |
| 23 | P005004130 | 1 | +SCREW |
| 24 | P005003210 | 1 | +COVER, METERING DIAPHRAGM |
| 25 | P005003840 | 4 | +SCREW |
| 26 | P005004310 | 1 | +REPAIR KIT, CARBURETOR |
| 27 | 1 | ++GASKET, PUMP | |
| 28 | 1 | ++DIAPHRAGM, PUMP | |
| 29 | 1 | ++PLUG, WELCH | |
| 30 | 1 | ++SPRING, COIL | |
| 31 | 1 | ++VALVE, INLET NEEDLE | |
| 32 | 1 | ++LEVER, METERING | |
| 33 | 1 | ++PIN, METERING LEVER | |
| 34 | 1 | ++GASKET, METERING DIAPHRAGM | |
| 35 | 1 | ++DIAPHRAGM, METERING |
Engine Cover
Cubierta del motor
| NO. | PART NUMBER | QTY. | DESCRIPTION |
| 1 | V805000010 | 3 | BOLT, TORX 5×20 |
| 2 | A160003360 | 1 | COVER, ENGINE |
| 3 | X502001060 | 1 | +LABEL – ECHO |
| 4 | P100004601 | 1 | HOUSING ASSY, ENGINE |
| 5 | A161000370 | 1 | +DUCT, AIR |
| 6 | V225000031 | 2 | +BOLT, STUD 8 |
| 7 | 43611413930 | 1 | +VENT ASSY |
| 8 | V203002380 | 1 | +BOLT 5 |
| 9 | V420001790 | 2 | CUSHION |
| 10 | V805000270 | 4 | BOLT 5×40 |
Intake
| NO. | PART NUMBER | QTY. | DESCRIPTION |
| 1 | A202000310 | 1 | BELLOWS, INTAKE |
| 2 | V804000050 | 4 | BOLT, TORX 4×12 |
| 3 | A202000320 | 1 | BELLOWS, INTAKE |
| 4 | V471000761 | 1 | PIPE 3x6x90 MM |
| 5 | V420005250 | 1 | CUSHION |
| 6 | A200001150 | 1 | INSULATOR, INTAKE |
| 7 | A200001160 | 1 | INSULATOR, INTAKE |
| 8 | 90072400022 | 1 | O-RING |
| 9 | V420005260 | 3 | CUSHION |
| 10 | A225000730 | 1 | CASE, AIR FILTER |
| 11 | A161000360 | 1 | DUCT, AIR |
| 12 | A161000350 | 1 | DUCT, AIR |
| 13 | V805000040 | 2 | BOLT, TORX 5×55 |
| 14 | A226002150 | 1 | FILTER, AIR |
| 15 | A232001940 | 1 | COVER, AIR FILTER |
| 16 | V453000260 | 1 | SPRING, FLAT |
| 17 | V804000000 | 2 | BOLT, TORX 4×12 |
| 18 | V582000280 | 1 | RETAINER |
| 19 | A235000440 | 1 | LATCH, COVER |
| 20 | 90197Y | 1 | TUNE-UP KIT – YOUCAN™ |
Exhaust
Escape
| NO. | PART NUMBER | QTY. | DESCRIPTION |
| 1 | V804000030 | 1 | BOLT, TORX 4×8 |
| 2 | 14571160631 | 1 | PLATE |
| 3 | V805000250 | 2 | BOLT, TORX 5×16 |
| 4 | P100004620 | 1 | MUFFLER ASSY |
| 5 | A310000500 | 1 | +SCREEN, SPARK ARRESTER |
| 6 | V804000030 | 2 | +BOLT, TORX 4×8 |
| 7 | V104002340 | 1 | GASKET, EXHAUST |
Ignition
Encendido
| NO. | PART NUMBER | QTY. | DESCRIPTION |
| 1 | A427000190 | 1 | CAP, SPARK PLUG |
| 2 | A426000010 | 1 | TERMINAL, SPARK PLUG |
| 3 | A425000000 | 1 | SPARK PLUG – BPMR8Y |
| 4 | V485002960 | 1 | LEAD |
| 5 | V475009180 | 1 | TUBE |
| 6 | A411001740 | 1 | COIL, IGNITION |
| 7 | V485002970 | 1 | LEAD |
| 8 | V805000210 | 2 | BOLT, TORX 5×20 |
| 9 | 90051500008 | 1 | NUT, FLANGE M8 |
| 10 | A409001330 | 1 | FLYWHEEL |
| 11 | 15011716430 | 2 | WASHER 5.2x12x3 |
| 12 | 90197Y | 1 | TUNE-UP KIT – YOUCAN™ |
Recoil Starter
| NO. | PART NUMBER | QTY. | DESCRIPTION |
| 1 | A051003300 | 1 | STARTER, RECOIL |
| 2 | P022050450 | 1 | +GRIP, STARTER |
| 3 | P022001330 | 1 | +SPRING KIT, RECOIL |
| 4 | P022033280 | 1 | ++SPRING CASE |
| 5 | P022050440 | 1 | +ROPE, STARTER |
| 6 | P022050410 | 1 | +REEL, ROPE |
| 7 | P022050420 | 1 | +SPRING, TORSION |
| 8 | P022050430 | 1 | +PAWL CATCHER |
| 9 | V253000310 | 1 | +SCREW 5 |
| 10 | V805000010 | 3 | BOLT, TORX 5×20 |
| 11 | A172003291 | 1 | COVER, FAN |
| 12 | V203002250 | 2 | BOLT 5 |
| 13 | A514000050 | 2 | PAWL |
| 14 | 17723435430 | 2 | SPRING, TORSION |
Fuel System
Sistema de combustible
| NO. | PART NUMBER | QTY. | DESCRIPTION |
| 1 | P100004906 | 1 | HANDLE ASSY, REAR |
| 2 | V471001291 | 1 | +PIPE, FUEL 2.4x5x75 |
| 3 | 13130056431 | 1 | +VENT ASSY |
| 4 | V490001230 | 1 | +CLIP 6.5 MM |
| 5 | V471005191 | 1 | +PIPE 3x6x49 |
| 6 | V186000530 | 1 | +CONNECTOR, PIPE |
| 7 | 13211555931 | 1 | +GROMMET, FUEL |
| 8 | V471002381 | 1 | +PIPE, FUEL RETURN |
| 9 | V490001240 | 1 | +CLIP 6 |
| 10 | A369000470 | 1 | +FILTER, FUEL |
| 11 | V471005211 | 1 | +PIPE 2.4x5x165 |
| 12 | 12318139130 | 1 | +BULB, PURGE |
| 13 | V471005281 | 1 | +PIPE 3x5x160 EPA-KEP-002 |
| 14 | P100004891 | 1 | CAP ASSY, FUEL |
| 15 | V581000600 | 1 | +O-RING 29 |
| 16 | A365000050 | 1 | +CONNECTOR, CAP L= 60 MM |
| 17 | 90197Y | 1 | TUNE-UP KIT – YOUCAN™ |
Oil System
Sistema de aceite
| NO. | PART NUMBER | QTY. | DESCRIPTION |
| 1 | P100004881 | 1 | CAP ASSY, OIL |
| 2 | 90072020029 | 1 | +O-RING 29 |
| 3 | A365000050 | 1 | +CONNECTOR, CAP L= 60 MM |
| 4 | A203000090 | 1 | SEAL |
| 5 | V187000010 | 1 | CONNECTOR, PIPE |
| 6 | V471005191 | 1 | PIPE 3x6x49 |
| 7 | V804000000 | 1 | BOLT, TORX 4×12 |
| 8 | C236000160 | 1 | COVER, OILER |
| 9 | V356000390 | 1 | COLLAR 10 |
| 10 | V652000030 | 1 | GEAR, WORM |
| 11 | V308000030 | 1 | WASHER 10.5×17.4×1.8 |
| 12 | V805000140 | 2 | BOLT, TORX 5×12 |
| 13 | C022000010 | 1 | AUTO-OILER ASSY |
| 14 | 12532715130 | 1 | +E-RING |
| 15 | P022010670 | 1 | +SPRING |
| 16 | P022010680 | 1 | +ADJUSTER, OILER |
| 17 | P022010650 | 1 | +PLUNGER ASSY |
| 18 | P022010660 | 1 | +SPRING |
| 19 | P022010640 | 1 | +CAP, PLUNGER |
| 20 | V490001230 | 1 | CLIP 6.5 MM |
| 21 | V471005201 | 1 | PIPE 3x6x200 |
| 22 | 13211501462 | 1 | GROMMET |
| 23 | 43620502832 | 1 | FILTER, OIL |
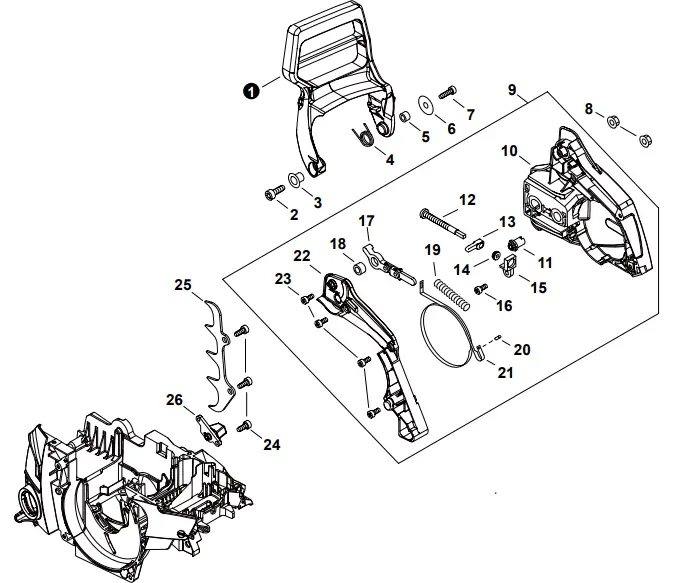
Handles, Throttle Control
Mangos, Control del acelerador
| NO. | PART NUMBER | QTY. | DESCRIPTION |
| 1 | C400001631 | 1 | HANDLE, FRONT |
| 2 | V450002200 | 1 | SPRING, COMPRESSION |
| 3 | V420005270 | 1 | CUSHION |
| 4 | V456000240 | 1 | HOLDER, SPRING |
| 5 | V805000140 | 1 | BOLT, TORX 5×12 |
| 6 | V450002180 | 1 | SPRING, COMPRESSION |
| 7 | V805000010 | 4 | BOLT, TORX 5×20 |
| 8 | V805000240 | 2 | BOLT, TORX 5×12 |
| 9 | V450002190 | 1 | SPRING, COMPRESSION |
| 10 | V486000540 | 1 | TERMINAL, LEAD |
| 11 | A444000120 | 1 | SWITCH, STOP |
| 12 | V452000260 | 1 | SPRING, TORSION |
| 13 | C450001041 | 1 | TRIGGER, THROTTLE |
| 14 | 17809037930 | 1 | LEVER, THROTTLE LOCKOUT |
| 15 | C411000230 | 1 | COVER, HANDLE |
| 16 | C454000570 | 1 | ROD, THROTTLE |
| 17 | A241000370 | 1 | KNOB, CHOKE |
| 18 | 17881014535 | 1 | GROMMET, CHOKE |
Chain Brake
Freno de Cadena
| NO. | PART NUMBER | QTY. | DESCRIPTION |
| 1 | C320000530 | 1 | LEVER, BRAKE |
| 2 | V805000010 | 1 | BOLT, TORX 5×20 |
| 3 | V356000430 | 1 | COLLAR 10 |
| 4 | V452001281 | 1 | SPRING, TORSION |
| 5 | 43311635430 | 1 | SPACER 8x12x9 |
| 6 | 17721403930 | 1 | WASHER 4.2×16.5×1 |
| 7 | V804000010 | 1 | BOLT, TORX 4×16 |
| 8 | V265000200 | 2 | NUT, FLANGE M8x1.25 |
| 9 | P100004653 | 1 | BRAKE ASSY, CHAIN |
| 10 | C300001162 | 1 | +GUARD, SPROCKET |
| 11 | V651001040 | 1 | +GEAR, BEVEL |
| 12 | V203000110 | 1 | +SCREW, CHAIN TENSION |
| 13 | C309000160 | 1 | +TENSIONER, CHAIN |
| 14 | V651001050 | 1 | +GEAR, BEVEL |
| 15 | V355000140 | 1 | +COLLAR 8 |
| 16 | V804000010 | 1 | +BOLT, TORX 4×16 |
| 17 | C334000100 | 1 | +CONNECTOR, BRAKE |
| 18 | 43311635430 | 1 | +SPACER 8x12x9 |
| 19 | V450000070 | 1 | +SPRING, COMPRESSION |
| 20 | 90033030120 | 1 | +PIN 3×12 |
| 21 | C328000110 | 1 | +BAND, BRAKE |
| 22 | C345000651 | 1 | +COVER, BRAKE |
| 23 | V804000010 | 4 | +BOLT, TORX 4×16 |
| 24 | V805000010 | 3 | BOLT, TORX 5×20 |
| 25 | C304000320 | 1 | SPIKE, BUMPER |
| 26 | C310000150 | 1 | CATCHER, CHAIN |
Clutch
Embrague
| NO. | PART NUMBER | QTY. | DESCRIPTION |
| 1 | A556000481 | 1 | DRUM, CLUTCH |
| 2 | V555000170 | 1 | BEARING, NEEDLE 10 |
| 3 | 17501939430 | 1 | PLATE, CLUTCH |
| 4 | A056000840 | 1 | CLUTCH ASSY |
| 5 | V451000500 | 3 | +SPRING, TENSION |
| 6 | P021007051 | 1 | +CLUTCH SHOE SET (3PCS) |
| 7 | A552000470 | 1 | +HUB, CLUTCH |
Chain, Guide Bar
Cadena, Guía de barra
| NO. | PART NUMBER | QTY. | DESCRIPTION |
| 1 | 2893202 | 1 | KICK GUARD™ KIT |
| 2 | 16B0AD3366C | 1 | GUIDE BAR, 16″ |
| 2 | 18B0AD3372C | 1 | GUIDE BAR, 18″ |
| 2 | 20B0AD3378C | 1 | GUIDE BAR, 20″ |
| 3 | 20BPX66CQ | 1 | SAW CHAIN 16″ |
| 3 | 20BPX72CQ | 1 | SAW CHAIN 18″ |
| 3 | 20BPX78CQ | 1 | SAW CHAIN 20″ |
| 4 | X490000750 | 1 | SCABBARD 16″ |
| 4 | X490000760 | 1 | SCABBARD 18″ |
| 4 | X490000770 | 1 | SCABBARD 20″ |
Labels
Etiquetas
| NO. | PART NUMBER | QTY. | DESCRIPTION |
| 1 | X503014610 | 1 | LABEL – MODEL CS-4510 |
| 2 | X505010090 | 1 | LABEL – CAUTION |
| 3 | X502001050 | 1 | LABEL – ECHO |
| 4 | 89015737330 | 1 | LABEL – STOP |
| 5 | X503014620 | 1 | LABEL – MODEL CS-4510 |
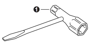
Tools
Herramientas
| NO. | PART NUMBER | QTY. | DESCRIPTION |
| 1 | X602000080 | 1 | T-WRENCH 13×19 L= 180 |
Maintenance Kits
Juegos de mantenimiento
| NO. | PART NUMBER | QTY. | DESCRIPTION |
| 1 | 90197Y | 1 | TUNE-UP KIT – YOUCAN™ |
| 2 | A226002150 | 1 | +FILTER, AIR |
| 3 | A369000470 | 1 | +FILTER, FUEL |
| 4 | A425000000 | 1 | +SPARK PLUG – BPMR8Y |
Bulk Pipe
Tubo al por mayor
| NO. | PART NUMBER | QTY. | DESCRIPTION |
| 1 | 90014 | 1 | BULK PIPE – 3×5 MM BLACK (4 PIECESx2 M) |
| 2 | 90015 | 1 | BULK PIPE – 3×6 MM BLACK (4 PIECESx2 M) |
| 3 | 90016 | 1 | BULK PIPE – 3×7 MM BLACK (4 PIECESx2 M) |
| 4 | 90017 | 1 | BULK PIPE – 3×6 MM CLEAR (4 PIECESx2 M) |
| 5 | 90018 | 1 | BULK PIPE – 2×4 MM CLEAR (4 PIECESx2 M) |
Bulk Starter Rope
Cuerda del arrancador al por mayor
| NO. | PART NUMBER | QTY. | DESCRIPTION |
| 1 | 99944435000 | 1 | BULK STARTER ROPE – 2.3 MMx61 M |
| 2 | 99944440000 | 1 | BULK STARTER ROPE – 3.0 MMx61 M |
| 3 | 99944445000 | 1 | BULK STARTER ROPE – 3.5 MMx61 M |
| 4 | 99944450000 | 1 | BULK STARTER ROPE – 4.0 MMx61 M |
| 5 | 99944455000 | 1 | BULK STARTER ROPE – 4.4 MMx61 M |
| 6 | 99944460000 | 1 | BULK STARTER ROPE – 4.8 MMx61 M |
- Denotes item is part of an assembly
- Denotes item is part of a sub-assembly






















