
GLC-1 Go Light Creator
Quick start guide
This quick start guide contains important information on the safe operation of the product. Read and follow the safety advice and instructions given. Retain the quick start guide for future reference. If you pass the product on to others please include this quick start guide.
Safety instructions
Intended use This device is intended to be used as a portable video light. Any other use or use under other operating conditions is considered to be improper and may result in personal injury or property damage. No liability will be assumed for damages resulting from improper use.
Danger for children
Ensure that plastic bags, packaging, etc. are disposed of properly and are not within reach of babies and young children. Choking hazard! Ensure that children do not detach any small parts from the product. They could swallow the pieces and choke!
Incorrect handling of lithium batteries can result in injury
- In the event of a short circuit, overheating or mechanical damage, lithium batteries can cause severe injuries.
- When handled correctly and appropriately lithium batteries pose no risk.
- Store lithium batteries in a cool, dry place, ideally in the original packaging.
- Store lithium batteries away from heat sources (e.g. radiators or sunlight). Lithium batteries are hermetically sealed. Never attempt to open a lithium battery.
- If the battery housing is damaged small amounts of the electrolyte may leak out. If this should happen, seal the lithium battery in airtight packaging and wipe up the traces of electrolyte using absorbent paper towels. You must wear protective rubber gloves when doing so. Clean your hands and the affected surface thoroughly with cold water.
- Never attempt to recharge non-rechargeable lithium batteries. When charging lithium batteries you must use a suitable charging device intended for the purpose.
- Before disposing of the device remove the lithium batteries. Protect used lithium batteries against potential short circuits, e.g. by covering the poles with adhesive tape.
- Only use powder extinguishers or other suitable extinguishing agents to extinguish a burning lithium battery.
Possible damage to lithium-ion batteries through incorrect storage By deep discharge, lithium-ion batteries can be permanently damaged or lose some of their capacity.
Before long breaks, charge the batteries to around 50 % of their capacity and then switch off the device. Store the device at room temperature or cooler in an environment as dry as possible. If the batteries are stored for a longer period, recharge them to 50 % every three months.
Fully charge the batteries only shortly before use at room temperature.
Where to use the product
Never use the product
- in conditions of extreme temperature or humidity
- in extremely dusty or dirty areas
- at locations where the unit can become wet
General handling
- To prevent damage, never use force when operating the switches and controls.
- Never immerse the appliance in water. Just wipe it with a clean dry cloth. Do not use liquid cleaners such as benzene, thinners or flammable cleaning agents.
Features
- Portable folding video light
- Adjustable color temperature from 3000 K to 6000 K.
- High CRI of 95
- Remote control via IR to control brightness and color temperature
- 1/4″ thread on the bottom for tripod mounting
- Built-in battery with a runtime of up to 16 hours at the lowest brightness and up to four hours at 100% brightness
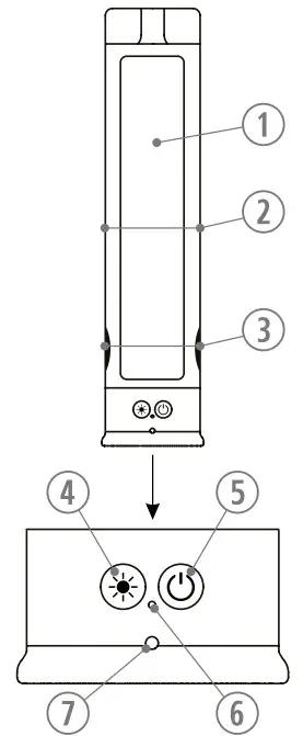
Operating elements
![]() | Front side 1. Front LED panel 2. Side LED panels 3. Openings for folding out the side LED panels 4. Switch for selecting the lighting configuration 5. On / off switch 6. Charge indicator 7. Infrared sensor |

![]() | Bottom side 8. USB-C port for charging the internal battery 9. 1/4″ thread for tripod mounting |
![]() | Remote control 10. Infrared signal transmitter 11. On / off switch 12. Switch for selecting the light panels 13. Switch for adjusting the brightness 14. Switch for setting the color temperature |

Using the product
- First, the internal battery has to be charged. To do this, connect the device to a suitable voltage source (not supplied) via its USB-C port on the underside of the device. If this voltage source provides the device’s maximum current draw of 2 A, charging takes up to 4 hours. The charging indicator lights up red while charging. When the charging is complete, the indicator goes out.
- Press and hold the switch for 3 seconds to switch on the device. Briefly press this switch to select the cool white, warm white or natural white color temperature. When switching on with the remote control, a short press is sufficient.
- Briefly press* the switch repeatedly to select the desired light intensity (low, medium or full). Press and hold this switch for 3 seconds to activate different groups of light panels.
- To unfold the side panels, put your fingernail into the openings (3) and pull them out. Bring the panels into the desired position (s).
- For use with a tripod, you can screw the device with its 1/4 “thread on the underside of the device onto an appropriately equipped tripod. Make sure that the tripod used has the necessary load-bearing capacity – especially in extreme positions of the boom.
- When using the infrared remote control, aim the IR signal transmitter at the IR sensor on the device when you activate the desired panel groups with the switch, set the desired brightness with the switch, and select the desired color temperature with the switch.
- Press and hold the switch for 3 seconds to turn off the device. When switching off with the remote control, a short press is sufficient.
Technical specifications
| Power supply | 5 V, |
| Max. current draw | 2 A |
| LED light source | 162 × SMD-LEDs, 3000 K and 6000 K,CRI = 95 |
| Color temperature | 3000 K – 6000 K |
| Power consumption | 8 W |
| Type | Lithium ions battery | |
| Voltage | 7.4 V | |
| Capacity | 2850 mAh | |
| Operating time | High power | 4 h |
| Medium power | 8 h | |
| Low power | 16 h | |
| 4 h | ||
| Charging time | 4 h | |
| Dimensions (W × H × D) | 43 mm × 85 mm × 40 mm | |
| Weight | 0.288 kg | |
| Ambient conditions | Temperature range Relative humidity | 0 °C … 40 °C 20 % … 80 % (non-condensing) |
For the transport and protective packaging, environmentally friendly materials have been chosen that can be supplied to normal recycling. Ensure that plastic bags, packaging, etc. are properly disposed of. Do not just dispose of these materials with your normal household waste, but make sure that they are collected for recycling. Please follow the notes and markings on the packaging.
Batteries must not be thrown away or incinerated; they must be disposed of in accordance with local regulations for the disposal of hazardous waste. Use the existing collection points for this. Dispose of lithium batteries only in discharged condition. Remove replaceable lithium batteries from the device before disposal. Protect used lithium batteries from short circuits, for example by covering the poles with adhesive tape. Permanently installed lithium batteries must be disposed of together with the device. Please inquire about a suitable acceptance point.
This product is subject to the European Waste Electrical and Electronic Equipment Directive (WEEE) in its currently valid version. Do not dispose of you’re old device with your normal household waste. Dispose of this product through an approved waste disposal firm or through your local waste facility. Comply with the rules and regulations that apply in your country. If in doubt, consult your local waste disposal facility.
Thomann GmbH • Hans-Thomann-Straße 1 • 96138 Burgebrach • www.thomann.de • [email protected]



















