Thomann 507634 Verytec GLC-1 Light Creator

Safety Instructions
Intended Use
This device is intended to be used as a portable video light. Any other use or use under other operating conditions is considered to be improper and may result in personal injury or property damage. No liability will be assumed for damages resulting from improper use.
Danger for Children
Ensure that plastic bags, packaging, etc. are disposed of properly and are not within reach of babies and young children. Choking hazard! Ensure that children do not detach any small parts from the product. They could swallow the pieces and choke!
Where to Use the Product
Never use the product
- in conditions of extreme temperature or humidity
- in extremely dusty or dirty areas
- at locations where the unit can become wet
General Handling
- To prevent damage, never use force when handling the product.
- Never immerse the product in water. Just wipe it with a clean dry cloth. Do not use liquid cleaners such as benzene, thinners or flammable cleaning agents.
Features
- Portable folding video light
- Adjustable color temperature from 3000 K to 6000 K.
- High CRI of 95
- Remote control via IR to control brightness and color temperature
- 1/4 – inch thread on the bottom for tripod mounting
- Built-in battery with a runtime of up to 16 hours at the lowest brightness and up to four hours at 100% brightness
- Charging time: four hours via USB
- Light source: 162 × SMD LED with 3000 K and 6000 K
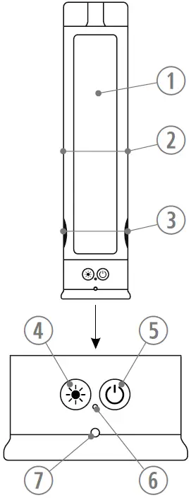
Operating Elements
Front Side
- Front LED panel
- Side LED panels
- Openings for folding out the side LED panels
- Switch for selecting the lighting configuration
- On / off switch
- Charge indicator
- Infrared sensor

Bottom side
- USB-C port for charging the internal battery
- 1/4″ thread for tripod mounting

Remote Control
- Infrared signal transmitter
- On / off switch
- Switch for selecting the light panels
- Switch for adjusting the brightness
- Switch for setting the color temperature

LED panels fully unfolded

LED panels unfolded to 90°
Using the Product
- First the internal battery has to be charged. To do this, connect the device to a suitable voltage source (not supplied) via its USB-C port on the underside of the device. If this voltage source provides the device’s maximum current draw of 2 A, charging takes up to 4 hours. The charging indicator lights up red while charging. When the charging is complete, the indicator goes out.
- Press and hold the switch for 3 seconds to switch on the device. Briefly press this switch to select the cool white, warm white or natural white color temperature. When switching on with the remote control, a short press is sufficient.
- Briefly press the switch repeatedly to select the desired light intensity (low, medium or full). Press and hold this switch for 3 seconds to activate different groups of light panels.
- To unfold the side panels, put your fingernail into the openings (3) and pull them out. Bring the panels into the desired position (s).
- For use with a tripod, you can screw the device with its 1/4 “thread on the underside of the device onto an appropriately equipped tripod. Make sure that the tripod used has the necessary load-bearing capacity – especially in extreme positions of the boom.
- When using the infrared remote control, aim the IR signal transmitter at the IR sensor on the device when you activate the desired panel groups with the switch, set the desired brightness with the switch and select the desired color temperature with the switch.
- Press and hold the switch for 3 seconds to turn off the device. When switching off with the remote control, a short press is sufficient.
Technical Specifications
- Power Supply: 5 V , via USB-C port
- Max. Current Draw: 2A
- LED Illuminates: 162 × SMD LEDs, 3000 K and 6000 K,CRI = 95
- Power Consumption: 8W
- Lithium Battery: 7.4 V / 2850 mAH
- Color Temperature: 3000 K – 6000 K
- Charge Time: 4 hours
- Battery Life: High power: 4 h, medium power: 8 h, low power: 16 h
- Dimension (W × H × D): 43 mm × 85 mm × 40 mm
- Weight: 0.288 kg
Thomann GmbH
Hans-Thomann-Straße 1
96138 Burgebrach
www.thomann.de
[email protected]


















