
INSTALLATION INSTRUCTIONS
Printer Accessory
DISCLAIMER
Legrand | AV and its affiliated corporations and subsidiaries (collectively “Legrand | AV”), intend to make this manual accurate and complete. However, Legrand | AV makes no claim that the information contained herein covers all details, conditions, or variations, nor does it provide for every possible contingency in connection with the installation or use of this product. The information contained in this document is subject to change without notice or obligation of any kind. Legrand | AV makes no representation or warranty, expressed or implied, regarding the information contained herein. Legrand | AV assumes no responsibility for the accuracy, completeness, or sufficiency of the information contained in this document. Chief® is a registered trademark of Legrand AV Inc.
DEFINITIONS
MOUNTING SYSTEM: A MOUNTING SYSTEM is the primary Chief product to which an accessory and/or component is attached.
ACCESSORY: AN ACCESSORY is the secondary Chief product that is attached to a primary Chief product, and may have a component attached or setting on it.
COMPONENT: A COMPONENT is an audiovisual item designed to be attached or resting on an accessory or mounting system such as a video camera, CPU, screen, display, projector, etc.
WARNING: A WARNING alerts you to the possibility of serious injury or death if you do not follow the instructions.
CAUTION: A CAUTION alerts you to the possibility of damage or destruction of equipment if you do not follow the corresponding instructions.
IMPORTANT SAFETY INSTRUCTIONS![]()
WARNING: Failure to read, thoroughly understand, and
DIMENSIONS

Following all instructions can result in serious personal injury, damage to equipment, or voiding of factory warranty! It is the installer’s responsibility to make sure all mounting systems are properly assembled and installed using the instructions provided.
WARNING: Failure to provide adequate structural strength for this mounting system can result in serious personal injury or damage to the equipment! It is the installer’s responsibility to make sure the structure to which this mounting system is attached can support five times the combined weight of all equipment. Reinforce the structure as required before installing the mounting system.
WARNING: Exceeding the weight capacity can result in serious personal injury or damage to the equipment! It is the installer’s responsibility to make sure the combined weight of all components attached to the accessory does not exceed 3 lbs (1.36 kg).
WARNING: Use this accessory only for its intended use as described in these instructions. Do not use attachments not recommended by the manufacturer.
WARNING: Never operate this accessory if it is damaged. Return the accessory to a service center for examination and repair.
WARNING: Do not use this accessory outdoors.
WARNING: RISK OF INJURY TO PERSONS! Do not use this accessory to support video equipment such as televisions or computer monitors.
–SAVE THESE INSTRUCTIONS-–
TOOLS/PARTS REQUIRED FOR INSTALLATION

Assembly And Installation
- Assemble Tablet Stand following installation instructions of the stand until the Column-mounted tablet is ready to be installed to the column.
- Use column-mounted tablet nut (provided with column-mounted tablet) to install printer accessory (A) and column-mounted tablet to the column. (See Figure 1)

- Install printer (not included) onto four installed screws (B). on printer accessory (A). (See Figure 2)

- Complete installation of tablet stands referring to the installation instructions for the tablet stand.
Printer Installation
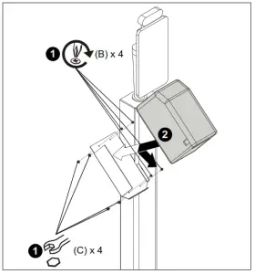
1. Install four #6-32 x 1/2″ Phillips pan machine screws (B) and four #6-32 locknuts (C) to printer accessory (A). (See Figure 2)
WARNING: Exceeding the weight capacity can result in serious personal injury or damage to the equipment! It is the installer’s responsibility to make sure the combined weight of all components attached to the accessory does not exceed 3 lbs (1.36 kg).
USA/Internationa
A 6436 City West Parkway, Eden Prairie, MN 55344
P 800.582.6480 / 952.225.6000
F 877.894.6918 / 952.894.6918
Europe
A Franklinstraat 14, 6003 DK Weert, Netherlands
P +31 (0) 495 580 852
F +31 (0) 495 580 845
Asia Pacific
A Office No. 918 on 9/F, Shatin Galleria
18-24 Shan Mei Street
Fotan, Shatin, Hong Kong
P 852 2145 4099
F 852 2145 4477

![]()
8800-003239 Rev01
2020 Legrand | AV
www.legrandav.com
09/2020
![]()




















