Bissell 7950 Series ProHeat Self Propelled

Thanks for buying a BISSELL ProHeat® Self Propelled
We’re glad you purchased a BISSELL ProHeat® Self Propelled heated
formula deep cleaner. Everything we know about floor care went into the design and construction of this complete, high-tech home cleaning system.
Your ProHeat Self Propelled is well made, and we back it with a limited 2-
year warranty. We also stand behind it with a knowledgeable, dedicated Consumer Services department, so, should you ever have a problem, you’ll receive fast, considerate assistance.
My great-grandfather invented the floor sweeper in 1876. Today, BISSELL is a global leader in the design, manufacture, and service of high quality homecare products like your ProHeat Self Propelled deep cleaner.
Thanks again, from all of us at BISSELL.
Mark J. Bissell
President and Chief Executive Officer
IMPORTANT SAFETY INSTRUCTIONS
When using an electrical appliance, basic precautions should be observed, including the following:
Read all instructions before using your ProHeat®
WARNING: To reduce the risk of fire, electric shock, or injury:
- Do not immerse.
- Use only on surfaces moistened by cleaning process.
- Always connect to a properly grounded outlet.
- See Grounding Instructions.
- Unplug from outlet when not in use and before conducting maintenance or troubleshooting.
- Do not leave machine when it is plugged in.
- Do not service machine when it is plugged in.
- Do not use with damaged cord or plug.
- If appliance is not working as it should, has been dropped, damaged, left outdoors, or dropped into water, have it repaired at an authorized Service Center.
- Use indoors only.
- Do not pull or carry by cord, use cord as a handle, close door on cord, pull cord around sharp corners or edges, run appliance over cord, or expose cord to heated surfaces.
- Do not carry the appliance while in use.
- Do not unplug by pulling on cord. Unplug by grasping the plug, not the cord.
- Do not handle plug or appliance with wet hands.
- Do not put any object into appliance openings, use with blocked opening, or restrict air flow.
- Do not expose hair, loose clothing, fingers or body parts to openings or moving parts.
- Do not pick up hot or burning objects.
- Do not pick up flammable or combustible materials (lighter fluid, gasoline, kerosene, etc.) or use in the presence of explosive liquids or vapor.
- Do not use appliance in an enclosed space filled with vapors given off by oil base paint, paint thinner, some moth proofing substances, flammable dust, or other explosive or toxic vapors.
- Do not pick up toxic material (chlorine bleach, ammonia, drain cleaner, gasoline, etc.).
- Do not modify the 3-prong grounded plug.
- Do not allow to be used as a toy.
- Do not use for any purpose other than described in this User’s Guide.
- Do not operate the appliance unless the belt door is securely assembled in the location provided.
- Use only manufacturer’s recommended attachments.
- To reduce the risk of fire and electric shock due to internal component damage, use only cleaning products formulated by BISSELL for use in this appliance. See the Cleaning Fluid section of this manual.
- Keep openings free of dust, lint, hair, etc.
- Do not point attachment nozzle at people or animals
- Keep appliance on a level surface.
- Turn off all controls before unplugging.
- Unplug before attaching the TurboBrush.®
- Be extra careful when cleaning stairs.
- Close attention is necessary when used by or near children.
- WARNING: The Power Cord on this product contains lead, a chemical known to the State of California to cause birth defects or other reproductive harm.
WASH HANDS AFTER HANDLING.
SAVE THESE INSTRUCTIONS.
THIS MODEL IS FOR HOUSEHOLD USE ONLY.
Commercial use of this unit voids the manufacturer’s warranty.
GROUNDING INSTRUCTIONS
This appliance must be connected to a grounded wiring system. If it should malfunction or break down, grounding provides a safe path of least resistance for electrical current, reducing the risk of electrical shock. The cord for this appliance has an equipment-grounding conductor and a grounding plug. It must only be plugged into an outlet that is properly installed and grounded in accordance with all local codes and ordinances.
WARNING: Improper connection of the equipment-grounding conductor can result in a risk of electrical shock. Check with a qualified electrician or service person if you aren’t sure if the outlet is properly grounded. DO NOT MODIFY THE PLUG. If it will not fit the outlet, have a proper outlet installed by a qualified electrician. This appliance is designed for use on a nominal 120-volt circuit, and has a grounding attachment plug that looks like the plug in the drawing above. Make certain that the appliance is connected to an outlet having the same configuration as the plug. No plug adapter should be used with this appliance.
Product Overview


Accessories
![]() | ![]() | ![]() | ![]() | ![]() | ![]() |
4” Upholstery Tool (Available on select models only. | Tough Stain Brush | PreTreat Wand (Available on select models only.) | Bare Floor Attachment (Available on select models only.) | Spraying Crevice Tool (Available on select models only.) | Tool Bag |
![]() | ![]() | ![]() | ![]() | ![]() | ![]() |
Applicator Tool | Scotchgard™ protector cartridge | TurboBrush® (Available on select models only.) | 16 oz. BISSELL Fiber Cleansing Formula™ with Scotchgard™ Protection | 16 oz. Floor Cleansing Formula™ (Available for purchase) | 16 oz. Tough Stain PreCleaner™ (Available for purchase) |
Assembly
How to Use This Guide
This User’s Guide has been designed to help you get the utmost satisfaction from your BISSELL ProHeat deep cleaner. You’ll find assembly and operating instructions, safety precautions, as well as maintenance and troubleshooting instructions. Please read this Guide thoroughly before assembling your deep cleaner.
Pay particular attention to the product diagram, assembly instructions, and part names. Locate and organize all parts before assembly. Familiarize yourself with the parts and where they go. Following this User’s Guide will greatly enhance your ability to get the most performance from your BISSELL ProHeat for many years.
Your ProHeat comes in 3, easy to assemble components plus accessories.
Upper Handle
Lower Handle
Tool Caddy
The only tool you will need to assemble your cleaner is a Phillips head
screwdriver.
WARNING: Do Not plug in your cleaner until you have completely assembled it per the following instructions and are familiar with all instructions and operating procedures.
How to Put It Together
Refer to Assembly Diagram above.
- Make sure the Powerdrive Knob is in the “ON” position. Slide Upper Handle onto Lower Handle.

- Insert 2 screws into lower holes while gently pushing down on Upper Handle. See drawing for exact location.

Tighten screws completely. - Position Tool Caddy on back of unit. Insert 4 screws until snug.

- Snap tools into storage on the Tool Caddy.

ProHeat assembly is now complete.
Special Features of your BISSELL ProHeat
Self Propelled Powerdrive
The ProHeat Self Propelled home cleaning system is the first and only deep cleaner with a powerdrive. The Self Propelled feature allows you to clean forward and backward using a minimum amount of effort while maximizing cleaning.

- Simply turn the Powerdrive Knob to the “ON” position.
- Push the handle slightly forward to engage the powerdrive in the forward motion and pull slightly back for ease of motion on the backward pass.
- The Powerdrive Knob may be turned to the “OFF” position for transporting the machine, or for maneuvering around delicate furniture.
The BISSELL SmartClean® System
The ProHeat is a home cleaning system that heats hot tap water and automatically mixes it with Fiber Cleansing Formula. The solution is heated as it is applied to the carpet with Fiber Cleansing Formula. The combination of heated cleaning solution, powered brushes and suction provide a safe and thorough method of cleaning.
SmartTemp®
Temperature control automatically heats the cleaning solution as it is being applied to the carpet (*) to safely optimize cleaning effectiveness.
- The Power Switch on the handle controls power to the machine; both switches must be ON ( I ) for SmartTemp to work.
- The SmartTemp Switch is found on the handle, near the Power Switch. You may choose not to use the SmartTemp feature if you are cleaning delicate wool or oriental rugs.
*SmartTemp heats the cleaning solution for carpet and bare floor application only. It does not heat solution sprayed through the accessory tools.
- The SmartTemp Ready Light indicates when the heater is ON ( I ). The heater should be turned on 2 minutes before cleaning, to become fully warmed up and ready for cleaning. It is found on the front of the handle where it is easy to see while you clean.
- SmartTemp increases the water temperature approximately 25° and will not allow it to exceed 180.°
SmartMix®
Provides custom solution control for each cleaning job.
- Lift the SmartMix concentrate tank up and out of the machine base.

- Turn the tank over so that the valve cap is in an upward position. Unscrew the valve cap and fill the tank to the fill line with BISSELL Fiber Cleansing Formula.
- Replace the valve cap turning until snug.

- Replace SmartMix concentrate Tank.
- Choose the SmartMix setting that fits the cleaning job.
Water Rinse / Carpet Protector -This setting must also be used when applying the carpet protectant through the applicator, to prevent the pump from temporarily losing its prime.
Normal- automatically provides the best mix of water and concentrate for most cleaning jobs.
High Traffic- automatically mixes the right amount of water and concentrate to dissolve tough grime and heavy soil. Note: Residual cleaning materials left in carpet from other products may cause excessive foaming when picked up. If foam is overflowing tank, move SmartMix Dial to “Water Only” position until the condition stops.
Note: Both the SmartMix Tank and the clean water tank must have liquid in them for the machine to spray. If one tank is empty, the machine will temporarily lose its prime and not apply either cleaning solution or water only
Tip: Deep Cleaning stairs and high traffic areas on a regular basis and using the Scotchgard protector can prolong carpet life.
WARNING: To reduce the risk of fire, use only BISSELL Deep Cleaning Formula for full size machines in your ProHeat. Use of cleaning formulas which contain lemon or pine oil may damage this appliance and void warranty.
Chemical spot cleaners or solvent based soil removers should not be used. These products may react with the plastic materials used in your ProHeat, causing cracking or pitting.
Tank-in-Tank™
Our Tank-in-Tank system is designed with a bladder inside for clean water. As you clean, the bladder will empty. Dirty water collects in the tank outside the bladder.
- Step on Handle Release to lay the machine handle down out of the way.

- Lift the Tank-in-Tank handle. The handle locks the lid in place.
- Carry it like a bucket to fill at the sink.
Note: You may notice hair and debris deposits on the carpet that were loosened by the brushing action (especially with newer carpets that have never been deep cleaned before). This debris should be picked up and thrown away. Debris that deposits in the Brush Belt should be cleaned between uses to keep the Belts running free.
- Set the tank down and rotate the handle forward to unlatch the lid. Lift off and set the lid aside.

- Find the mouth of the Bladder and fill to the bottom of the neck with clean hot tap water. *Do not boil or microwave water as it can destroy the Bladder.

Note: Fill the Bladder with clean hot tap water only. - Replace the Tank Lid matching the lid and tank edges.
Handle must be in the forward position to reinstall. - Rotate the handle to the carrying position to re-latch the lid.
- Replace tank in machine base, seating firmly in place.
- Rotate handle back down to the latched position.
Note: Both the SmartMix Bottle and the clean water tank must have liquid in them for the machine to spray. If one tank is empty the machine will not apply either cleaning solution or water only.
When It’s Time to Empty Tank-in-Tank™
- Remove the Tank-in-Tank – follow steps 1 and 2 above.
- Carry the Tank-in-Tank, like a bucket, to the sink where you will dispose of the dirty water.
- Remove Tank Lid by rotating handle forward to unlatch lid and lifting lid off tank.

- Pour out dirty water.

- After each use, remove and rinse the lint screen located on the Tank Lid.
A. Remove tank assembly from unit.
B. Remove Tank Lid.
C. Remove any debris caught in lint screen.
D. Reinsert lint screen on Tank Lid. The screen will click into place.
E. Replace Tank Lid.
F. Reinsert tank assembly into unit. - Refill with clean tap water as above, steps above , and refill the SmartMix Tank with BISSELL Fiber Cleansing Formula as necessary.

- When the cleaning job is complete, rinse out the Tank-in-Tank by rinsing clean water between the bladder and tank.
- Return Tank-in-Tank to the machine, following steps 6 above.

- Refer to the Maintenance section, check above for the final cleanup.

The Flow Indicator
The Flow Indicator is located on the machine base. It spins when the trigger is pressed to indicate that the machine is applying cleaning solution to the floor. It will stop spinning to indicate that the SmartMix Tank or bladder needs to be refilled, or when the trigger is released. Flow Indicator does not spin when the Ready Tools Dial is set to Tool setting.
Tip: A special red float device in the tank will cause the cleaner to stop removing solution from the carpet and the motor sound will rise in pitch to let you know the dirty water tank is full.
Tip: Thorough vacuuming before deep cleaning will prevent early clogging of lint trap
ReadyTools Dial
This provides above floor cleaning with the flip of a switch. Just choose the cleaning tool or protector applicator, attach to the flex hose and ProHeat is ready to clean upholstery or, stairs or apply extra protection against dirt and tough stains when using the Scotchgard protector applicator.*
*Set the dial to Floor Cleaning when cleaning carpets or bare floors or set it to Tools/PreTreat when using the flex hose attachments or for pre-treating floors, or when applying the Scotchgard protector applicator.
*SmartTemp heats the cleaning solution for carpet and bare floor application only. It does not heat solution sprayed through the accessory tools.
Operation
Before You Clean Carpets
- Plan activities to give carpet time to dry.
- Remove easily moved furniture from the room (chairs, lamps, coffee tables, etc).
- Vacuum thoroughly to pick up loose debris and pet hair before using the ProHeat.
- Plan your cleaning route to leave an exit path. It is best to begin cleaning in the corner farthest from your exit.

Machine Preparation
- Set up the machine following instructions in The Features section, above.
- Use Fiber Cleansing Formula in the SmartMix Tank when cleaning carpets, stairs or upholstery. Use clean water in the SmartMix Tank for gentle cleaning, rinsing, or when applying carpet protectant.
- Choose the SmartMix setting to match the cleaning job.
- Set the ReadyTools Dial to either Tools/PreTreat or Floor Cleaning.
PreTreating
Pretreating is recommended to improve cleaning effectiveness for heavily soiled carpet, high traffic areas such as entryways and hallways, or stairs.
- Set the SmartMix Dial to High Traffic.
- Set ReadyTools Dial to PreTreat.
- Plug into a proper outlet and turn ON ( I ) both the Power and SmartTemp Switches.
- While pressing the Trigger, slowly make several passes over the area to be cleaned. Caution: Do not overwet.
- Turn the machine Power switches OFF ( O ) and let BISSELL Deep Cleaning Formula dissolve the tough soil for 1-2 minutes before continuing
Tip: Try pretreating stairs or entry ways with BISSELL Tough Stain PreCleaner™. Then deep clean with the SmartMix® Dial set on High Traffic.
Carpet Cleaning
- Plug into a proper outlet and turn the Power and the SmartTemp Switches ON ( I ). Wait 2 minutes for the heater to warm up to maximize cleaning.
- While pressing the Trigger, make one slow forward wet pass and another one back. Let the SmartTemp heated formula and Dirt Lifter PowerBrush do the work for you.
Caution: Do not overwet.
Note: Take care not to run over loose objects or edges of area rugs. Stalling brush may result in premature belt failure. - Release the Trigger and make one slow forward and back pass over the same area to remove any residual dirty water.
- Repeat cleaning passes until solution being pulled up appears clean. For the most thorough clean, use slow forward and backward passes.
- Continue passes without pressing the trigger until you can’t see any more water being pulled up.
Note: Both the SmartMix Tank and the clean water tank must have liquid in them for the machine to spray. If one tank is empty the machine will not apply either cleaning solution or water only.
- When the cleaning job is complete refer to the Maintenance section for machine cleanup and storage instructions down below.
ATTENTION BERBER CARPET OWNERS: Some Berber Carpets have a tendency to fuzz with wear. Repeated strokes in the same area with an ordinary vacuum or deep cleaner may aggravate this condition. Please see Stain Removal instructions down below.
Cleaning Fluid Section
Keep plenty of genuine BISSELL Fiber Cleansing Formula™ and Scotchgard™ protector cartridges on hand so you can clean and protect whenever it fits your schedule. Always use genuine BISSELL deep cleaning formulas.
Note: Always use genuine BISSELL deep cleaning formulas to reduce the risk of fire and electric shock due to internal component damage.
![]() | ![]() | ![]() | ![]() |
48 oz. BISSELL Fiber Cleansing Formula™ with Scotchgard™ Protection item # 0710 | 48 oz. BISSELL Multi-Allergen Removal™ Formula with Scotchgard™ Protection item # 0720 | 48 oz. BISSELL Pet Odor and Soil Removal™ Formula with Scotchgard™ Protection item # 0730 | 48 oz. BISSELL Pet Odor and Soil Removal™ Formula with Scotchgard™ Protection item # 0730 |
Keep plenty of genuine BISSELL Fiber Cleansing Formula™ and Scotchgard™ protector cartridges on hand so you can clean and protect whenever it fits your schedule. Always use genuine BISSELL deep cleaning formulas. Non-BISSELL cleaning solutions may harm the machine and void the warranty
Stain Removal
Do Not Delay! Failure to attend to an accident soon after it occurs
may cause it to set and become permanent.
Before treating any stain, follow these pre-treatment steps:
- Blot up liquids with an absorbent cloth or paper towels. White materials are recommended because certain dyes may bleed and make the stain worse
- Gently scrape up semi-solids with a spoon or spatula. Do not use a knife or other utensil with sharp edges because it could damage the carpet or upholstery.
- If the area has dried, remove the remaining semi-solids and residue with a sweeper or vacuum.
- Be sure to pre-test any spot removal solutions or chemicals on an inconspicuous area first. This is extremely important; different dyes and materials could be damaged or discolored by a cleaning solution. If such a change should occur, try a different solution or call a professional. If cleaning on Berber Carpet gently run your machine over a hidden area. If no fuzzing occurs, continue cleaning in soiled area.
Use one of the following methods to Preclean the stain: - Using BISSELL Tough Stain Precleaner™, generously spray the area with the formula. Gently work the solution with a clean cloth or towel into the area using light strokes from the edges of the stain to the center. When you reach the center of the stain with your cloth, gently pinch it in an upward motion. Make sure to turn and change your cloth frequently and do not rub the stain. You may repeat this process several times.
OR
Use your BISSELL deep cleaner as a PreCleaner. With one of the tools attached to hose, set the Ready Tools Dial to Pretreat and the SmartMix Dial to the High Traffic setting. Spray the area with solution and allow the Deep Cleaning formula to penetrate for 3-5 minutes. - Once the Precleaning is complete, use the attached tool to gently scrub the stain with back and forth strokes.
- Allow to dry. Some difficult stains may require a second treatment.
TurboBrush®
(Available on select models only)
Assembly
Unplug cleaner from the outlet before attaching TurboBrush. Attach TurboBrush to the Flex Hose by pressing tool onto the Grip/Trigger until button snaps into hole. Make certain tool is securely in place.
Use
- Move the TurboBrush switch to the “BRUSH” position. This activates the brush when the unit is running.
- Place the tool directly on the soiled surface. Apply downward pressure on the tool and pull towards you while pulling trigger to spray cleaning solution.
- Release the spray trigger and move the switch to the “SUCTION” position. Vacuum the area until no more cleaning solution can be removed.
- Repeat steps 1-3 until no more dirt can be removed.
Caution: Do not overwet.
When You’re Done
- Disconnect the TurboBrush from the Flex Hose by pushing down on the button lock and pulling straight off.

- Once removed from the Flex Hose, the TurboBrush can be cleaned.
A) Move the switch to the “SUCTION” position
B) Rinse under running water.
C) Check spray nozzle for dirt. If necessary, clean with a soft bristle brush.
D) Replace TurboBrush in its special storage location on the Tool Caddy in back. (available on select models only)
Scotchgard™ protector Applicator (Optional)
The Scotchgard protector applicator (with formula included) can be used to help retain the carpet cleanliness you achieve with your ProHeat machine. For best results the post cleaning treatment should be applied while the carpet is still wet or damp. It is recommended that the Scotchgard protector is applied every 12 months in all carpeted areas, and after every deep cleaning for high traffic areas such as entryways and stairs.
- Immediately after cleaning and rinsing your carpets, empty the Tank-in-Tank and refill the Bladder with clean hot tap water. (See above for instructions.)

- Set the ReadyTools Dial to Tools/Pretreat.
- Flush water through the hose to eliminate cleaning solution from the tube by spraying water through the hose without attachments into a sink for 15-30 seconds.
- Attach cartridge to the applicator tool, following instructions on cartridge.

- Turn the SmartMix Dial to the Water Rinse/Carpet Protectant Setting.
- Place the Scotchgard protector applicator onto the end of the Flex Hose. The water from the Tank-in-Tank will automatically mix with the concentrated protectant formula contained in the cartridge.
- Before applying Scotchgard protector, test a small, hidden area for colorfastness. Examine area when dry. If color is affected, do not use. For upholstery, look for manufacturer’s cleanability code tag. Use on fabrics coded “W” or “WS”. If coded “S” or “X” do not use. Not recommended for use on velvet, silk vinyl, leather or 100% cotton upholstery.

- Plan your route to leave an exit path. It is best to begin protecting in the corner farthest from your exit.
- Apply Scotchgard protector in a slow sweeping motion with a slight overlap of the treated area. For best coverage, follow the guide on the cartridge.
- One 8 oz. cartridge protects 200 square feet (18.6 square meters). This is equal to two average size rooms (each at 10 x 10 feet or 3 x 3 meters. Periodically check the product level in the bottle to ensure best coverage.
- Be careful not to spray the protector onto furniture or fabric that has not been tested for colorfastness. If this does occur, wipe off the protector.

- Remove bottle from applicator tool. If concentrate is left, put the cap on and store at room temperature for later use.
- With applicator tool still on the end of Flex Hose, spray clean hot water into sink to avoid any future clogging.
- Store tool on the back of unit in the caddy
Tip: If clogged, soak applicator tool in hot tap water before using
How to Clean Upholstery and Small Areas
Important – Check Upholstery Tags:
- Check manufacturer’s tag before cleaning. “W” or “WS” on the tag means you can use your ProHeat. If the tag is coded with “X” or “S” (with a diagonal strike through), or says “Dry Clean Only,” do not proceed. The Scotchgard™ protector is not recommended for use on velvet, silk, 100% cotton upholstery, vinyl or leather. If manufacturer’s tag is missing or not coded, check with your furniture dealer.

- Check for colorfastness in an inconspicuous place.
- If possible, check upholstery stuffing. Colored stuffing may bleed through fabric when wet.
- Plan activities to give upholstery time to dry.
- Vacuum thoroughly to pick up loose debris and pet hair. Use a vacuum with a brush attachment and a crevice tool to clean in fabric folds and tufts.
WARNING: To reduce the risk of injury, be extra careful when cleaning stairs. Make sure machine is secure and level.
Machine Preparation
- Set up the machine following instructions in The Features section, above.
- Use Fiber Cleansing Formula in SmartMix Tank.
- Set the ReadyTools dial to Tools or PreTreat.
* SmartTemp heats the cleaning solution for carpet and bare floor application only. It does not heat solution sprayed through the accessory tools. - Set SmartMix Dial to Normal
Cleaning Technique
- Choose the 4” Small Area Tool, the Tough Stain Brush, or the Spraying Crevice Tool and connect to the Flex Hose.
- Plug into a proper outlet and turn Power Switch ON ( I ).
- While pressing the Trigger, slowly move the spraying tool back and forth over the soiled surface. Release the Trigger to suction soiled water.
- Continue to clean soiled area, working in small sections, until no more dirt can be removed.
Caution: Do not overwet. - When the cleaning job is complete refer to the Maintenance section for machine cleanup and storage instructions down below.

Tip: Use the BISSELL Pet Odor and Soil Removal™ Formula to deep clean pet odor and soil.
Tip: Deep cleaning carpeting and upholstery with BISSELL Multi Allergen Removal™ Formula regularly can reduce dust mite waste and allergens in your home.
Cleaning Bare Floors
The Bare Floor Tool (available with select models only) provides effective cleaning for linoleum, vinyl, and tile floors.
Caution: Do not use on hardwood floors.

- Use BISSELL Floor Cleansing Formula.
- Vacuum or sweep thoroughly to pick up loose debris and pet hair.
- Remove easily moved furniture from the room, (chairs, tables, etc.)
- Plan your cleaning route to leave an exit path.
- Plan activities to allow 30 minutes for the floor to dry completely

Attach the Bare Floor Tool
- Step on the Handle Release to lay the machine handle down.
- Remove the Tank-in-Tank from the machine base.
- Lift the machine base to expose the underside of the Floor Nozzle Window.
- Attach Bare Floor Tool to Floor Nozzle Window with long tab to the right side (ReadyTools side) of the nozzle.
- First attach left side (short Tab) catching tab over nozzle edge.
- Gently bend long tab (right side) outward to easily snap over edge of clear nozzle on left.

Machine Preparation
- Set up machine following instructions in the Features section above. Be sure to thoroughly rinse out any remaining Fiber Cleansing Formula from the SmartMix Tank to prevent slippery linoleum, vinyl, and tile floors. Use BISSELL Floor Cleansing Formula in the SmartMix Tank.
- Check ReadyTools Dial – it should be set on Floor Cleaning.
- Choose the SmartMix setting to match the cleaning job.
- Plug into a proper outlet and turn Power Switch ON ( I ). Turn SmartTemp Switch ON ( I ). The SmartTemp Ready Light illuminates and the ProHeat is ready to clean.

Bare Floor Cleaning Technique
- Slowly move the machine nozzle with Bare Floor Tool forward and back over soiled surface one time while pressing the Trigger. Caution: Do not over wet.
- Repeat the motion without pressing the Trigger using the Bare Floor Tool to squeegee and suction up the dirty water.
- Repeat steps 1 and 2 backing along the exit path.
- Allow about 30 minutes for the floor to dry completely.
- When the cleaning job is complete, refer to the Maintenance/Storage section down below.
- To remove Bare Floor Tool gently bend long tab (right side) outward and pull tool down away from nozzle. Rinse thoroughly, dry and store
WARNING: To reduce the risk of fire, electric shock or injury unplug from outlet before servicing.
Tip: SmartMix Bottle may be stored with concentrate ready for your next cleaning job. Make sure dial is turned to the Water Rinse/ Carpet Protector Setting when storing.
Routine Maintenance
- Turn Power and SmartTemp switches OFF ( O ).

- Unplug power cord from the outlet .
- Coil Flex Hose around storage brackets on the Tool Caddy.

- Coil Power Cord around Power Cord Quick Release.
- Remove and rinse tools in clean, running water. Dry and replace on tool caddy.
- Remove Tank-In-Tank, dispose of dirty water. See Features section, above.
- Rinse out Tank-In-Tank and replace on the machine; Clean out lint trap.
- Clean out the Flow Indicator Filter each time it is used to ensure best cleaning performance. Unscrew the Flow Indicator Cap, lift out the red rotor and white filter. Rinse all 3 parts in tap water. Replace the filter with the post facing upward. Replace the rotor. Replace the Flow Indicator Cap; turn until snug, do not over-tighten.
- Wipe all exterior surface with a soft cloth.
- Store cleaner upright in a protected, dry area.
Note: ProHeat uses water and must not be stored where there is a danger of freezing. Freezing will damage internal components and void the warranty. - When carpet is dry, vacuum again to remove hair and fuzz that the ProHeat may have loosened.

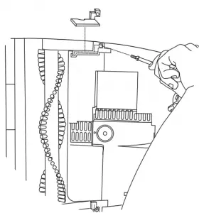
Pump Belt Replacement
- Turn the machine OFF ( O ) and unplug from the wall outlet.
- Step on the Handle Release and recline the handle down onto floor. (see illustration).

- Remove Tank-In-Tank and SmartMix Tanks. Set them aside (see illustration).


- Remove Belt Access Door located near the Floor Cleaning/ Tools switch by inserting a flat head screwdriver into the slot nearest to the handle and gently prying the access door off (see illustration).

- Turn the machine onto its side so the belt access area is facing upward (see illustration).

- On the bottom of the machine, near the belt access area, is a red retainer plate that holds the black brush arm and brush in place. Using a Phillips head screwdriver remove the screw that holds the red retainer plate in place. Set red retainer plate and Phillips head screw aside (see illustration).

- Remove the black brush arm that holds the brush in place. Set the black brush arm aside (see illustration).

- Remove the “toothed” brush belt from the brush then from the red pump pulley. Set the “toothed” brush belt and brush aside.

- Locate and remove broken pump belt.

To Install the Replacement Pump Belt
- With the unit still on its side, loop one end of the replacement pump belt around the red pump pulley and then the other end around the silver motor shaft (see illustration). Do not twist the replacement pump belt.

- Re-install the toothed brush belt first onto the red pump pulley and then onto the toothed end of the brush (see illustration).

- Re-Install the brush into the base of unit.
- Place the black brush arm onto the brush and slide black brush arm into base of unit. The black brush arm and brush should slide easily into original position (see illustration).

- Re-install the red retainer plate and Phillips head screw (see illustration).

- Using your finger, gently spin the replacement pump belt on the silver motor shaft. If assembled correctly, the replacement pump belt should rotate freely around the silver motor shaft and drive pulley without obstruction. The brush should also rotate freely when the silver motor shaft is turned.

- Turn the machine right side up and replace the Tank-In Tank, SmartMix Tank and belt access door (see illustration).)


- Assembly is now complete.
If you have any questions, or are having trouble installing your replacement pump belt, please call BISSELL Consumer Services at 1-800-237-7691.
Troubleshooting
WARNING: To reduce the risk of fire, electric shock or injury unplug from outlet before servicing.
Powerdrive does not seem to be engaged.
Possible Causes
- The Powerdrive is in the OFF position
- Handle not fully engaged with Powerdrive position
Remedies
- Turn the Powerdrive Knob to the “ON” Position
- Push handle in as far as it will go to feel the most impact
SmartTemp Ready Light does not illuminate.
Possible Causes
- The SmartTemp Switch is not turned ON ( I )
- The machine Power Switch is not turned ON ( I ).
Remedies
- Turn on the SmartTemp Switch
- Both switches must be ON ( I ) to activate the SmartTemp Ready Light.
Reduced spray or no spray.
Possible Cause
- Bladder may be empty.
- SmartMix Tank may be empty.
- The filter may be clogged.
- Tanks may not be seated properly.
- Pump may have lost prime.
- The Pump Belt may be broken.
Remedies
- Refill Bladder with hot tap water.
- Fill with BISSELL Fiber Cleaning Formula for cleaning or water if rinsing, or using the Scotchgard protector applicator.
- Clean out Flow Indicator Filter, above.
- Turn power OFF; remove & reseat tanks. Inspect for presence of seals.
- Turn power OFF; after 1 minute turn ON and depress Trigger.
- Turn the machine OFF and unplug from the outlet. To check if a Pump Belt has broken, you will need a flat head screwdriver. Insert the blade end into the lower slot of the Belt Access door to release the lower snap. If necessary, insert the blade end into the upper slot to release the upper snap. Examine the belt for breakage. You should be able to see the Pump Belt looped around the motor shaft. If it is broken or missing, please refer to Replacement Parts down below. before calling Consumer Services. Complete installation instructions will accompany the replacement belt.

DirtLifter PowerBrush does not turn.
Possible Causes
- The Brush Belt or Pump Belt is off or broken
Remedies
- Turn the machine OFF and unplug from the outlet. To check if a Pump Belt has broken, you will need a flat head screwdriver. Insert the blade end into the lower slot of the Belt Access door to release the lower snap. If necessary, insert the blade end into the upper slot to release the upper snap. Examine the belt for breakage. If broken refer to check above/
Carpet Protector is not spraying.
Possible Causes
- Bottle not connected properly to the tool.
- Solution clogging the Spray trigger.
- Applicator tool spray is blocked.
- SmartMix not set on water/rinse carpet protector setting.
- ReadyTool dial not set on tool setting.
Remedies
- Follow instructions on cartridge assuring proper fit.
- Soak applicator tool only in hot water. Spray without the cartridge attached to purge any residual Solution left in the tool.
- Soak applicator tool only in hot water. Spray without the cartridge attached to purge any residual Solution left in the tool.
- Set to proper setting.
- Set to tool setting
Cleaner not picking up solution.
Possible Cause
- Ready Tools dial may be at the wrong setting for the cleaning job.
- Nozzle Window may not be properly attached.
- Tank-in-Tank lid is not properly installed.
- Tank-in-Tank is not properly seated.
- Poor tool position. (Hand held attachments only).
- Tank-in-Tank has picked up maximum dirty water.
Remedies
- Set ReadyTools dial to either Tools or PreTreat or Floor Cleaning.
- Press down firmly on the black oval gasket at the top window to make sure the two tabs on the back of the Nozzle Window are snapped into the mating slots in the main housing.
- Re-install lid; refer to The Operations section, check above.
- Tank-In-Tank must be firmly seated to function; remove and reseat Tank-in-Tank.
- Adjust angle; apply more downward pressure.
- Empty Tank-in-Tank, refer to The Operations section, check above.
Replacement Parts – BISSELL ProHeat®
| Item | Part No. | Part Name |
| 1 | 210-9213 | 4” Small Area Tool |
| 2 | 210-9148 | Spraying Crevice Too |
| 3 | 210-1197 | TurboBrush® |
| 4 | 214-9131 | Bare Floor Tool |
| 5 | 214-9142 | PreTreat Wand |
| 6 | 215-9155 | Tough Stain Brush |
| 7 | 015-9043 | Tank Assembly Complete (Includes Lid Assembly) |
| 8 | 015-4439 | Tank Lid Assembly |
| 9 | 015-9041 | Tank Bottom (Assembly) |
| 10 | 210-1785 | SmartMix® Bottle (Includes Cap Assembly) |
| 11 | 210-1795 | SmartMix® Cap Assembly |
| 12 | 555-6503 | Flow Indicator Assembly |
| 13 | 210-4052 | Window Gasket |
| 14 | 214-9876 | Floor Nozzle Window and Gasket |
| 15 | 215-0628 | Floor Nozzle Window and Gasket |
| 16 | 015-0621 | Replacement Brush Belt (With Instructions) |
| 17 | 213-3501 | Lint Screen |
| 18 | 0464 | Scotchgard™ protector Cartridge |
| 19 | 215-2152 | Applicator Tool |
| 20 | 0710 | Fiber Cleansing Formula™ 48o |
| 21 | 0720 | Multi-Allergen Removal™ Formula 48oz |
| 22 | 0730 | Pet Odor and Soil Removal™ Formula 48oz |
*Not all parts are included with every model.

BISSELL Consumer Services
For information about repairs or replacement parts, or questions about your warranty, call:
BISSELL Consumer Services
1-800-237-7691
Monday – Friday 8 am — 10 pm ET
Saturday 9 am — 8 pm ET
Or write:
BISSELL Homecare, Inc.
PO Box 3606
Grand Rapids MI 49501
ATTN: Consumer Services
Or visit the BISSELL website – www.bissell.com
When contacting BISSELL, have model number of unit available.
Please record your Model Number: ___________________
Please record your Purchase Date: ___________________
NOTE: Please keep your original sales receipt. It provides proof of date of purchase in the event of a warranty claim. See “About Your Warranty” down below for details.
Please do not return this product to the store
About Your Warranty
This warranty gives you specific legal rights, and you may also have other rights which may vary from state to state. If you need additional instruction regarding this warranty or have questions regarding what it may cover, please contact BISSELL Consumer Services by E-mail, telephone, or regular mail as described below.
Limited Two Year Warranty
Subject to the *EXCEPTIONS AND EXCLUSIONS identified below, upon receipt of the product BISSELL Homecare, Inc. will repair or replace (with new or remanufactured components or products), at BISSELL’s option, free of charge from the date of purchase by the original purchaser, for two years any defective or malfunctioning part.
See information below on “If your BISSELL product should require service”.
This warranty applies to product used for personal, and not commercial or rental service. This warranty does not apply to fans or routine maintenance components such as filters, belts, or brushes. Damage or malfunction caused by negligence, abuse, neglect, unauthorized repair, or any other use not in accordance with the User’s Guide is not covered.
If your BISSELL product should require service:
Call BISSELL Consumer Services at the number below or visit the BISSELL website – www.bissell.com to locate a BISSELL Authorized Service Center in your area. Contact BISSELL Consumer Services.
Website or E-mail: www.bissell.com
Use the “Customer Services” tab.
Or Call:
BISSELL Consumer Services
1-800-237-7691
Monday – Friday 8 am – 10 pm ET
Saturday 9 am – 8 pm ET
Or write
BISSELL Homecare Inc.
PO Box 3606
Grand Rapids MI 49501
ATTN: Consumer Services
BISSELL HOMECARE, INC. IS NOT LIABLE FOR INCIDENTAL OR CONSEQUENTIAL DAMAGES OF ANY NATURE ASSOCIATED WITH THE USE OF THIS PRODUCT. BISSELL’S LIABILITY WILL NOT EXCEED THE PURCHASE PRICE OF THE PRODUCT.
Some states do not allow the exclusion or limitation of incidental or consequential damages, so the above limitation or exclusion may not apply to you
Bissell 7950 Series ProHeat Self Propelled User’s Guide – Download [optimized]
Bissell 7950 Series ProHeat Self Propelled User’s Guide – Download






















































































