BOSCH SMZ5003 Dishwasher Accessory Kit

Features and Benefits
Notes: All height, width and depth dimensions are shown in inches. *Please refer to installation instructions prior to making cutout. BSH reserves the absolute and unrestricted right to change product materials and specifications, at any time, without notice.Consult the product’s installation instructions for final dimensional data and other details. Applicable product warranty can be foundin a ccompanying product literature or you may contact your account manager for further details.
For more information on our entire line of products, go to boschappliances.com or call 1-800-944-2904. Copyright ©2022 BSH Home Appliances Corporation. All rights reserved. Bosch is a registered trademark of Robert Bosch GmbH. Litho Date: 08/202
Features

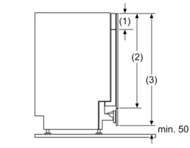
- for appliances with panel panel height 114-143 mm
- 81.5 cm tall appliance: 650-675 mm 86.5 cm tall appliance: 700-725 mm

- 81.5 cm tall appliance: min. 755 mm 86.5 cm tall appliance: min. 805 mm
Technical Specification
Product Description
- Accessory Brand Bosch
- Product name / series name SKU SMZ5003
- Internal article number 000000000000648174
EAN code 4242002476254 - Product packaging dimensions (HxWxD) 22
- Quantity per packing unit 1
- Standard number of units per pallet 200
- UPC code 825225876281
Product image MCSA045647_DA021000_def.jpg




















