Dainolite PYM-M-MB-BW Prym White Transitional Cone Pendant Light

WHAT IN THE BOX

POWER OFF
STEP 1

INSTALLATION INSTRUCTIONS
STEP 2

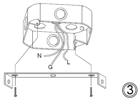
STEP 3

STEP 4

STEP 5

STEP 6

STEP 7

DIMENSION

- 1x Max 100W E26 Base
- (Not Included)
CONTACTS
- 1401 Courtney Park Drive East, Mississauga, Ontario, Canada L5T 2E4
- Tel: (905) 564-1262
- Fax: (905) 564-1299
- Email: [email protected]
- Web: www.dainolite.ca


















