aisword WF03363PBH0PAA Espresso Home Office Computer Desk Table Instruction Manual
Tools




| Part. | Item. | QTY. | |
A | M5X40 | 35 | ![]() |
| B | M4X16 | 4 |
|
C | M6X25 | 11 | |
| D | M3.5X14 | 44 |
|
E | 4 | ![]() | |
| F | M3X20 | 4 | ![]() |
G | M5X45 | 10 | |
| H | M6X30 | 3 | ![]() |
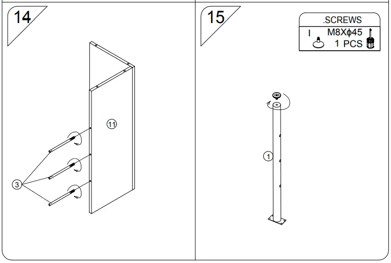
I | M8Xф45 | 1 | ![]() |
| J | M6X12 | 7 |
|
K | M4X64mm | 2 | ![]() |
| L | M4X8 | 4 |
|
M | M8X35 | 1 | ![]() |
| N | ф38 | 1 | ![]() |
O | 4 | ![]() | |
| 1 |
|
5X45mm bolt installation as below
- Bolt

- Connecting piece

Insert bolt when Connecting piece undet Such condition
Adjust connection piece direction if condition as illustrated
STEP: A.1
STEP: A.2
STEPA.3
Installation




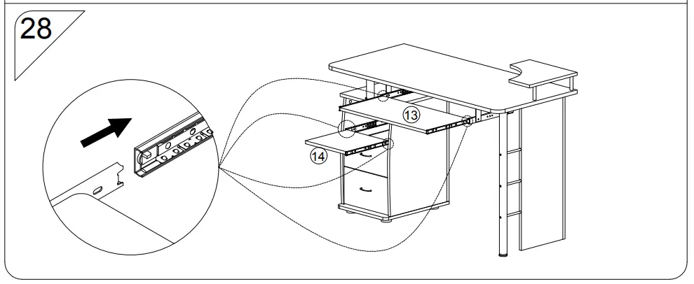
Disconnect the keyboard rail with the BLACK PLASTIC PART.It needs to be pulled down to disconnect the runners.















































