LG LDTS5552D 24 Inch Top Control Smart Dishwasher

INSTALLATION
Installation Parts and Tools
Parts not Provided

Tools Needed

Installation Overview
Preparing Cabinet Opening Preparing Electrical Wiring Preparing Water Supply Connection Preparing the Dishwasher Removing Lower Cover Sliding the Dishwasher into Cabinet
Product Dimensions
Back view

- Leveling the Dishwasher
- Securing the Dishwasher to Countertop and
- Connecting the Drain Hose
- Connecting Water Supply
- Connecting Power
- Final Check
Side view

Water supply hose, drain hose and electric cable should be passed through this area.
NOTE
- For easiest installation, see marked areas above for water and electrical clearances in base of dishwasher.
Product Specifications
The appearance and specifications listed in this manual may vary due to constant product improvements.
| Electrical requirement | 120 V, 60 Hz AC only, minimum 15 A circuit breaker |
| Water pressure | 20 – 80 psi (140 – 550 kPa) |
| Dimensions | 23 3/4″(W) X 24 5/8″(D) X 33 5/8″(H)
603 mm(W) X 625 mm(D) X 854 mm(H) |
| Inlet water temperature | 120 °F (49 °C) minimum, 149 °F (65 °C) maximum |
| Net weight | 72 – 89 lbs. (33 – 40 kg) |
Preparing Cabinet Opening
This dishwasher is designed to fit a standard dishwasher opening. An opening may be needed on both sides to route plumbing and electrical connections.
- To ensure proper drainage, install the dishwasher no more than 12 ft. (3.65 m) from the sink.
- The location must have sufficient space for the dishwasher door to open easily and provide at least 0.1 (2 mm) between the dishwasher and the cabinet sides.
- If installing the dishwasher in a corner, leave a minimum of 2 (50 mm) between the dishwasher and the adjacent wall.
- The adjacent wall must be free of obstructions.
- For flush installations only, you may remove the cabinet brace inside the cabinet.

- Select a location as close to the sink as possible for easy connections to water supply line, drain hose and electrical connection.

- To allow for proper clearance of plumbing an delectrical, use the template included with the literature to determine the clearance on the side of the cabinet where the cabinet meets the back wall. Using a 2 1/2” diameter hole saw, drill a hole in the target area as shown on the template.

WARNING
- Installation damage is not covered by the warranty, and leaks caused by improper installation may result in property damage.
- Do not use existing holes unless they are in the target area.
- Failure to properly locate the hole for the water and drain lines may prevent the dishwasher from installing flush with the cabinets and could result in kinked, pinched, crushed, stressed or damaged lines.

Preparing Water and Electrical Connections
There are 2 channels in the bottom of the dishwasher for routing the water and electrical connections. As shown in the bottom view below, channel is for the water supply line, and channel is for the electrical cable.
- 1 Turn off the house water supply and the circuit breaker or dedicated power before connecting the dishwasher.
- Run the water supply line along the floor 6 1/2 – 7 3/4” (165–197 mm) from the left side of the opening and tape it in place in front of the opening.
- Run the electrical cable along the floor 14–16” (356–406 mm) from the water supply line and tape it in place.
- The electrical outlet must be within 4 ft. (1.22 m) of either side of the dishwasher.
- The best location for the electrical conduit is on the right side of the back wall. Re-route the electrical cable before installation if the electrical conduit pipe is longer than 3” (76 mm) and is centered on the back wall.

WARNING
Water Connection
- Do not reuse an old hose. Use only a new hose when installing the dishwasher. The old hose could leak or burst causing flooding and property damage. Contact an LG Customer Information Center for assistance in buying a new hose.
Electrical Connection
- Use a time-delay fuse or circuit breaker.
- Operate this appliance with the correct voltage as shown in this manual and on the rating plate.
- The wiring must be grounded properly. If in doubt, have it checked by a qualified electrician.
- Connect the appliance using 3-wires, including a ground wire.
- The appliance and outlet must be positioned so that the plug is easily accessible.
- Do not use an extension cable or adapter with this dishwasher.
- Do not overload the outlet with more than one appliance.
- The included 16AWG wire nuts should be used.
- It is the personal responsibility and obligation of the product owner to have a proper outlet installed by a qualified electrician.
CAUTION
- When connecting the dishwasher water supply line to the house water supply, sealing tape or compound should be used on pipe threads to avoid leaks. Tape or compound should not be used on compression fittings.
- Connect the dishwasher to a hot water supply with a temperature range between 120 °F (49 °C) and 149 °F (65 °C). This temperature range provides the best washing results and shortest cycle time. To prevent damage to dishes, the temperature should not exceed 149 °F (65 °C).
- Water supply pressure must be between 20 psi and 80 psi (140–550 kPa). If the water supply pressure exceeds 80 psi, a pressure reducing valve must be installed. Otherwise premature failure of the inlet valve may occur.
Preparing Dishwasher
WARNING
- Do not remove safety cover . Removal can result in fire, electric shock or death.

Releasing Drain Hose
Remove the twist tie holding the drain hose to the back of the shipping brace.
Removable Shipping Brace
The rear shipping brace can be removed if additional clearance is needed when installing the dishwasher under a low countertop.
Removing Lower Cover
- Remove the screws at either side which attach the lower cover to the dishwasher.

- Remove the lower cover.
- If there is insulation padding behind the lower cover, remove it.
- Set the parts aside until the installation is complete
CAUTION
If you lay the dishwasher on its back, do so carefully to avoid damaging the drain hose and the tub.
Removing Packing Materials from the Interior
Remove all packing materials from the interior of the dishwasher before installing the appliance.
Attaching Installation Brackets
For countertops made of wood or other material that will not be damaged by drilling, use the metal installation brackets provided. For countertops made of granite, marble, or other materials that could be damaged by drilling, use the wood screws to attach the dishwasher to the cabinet. See installation instructions in Securing Dishwasher to Cabinet Opening.
NOTE
- Installation brackets and screws can be found in the silverware basket.
- Insert the tabbed end of the installation brackets into the slots in the upper frame. Rotate the brackets until the tabbed ends are facing up.

- Bend the tabs on the brackets to secure them to the frame using a pair of needle nose pliers.

- Insert the tabbed end of the installation brackets into the slots in the upper frame. Rotate the brackets until the tabbed ends are facing up.
Sliding Dishwasher into Cabinet Opening
CAUTION
- Do not pull or lift the dishwasher using the handle. Doing so can damage the door and hinges.

- Do not push the door of the dishwasher with knees when sliding the dishwasher into position. Doing so can damage the front cover.

- Do not push the top of the dishwasher. Doing so can damage the interior of the dishwasher.

NOTE
- Open the door and grab the body frame and the top front opening of the tub to move or lift the dishwasher.

- Align the dishwasher with the opening. Make sure the water supply line and electrical cable are in the correct positions to slide into their channels properly.

- Smooth out or pad the edges of the hole drilled for the water supply to avoid damaging the drain hose.

- Make sure the drain hose is straight before feeding the end of it through the hole for the water supply. As you slide the dishwasher into the opening, you will want to slowly pull on the drain hose from inside the cabinet to take up some slack. Be careful not to kink, pinch, crush or stress the drain hose during installation to avoid leaking and water damage.

- Gradually slide the dishwasher into the opening, making sure that the water supply line and electrical cable are passing freely through the channels and do not get caught under the dishwasher.
- As you slide the dishwasher into the opening, stop periodically (or have an assistant help) to take up the slack by pulling the drain hose farther into the cabinet.

- CAUTION
To avoid malfunctions or leakage, it is important that the drain hose not get kinked, pinched, stressed or crushed behind or under the dishwasher or inside the neighboring cabinet. Damage resulting from improper installation is not covered under the warranty.
- As you slide the dishwasher into the opening, stop periodically (or have an assistant help) to take up the slack by pulling the drain hose farther into the cabinet.
- Remove the tape from the water supply line and the electrical cable

Connecting Water Supply Line and Power
Connecting Water Supply Line
- With the home water supply turned off, connect the water supply line to the inlet valve on the left front of the dishwasher.
CAUTION- Tape or compound should not be used on dishwasher inlet valve.
- Tighten the compression nut.
- Slide the water supply line back through the channel, pulling gently from inside the cabinet to make sure the line is not kinked, pinched, stressed or crushed.

Connecting Power
The dishwasher should have a dedicated properly grounded branch circuit to connect the 3 wire setup which includes the ground wire. If a 3-prong power supply is used, it should be in an accessible location adjacent to the dishwasher within 4 ft. (1.22 m) of the dishwasher side and not behind the dishwasher.
NOTE
The best location for the electrical conduit is on the right side of the back wall. Re-route the electrical cable before installation if the electrical conduit pipe is longer than 3” (76 mm) and is centered on the back wall.
- Turn off electrical power to the unit at the circuit breaker.
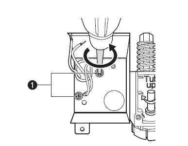
- Use a Phillips screwdriver to remove the screw from the junction box cover and remove the cover.

- Use a Phillips screwdriver to remove 2 screws 1.

- Remove the junction box from the appliance.

- Insert a strain relief through the hole in the junction box. Tighten the ring nut to secure it in place.

- Insert the electrical cable through the hole in the strain relief. Tighten 2 screws to secure the cable.

- Pull the existing wires through the openings in the junction box. Tighten 2 screws to reassemble the junction box in the appliance.

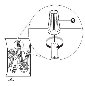
- Pair the white, black, and green wires to the matching colored wires from the dishwasher. Then twist on the provided wire nuts tightly to connect the corresponding wires.

- Wrap electrical tape around each connection.

- Fold the connected wires back into the junction box and screw on the junction box cover.
WARNING
Verify that the black wire is hot (120 V). If not, or if you are unsure of the power supply, have it checked by a licensed electrician.
CAUTION
Do not leave stripped wire exposed. Trim stripped wire to fit completely inside wire nuts.
Connecting Drain Hose
If the end of the drain hose does not fit the drain line, use a heat and detergent-resistant adapter (not supplied). These may be obtained from a local plumbing supply store. Cut the adapter so the end matches the size of the drain connection.
NOTE
- For drain hose installation, use the screw style hose clamp provided with this dishwasher in the silverware basket.
- If connecting the dishwasher’s drain hose to the garbage disposal, be sure to follow your garbage disposal’s manual for proper installation instructions.
Drain Hose Requirements
- Follow local codes and ordinances.
- Do not exceed 12 ft. (3.65 m) distance to drain.
- Do not connect drain hoses from other appliances to the dishwasher’s drain hose.
- If an extension drain hose is required, use a 5/8 or 7/8 inside diameter, 2-3 ft. length hose and a coupler for connecting the two hose ends.

Connecting to Disposal without Air Gap
The height of the drain hose end must be at least 12” (305 mm) and within 40” (1016 mm) from the base of the dishwasher to avoid water being siphoned from the tub.
- Remove the knockout plug on the disposal with a hammer and screwdriver.

- Remove the knockout plug from the disposal

CAUTION
If the knockout plug has not been removed, the dishwasher will not be able to drain properly. - Attach the drain hose to the disposal with the hose clamp provided. Move the hose clamp into position and tighten it with a flat-blade screwdriver.

Connecting Waste Tee without Air Gap
The height of the drain hose end must be at least 12” (305 mm) and within 40” (1016 mm) from the base of the dishwasher to avoid water being siphoned from the tub.
- Remove the knockout plug with a hammer and screwdriver.

CAUTION
If the knockout plug has not been removed, the dishwasher will not be able to drain properly. - Attach the drain hose to the waste tee with the hose clamp provided. Move the clamp into position and tighten it with a flat-blade screwdriver.

Connecting to Disposal or Waste Tee with Air Gap
- Remove the knockout plug with a hammer and screwdriver.
- Connect the end of the drain hose to the air gap with the hose clamp provided. Move the clamp into position and tighten it with a flat-blade screwdriver.

- This avoids water being siphoned from the tub.
- If it is not connected, attach the rubber hose connector to the disposal or waste tee with a hose clamp (not provided).
Leveling Dishwasher
Check that the dishwasher is level and adjust the leveling feet if necessary.
CAUTION
- Failure to level the dishwasher may result in leakage, problems closing the door, or noise.
- Where the cabinet opening is narrower than recommended (see Preparing Cabinet Opening), the dishwasher must be carefully leveled and aligned so that the dishwasher is supported fully by the 3 leveling feet and is not hanging from the installation brackets. Failure to do so can result in leaks from the front of the dishwasher, AE errors, difficulty in closing the door, or failure to operate.
Checking Leveling
To check that the tub is level from front to back, remove the lower rack and pour 169 oz. (5 L) of water into the bottom of the tub. The water level should be near the center of both tub lower indentations at the front.
With the lower rack removed, place a level on the inside wall of the tub to check that the dishwasher is level from side to side.
- If you do not have a level, try using a smartphone level application instead.

- Make sure that the gap between the tub walls and the door liner is the same on either side.

Adjusting Leveling Feet
Adjust as needed until the dishwasher is completely leveled.
Adjusting Front Leveling Feet
- Use a flat-blade screwdriver to turn the front leveling feet and adjust the front of the tub.
- Turn the front leveling feet clockwise to raise the front of the tub and counterclockwise to lower it.
- The adjustments work identically for both front leveling feet.

- When the flat-blade screwdriver is unavailable, use a 1/4” square drive wrench( 1) or 3/8” square drive wrench(2 ) with 1/2” socket(3 ) to turn the front leveling feet and adjust the front of the tub.

- Adjust the front and rear leveling legs until they are all in firm contact with the floor. Failure to level the dishwasher may prevent the door from closing properly and the dishwasher will not turn on.
Adjusting Rear Leveling Foot
- Use a Phillips screwdriver to adjust the rear leveling foot and the rear of the tub using the center screw at the base of the appliance in the front.
- Turn the center screw clockwise to raise the rear of the tub and counterclockwise to lower it.

NOTE
To avoid damaging the screw, do not use an electric screwdriver.
Securing Dishwasher to Cabinet Opening
There are 2 options for securing the dishwasher. If the countertop is made of wood or a material that can safely be drilled into, secure the dishwasher to the countertop with the provided brackets. If the countertop is granite, marble, or a material that cannot be drilled into, secure the dishwasher to the cabinet frame with the provided wood screws.
CAUTION
- Ensure the dishwasher is level and all leveling feet are in firm contact with the floor before attaching the dishwasher to the countertop or cabinet. If the dishwasher is not leveled properly, the door may not close properly or water may leak.
NOTE
- Installation brackets and screws can be found in the silverware basket.
- Use a magnetic screwdriver.
- Cover the filter hole with towels to prevent screws from falling down into the pump.
Securing Dishwasher to Countertop
Use the bracket screws provided to secure the brackets at the top of the dishwasher to the underside of the wood countertop.
If desired, the dishwasher can also be secured to the cabinet frame using the instructions which follow.
Securing Dishwasher to Cabinet Frame
- Remove the 2 plastic caps from the mounting bracket access holes.

- Drive a wood screw through the mounting bracket and into the cabinet frame.

- Reinstall the plastic caps.
Final Installation Check
Check if the dishwasher is properly installed.
- Turn on the circuit breaker.
- Turn on the house water supply.
- Make sure that the door opens and closes smoothly.
- If necessary, level the dishwasher again.
- If the door will not close, make sure the rack is level.

- Make sure that all packaging materials have been removed.
- Power on the dishwasher and run a Turbo cycle to verify proper operation.
- Check for leaks at the drain hose and water supply connection..
- If a water leak is detected, press and hold the Start button for 3 seconds to cancel the wash cycle and automatically drain the water from the dishwasher. Tighten all water connections and run another cycle. Repeat until no leaks are detected.
- Replace the lower cover.
CAUTION
Only install the lower cover provided with the dishwasher. Do not install cabinet baseboard as it may cause noise and leakage.
Installation Check Error Codes
Refer to the chart below before calling for service.
| Error Code | Possible Cause and Solution |
| OE Error | Drain hose is kinked or pinched. Feed the drain and water supply hoses through the hole under the sink. Then gradually slide the dishwasher into the cabinet while pulling on the hoses under the sink to take up any slack. This helps avoid kinking the hoses or trapping them beneath the dishwasher. |
| Drain hose is connected to the disposal without removing the knockout plug. Remove the knockout plug from the disposal. | |
| Waste tee or disposal is clogged. Remove knockout plug on the waste tee or disposal. | |
| IE Error | Water supply line is kinked under dishwasher. Feed the drain and water supply hoses through the hole under the sink. Then gradually slide the dishwasher into the cabinet while pulling on the hoses under the sink to take up any slack. This helps avoid kinking the hoses or trapping them beneath the dishwasher. |
| House water supply is not turned on. Turn the water faucet on. |


























































