Sage BOV820 Built In Electric Single The Smart Oven

IMPORTANT SAFEGUARDS
READ ALL INSTRUCTIONS BEFORE USE AND SAVE FOR FUTURE REFERENCE
- The full information book is available at sageappliances.com
- Before using for the first time please ensure that your electricity supply is the same as shown on the rating label on the underside of the appliance.
- Remove and safely discard any packing materials and promotional labels before using the oven for the first time.
- To avoid choking hazard for young children, remove and safely dispose the protective cover fitted on the power plug. Do not use the appliance near the edge of a benchtop or table. Ensure the surface is stable, level, heat-resistant and clean.
- A fire may occur if the oven is covered or touches flammable material, including curtains, draperies, walls, and the like, when in operation.
- Do not use the appliance on (or close to) a hot gas or electric burner, or where it could touch a heated oven or surface.
- Do not let the power cord hang over the edge of a table or counter, or touch hot surfaces.
- When operating the oven, keep a minimum distance of 10cm of space on both sides of the appliance and 15cm above.
- The temperature of accessible surfaces may be high when the appliance is operating.
- Do not touch hot surfaces.
- To avoid burns, use extreme caution when removing pans, dishes and accessories such as the included grilling rack and roasting pan, that contain hot oil or other hot liquids.
- Do not lay cooking utensils, roasting pans or dishes on the glass door.
- Do not leave the door standing open for extended periodsof time.
- Do not store any item on top of the oven when in operation except those described on page 8 of this book.
- Do not place cardboard, plastic, paper, or other flammable materials in the oven.
- Do not cover crumb tray or any part of the oven with metal foil. This will cause overheating of the oven.
- Caution should be exercised when using pans and dishes constructed of materials other than metal. Ensure pans and dishes are oven safe before using in the oven.
- Caution should be exercised when using lids in the oven, as pressure build up in a covered pan or dish may cause hot ingredients to expel or the dish to crack. Do not place sealed or airtight containers in the oven.
- Oversized food and metal utensils must not be inserted in the oven as they may create fire or risk of electric shock.
- The use of accessories and attachments not recommended or supplied with this oven may cause injuries.
- This appliance is for household use only. Do not use in any type of moving vehicles. Do not use the appliance outdoors, or for anything other than its intended use. Misuse can cause injury.
- If the appliance is to be: left unattended, cleaned, moved, assembled or stored, always switch the unit off and unplug the cord from the power outlet and allow to cool completely.
- Do not clean with metal scouring pads. Pieces can break off the pad and touch electrical parts, creating a risk of electric shock.
- The appliance can be used by children aged from 8 years and above and persons with reduced physical, sensory or mental capabilities, or lack of experience and knowledge, if they have been given supervision or instruction concerning use of the appliance in a safe way and understand the hazards involved.
- Children shall not play with the appliance.
- Cleaning and user maintenance shall not be made by children unless they are older than8 and supervised.
- Keep the appliance and its cord out of reach of children less than 8 years.
- It is recommended to regularly inspect the appliance. Do not use the appliance if power cord, power plug or appliance becomes damaged in any way. If damaged or maintenance other than cleaning is required, please contact Sage Customer Service or go to sageappliances.com
- The appliance is not intended to be operated by means of external timer or separate remote control system.
SPECIFIC INSTRUCTIONS FOR SOV820
- We recommend the oven is operated on a dedicated circuit separated from other appliances. Consult a licensed and qualified electrician if you are unsure.
- To turn off the oven, press the START/CANCEL button on the control panel. The oven is off when the button backlights turns off.
- Regularly clean the crumb tray. To clean the crumb tray:
- Turn OFF the oven,
- Allow the oven to cool completely and then remove the power cord from the power outlet.
- Remove the crumb tray and clean with warm soapy water.
- Dry the tray completely before inserting it securely back in place.
WARNING
TO REDUCE THE RISK OF FIRE, ELECTRIC SHOCK, EXPOSURE TO EXCESSIVE UV RADIATION, OR INJURY TO PERSONS:
Always unplug the oven and let all parts (including the bulb housing, glass cover and enclosure) cool completely before replacing bulb.
Only use a 25 Watt, 220–240V, G9 type oven bulb.
Always use a soft cloth when handling the bulb and do not directly touch the surface as oil from your skin can damage the bulb.
- Do not look directly at a glowing bulb.
- Do not remain in the light if skin feels warm.
- Keep bulb away from materials that may burn.
- The bulb gets hot quickly. Only ever use the light button to turn on the light.
- Do not operate the light if the bulb housing, glass cover, UV filter or enclosure are missing or damaged.
The symbol
shown indicates that this appliance should not be disposed of in normal household waste. It should be taken to a local authority waste collection centre designated for this purpose or to a dealer providing this service. For more information, please contact your local council office.

This symbol indicates, temperature of accessible surfaces may be high when the appliance is operating and for some time after use.
To avoid electric shock,do not immerse the cord or plug in water (or other liquids).
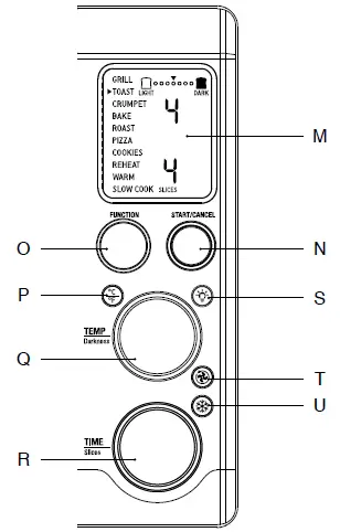
Components

- A. Grilling rack
- B. 28 x 33.5cm enamel roasting pan
- C. 30cm non-stick pizza pan
- D. Door handle
- E. Oven light
- F. Top rack height position: GRILL function.
- G. Middle rack height position: TOAST, Crumpet, PIZZA and COOKIES functions.
- H. Bottom rack height position: BAKE, ROAST, REHEAT, WARM and SLOW COOK functions.
- I. Wire rack
- J. Crumb tray
- K. Ventilation slots
- L. Power Plug
- M. LCD screen
- N. START/CANCEL button
- O. FUNCTION dial
- P.
TEMPERATURE conversion button - Q. TEMPERATURE dial/toast and crumpet darkness control
- R. TIME dial/toast and crumpet slice selection
- S.
OVEN LIGHT button - T.
CONVECTION button - U.
FROZEN FOOD button

Quick Start Guide
This Quick Guide is designed for first time use.
For safety and more information, refer to rest of the Instruction Booklet.
PREPARING THE OVEN
In order to remove any protective substances on the heating elements, it is necessary to run the oven empty for 15 minutes. Ensure the area is well ventilated as the oven may emit vapours. These vapours are safe and are not detrimental to the performance of the oven.
- Remove and safely discard any packing material, promotional labels and tape from the oven.
- Remove the crumb tray, wire rack, grilling rack, roasting pan and pizza pan from the polyfoam packaging. Wash them with a soft sponge in warm, soapy water then rinse and dry thoroughly.
- Wipe the interior of the oven with a soft, damp sponge. Dry thoroughly.
- Place the oven on a flat, dry surface. Ensure there is a minimum distance of 10cm of space on both sides of the appliance and 15cm above.
- Insert the crumb tray into the oven.
- Unwind the power cord completely and insert the power plug in to a grounded power outlet.
- The oven alert will sound and the LCD screen will illuminate. The function options will appear with an indicator on the BAKE setting.
- Turn the FUNCTION dial to the right until the indicator reaches the PIZZA function.

- Press the START/CANCEL button. The button backlight will illuminate red, the LCD screen will illuminate orange and the oven alert will sound.
- The LCD screen will indicate a blinking ‘PREHEATING.’ Once the oven has reached the set temperature, the temperature alert will sound.
- The timer will be displayed and automatically begin to count down.
- At the end of the cooking cycle, the oven alert will sound, the START/ CANCEL button backlight will go out and the LCD screen will illuminate blue.
- The oven is now ready to use.
Functions
OPERATING YOUR OVEN
- Position the wire rack so the spokes face upward and insert it into the desired rack position. The rack positions are conveniently printed on the right-hand side of the oven door window.

- Turn the FUNCTION dial until the indicator on the LCD screen reaches the desired setting.
- Turn the TEMPERATURE dial to the left to reduce the temperature or to the right to increase the temperature.
- The bottom figure on the LCD screen indicates the preset cooking time for the selected setting. For the TOAST and CRUMPET settings it indicates the number of slices. Turn the TIME dial to the left to reduce the cooking time or to the right to increase the cooking time.
- For settings without a preheat cycle (TOAST, CRUMPET, GRILL, REHEAT, WARM), place the food directly on the wire rack or on the included pizza pan, grilling rack and/or roasting pan. Ensure the food is centred in the oven for the most even cooking.
a) Close the oven door.
b) Press the START/CANCEL button.
The button backlight will illuminate red, the oven alert will sound, and the LCD screen will illuminate orange.
c) The timer will be displayed and begin to count down. The cooking temperature and time can be adjusted during the cooking cycle. - For settings that feature a preheat cycle (BAKE, ROAST, PIZZA, COOKIES, SLOW COOK), press the START/CANCEL button before placing food in the oven. The button backlight will illuminate red, the oven alert will sound and the LCD screen will indicate a blinking ‘PREHEATING’ while the oven is heating up.
a) When the oven is ready for use, the blinking ‘PREHEATING’ will go out, the oven alert will sound and the timer will start counting down. Place the food in the oven, either directly on the wire rack or on the included pizza pan, grilling rack and/or roasting pan. Ensure the food is centred in the oven for the most even cooking.
b) Close the oven door.
c) The timer will continue to count down.
The cooking temperature and time can be adjusted during the cooking cycle. - At the end of the cooking cycle, the oven alert will sound, the START/ CANCEL button backlight will go out and the LCD screen will illuminate blue.
MAGNETIC AUTOÂEJECT RACK
When the wire rack is inserted into the middle rack position, it will automatically eject halfway out of the oven when the door is opened so you can easily remove your toasted items.
Always open the door slowly when the wire rack is in this position to prevent the rack from ejecting too quickly.
NOTE
The top of the oven is very hot during and after operation. As a result, storing items on top of the oven is not recommended.
The Sage Bamboo Cutting Board fits in the ribbed section on top of the oven. Visit www.sageappliances.com for more information.

REPLACING THE OVEN LIGHT
WARNING
Always unplug oven and let cool before replacing bulb. Only use a 25-Watt, 220–240V, G9 type oven bulb.
- Remove the wire rack from the oven before replacing the light.
- The light is positioned on the left-hand side of the oven cavity. Position your fingers on the outside of the light housing and gently pull the glass cover away from the oven wall to remove it. If you are unable to pull the cover off, slide a spoon into the left side of the light housing and gently lever the glass cover off. Always hold the glass cover with the other hand to prevent the cover from falling and breaking.

- Remove the used bulb by pulling it directly out of its holder.

- Use a soft cloth to insert the new bulb.
Do not directly touch the surface of the bulb with your fingers as oil from your skin can damage the bulb.
- To reattach the glass cover, align the metal hook with the left side of the light housing. Slide the opposite end of the glass cover into the metal bracket on the right side of the housing, then push the metal hook into the left side of the housing until it snaps securely into position.

- To reattach the glass cover, align the metal hook with the left side of the light housing. Slide the opposite end of the glass cover into the metal bracket on the right side of the housing, then push the metal hook into the left side of the housing until it snaps securely into position.
Care & Cleaning
Before cleaning, ensure the oven is turned off by pressing the START/CANCEL button on the control panel. The oven is off when the button backlight is no longer illuminated.
Remove the power plug from the power outlet. Allow the oven and all accessories to cool completely before disassembling and cleaning.
CLEANING THE OUTER BODY AND DOOR
- Wipe the outer body with a soft, damp sponge. A non-abrasive liquid cleanser or mild spray solution may be used to avoid build-up of stains. Apply the cleanser to the sponge, not the oven surface, before cleaning.
- To clean the glass door, use a glass cleaner or mild detergent and a soft, damp sponge or soft plastic scouring pad. Do not use an abrasive cleanser or metal scouring pad as these will scratch the oven surface.
- Wipe the LCD screen with a soft damp cloth. Apply cleanser to the cloth and not the LCD surface. Cleaning with dry cloth or abrasive cleaners may scratch the surface.
- Let all surfaces dry thoroughly prior to inserting the power plug into a power outlet and turning the oven on.
CLEANING THE INTERIOR
The walls on the inside of the oven feature a non-stick coating for easy cleaning. To clean any spattering that may occur while cooking, wipe the walls with a soft, damp sponge. A non-abrasive liquid cleanser or mild spray solution may be used to avoid build-up of stains. Apply the cleanser to the sponge, not the oven surface, before cleaning. Avoid touching the quartz heating elements.
WARNING
Use extreme caution when cleaning the quartz heating elements. Allow the oven to cool completely, then gently rub a soft, damp sponge or cloth along the length of the heating element.
Do not use any type of cleanser or cleaning agents. Do not use any standard oven cleaner to clean the interior of the oven as this will deteriorate the metal surface.
Let all surfaces dry thoroughly prior to inserting the power plug into a power outlet and turning the oven ON.
CLEANING THE CRUMB TRAY
- After each use, slide out the crumb tray
and discard crumbs. Wipe the tray with a soft, damp sponge. A non-abrasive liquid cleanser may be used to avoid build-up of stains. Apply the cleanser to the sponge, not the tray, before cleaning. Dry thoroughly. - To remove baked-on grease, soak the tray in warm soapy water then wash with a soft sponge or soft plastic scouring pad.
Rinse and dry thoroughly. - Always ensure to re-insert the crumb tray into the oven after cleaning and prior to inserting the power plug into a power outlet and turning the oven on.
CLEANING THE WIRE RACK,GRILLING RACK, ROASTING PANAND PIZZA PAN
- Wash all accessories in warm soapy water with a soft sponge or soft plastic scouring pad.
Rinse and dry thoroughly. Do not use abrasive cleansers, metal scouring pads or metal utensils to clean any of the accessories as they may damage the surfaces. - To extend the life of your accessories, we do not recommend that these be placed in the dishwasher.
STORAGE
- Ensure the oven is turned off by pressing the START/CANCEL button on the control panel.
The oven is off when the button backlight is no longer illuminated. - Remove the power plug from the power outlet.
Allow the oven and all accessories to cool completely before disassembling and cleaning - Ensure the oven and all accessories are clean and dry.
- Ensure the crumb tray is inserted into the oven; the grilling rack is inserted into the roasting pan and resting on the wire rack in the middle rack height position.
- Ensure the door is closed.
- Store the appliance in an upright position standing level on its support legs. Do not store anything on top. The only exception is the optional Sage Bamboo Cutting Board and Serving Tray.
Troubleshooting


Guarantee
2 YEAR LIMITED GUARANTEE
Sage Appliances guarantees this product for domestic use in specified territories for 2 years from the date of purchase against defects caused by faulty workmanship and materials. During this guarantee period Sage Appliances will repair, replace, or refund any defective product (at the sole discretion of Sage Appliances).
All legal warranty rights under applicable national legislation will be respected and will not be impaired by our guarantee. For full terms and conditions on the guarantee, as well as instructions on how to make a claim, please visit www.sageappliances.com.
BRG Appliances Limited
Unit 3.2, Power Road Studios,
114 Power Road, London, W4 5PY
Freephone (UK Landline): 0808 178 1650
Mobile Calls (National Rate): 0333 0142 970
www.sageappliances.com
Registered in England & Wales No. 8223512
Registered in Germany No. HRB 81309 (AG Düsseldorf)
Registered in France No. 879 449 866 RCS
Due to continued product improvement, the products illustrated or photographed in this document may vary slightly from the actual product.
Copyright BRG Appliances 2021



















