CLASSIC SPREADERS
Owner’s Manual 
NOTE: This Owner’s Manual covers several models. Features may vary by model. Not all features in this manual are applicable to all models and the model depicted may differ from yours.
For Your Records
Located on the front lower-left corner of the unit is an ID plate showing the serial number. Record your machine’s information and serial number in the space provided below. ABI will use this information to give you prompt, efficient service when you order parts or need product support.
Model and Serial Number
Model Number:———————————–
Serial Number:———————————–
Invoice Number:———————————–
Purchaser’s Name: ———————————–
Contact Information
ABI Attachments, Inc
520 S. Byrkit Ave.
Mishawaka, IN 46544
Customer Support
Email: [email protected]
Phone: 877-788-7253
Website: www.abisupport.com
Product Manual Information
NOTE: This operator’s manual covers several models, Features may vary by model. Not all features in this manual are applicable to all models depicted may differ from yours.
Safety
WARNING! The SAFETY ALERT SYMBOL indicates there is a potential hazard to personal safety involved and extra safety precautions must be taken. When you see this symbol, be alert and carefully read the message that follows it. In addition to the design and configuration of equipment, hazard control, and accident prevention are dependent upon the awareness, concern, prudence, and proper training of personnel involved in the operation, transport, maintenance, and storage of equipment.
CALIFORNIA PROPOSITION 65
WARNING! Cancer and reproductive harm- www.P65Warnings.ca.gov
SAFETY AT ALL TIMES
Careful operation is your best assurance against an accident. All operators, no matter how much experience they may have, should carefully read this manual and other related manuals, or have the manuals read to them, before operating the tow vehicle and this implement.
- Thoroughly read and understand the “Safety Label” section. Read all instructions noted on them.
- Do not operate the equipment while under the influence of drugs or alcohol as they impair the ability to safely and properly operate the equipment.
- The operator should be familiar with all functions of the tow vehicle and attached implement and be able to handle emergencies quickly.
- Make sure all guards and shields appropriate for the operation are in place and secured before operating implement.
- Keep all bystanders away from equipment and the work area.
- Start tow vehicle from the driver’s seat with hydraulic controls in neutral.
- Operate tow vehicle and controls from the driver’s seat only.
- Never dismount from a moving tow vehicle or leave the tow vehicle unattended with the engine running.
- Do not allow anyone to stand between two vehicles and implement while backing up to implement.
- Keep hands, feet, and clothing away from power-driven parts.
- While transporting and operating equipment, watch out for objects overhead and alongside such as fences, trees, buildings, wires, etc.
- Do not turn the tow vehicle so tight as to cause hitched implement to ride up on the tow vehicle’s rear wheel.
- Store implement in an area where children normally do not play. When needed, secure attachment against falling with support blocks.
SAFETY PRECAUTIONS FOR CHILDREN
Tragedy can occur if the operator is not alert to the presence of children. Children generally are attracted to implements and their work.
- Never assume children will remain where you last saw them.
- Keep children out of the work area and under the watchful eye of a responsible adult.
- Be alert and shut the implement and tractor down if children enter the work area.
- Never carry children on the tractor or implement. There is not a safe place for them to ride. They may fall off and be run over or interfere with the control of the tow vehicle.
- Never allow children to operate the tow vehicle or implement, even under adult supervision.
- Never allow children to play on the tow vehicle or implement.
- Use extra caution when backing up. Before the tractor starts to move, look down and behind to make sure the area is clear.
SHUTDOWN & STORAGE
- If engaged, disengage power take-off.
- Park on solid, level ground, and lower implement to the ground or onto support blocks.
- Put the tractor in the park or set the parking brake, turn off the engine, and remove the switch key to prevent unauthorized starting.
- Relieve all hydraulic pressure to auxiliary hydraulic lines
- Wait for all components to stop before leaving the operator’s seat.
- Use steps, grab handles, and anti-slip surfaces when stepping on and off the tractor.
- Detach and store implement in an area where children normally do not play. Secure implement using blocks and supports.

TIRE SAFETY
- Tire changing can be dangerous and must be performed by trained personnel using the correct tools and equipment.
- Always maintain correct tire pressure. Do not inflate tires above recommended pressures shown in the Operator’s Manual.
- When inflating tires, use a clip-on chuck and extension hose long enough to allow you to stand to one side and NOT in front of or over the tire assembly. Use a safety cage if available.
- Securely support the implement when changing a wheel.
- When removing and installing wheels, use wheel handling equipment adequate for the weight involved.
- Make sure wheel bolts have been tightened to the specified torque.
- Some attachments may have foam or sealant inside them and must be disposed of properly.

OPERATION SAFETY
Stay alert for holes, rocks, roots in the terrain, and other hidden hazards. Keep away from drop-offs.
- Stop implement immediately upon striking an obstruction. Turn the engine off, remove the key, and inspect and repair any damage before resuming operation.
- Never operate tractors and implement under trees with low-hanging limbs. Operators can be knocked off the tractor and then run over by implement.
TRANSPORT SAFELY
- Comply with federal, state, and local laws.
- Use towing vehicle and trailer of adequate size and capacity Secure equipment towed on a trailer with tie-downs and chains.
- Sudden braking can cause a towed trailer to swerve and upset. Reduce speed if the towed trailer is not equipped with brakes.
- Avoid contact with any overhead utility lines or electrically charged conductors.
- Always drive with a load on the end of loader arms low to the ground.
- Always drive straight up and down steep inclines with the heavy end of a tow vehicle with loader attachment on the “uphill” side.

- Engage park brake when stopped on an incline.
- The maximum transport speed for attached equipment is 20 mph. DO NOT EXCEED. Never travel at a speed that does not allow adequate control of steering and stopping.
Some rough terrains require a slower speed. - As a guideline, use the following maximum speed weight ratios for attached equipment:
– 20 mph when the weight of attached equipment is less than or equal to the weight of the machine towing the equipment.
– 10 mph when the weight of attached equipment exceeds the weight of machine towing equipment but not more than double the weight. - IMPORTANT: Do not tow a load that is more than double the weight of the vehicle towing the load.

PRACTICE SAFE MAINTENANCE
- Understand procedure before doing work. Refer to the Operator’s Manual for additional information.
- Work on a level surface in a clean dry area that is well-lit.
- Lower implement to the ground and follow all shutdown procedures before leaving the operator’s seat to perform maintenance.
- Do not work under any hydraulic supported equipment. It can settle, suddenly leak down, or be lowered accidentally. If it is necessary to work under the equipment, securely support it with stands or suitable blocking beforehand.
- Use properly grounded electrical outlets and tools.
- Use correct tools and equipment for the job that are in good condition.
- Allow equipment to cool before working on it.
- Disconnect battery ground cable (-) before servicing or adjusting electrical systems or before welding on the implement.
- Inspect all parts. Make certain parts are in good condition & installed properly.
- Replace parts on this implement with genuine ABI Attachments parts only.
- Do not alter this implement in a way that will adversely affect its performance.
- Do not grease or oil implement while it is in operation.
- Remove the buildup of grease, oil, or debris.
- Always make sure any material and waste products from the repair and maintenance of the implement are properly collected and disposed of.
- Remove all tools and unused parts before operation.
![]()
PREPARE FOR EMERGENCIES
- Be prepared if a fire starts.
- Keep a first aid kit and fire extinguisher handy.
- Keep emergency numbers for doctor, ambulance, hospital, and fire department near the phone.

USE SAFETY LIGHTS AND DEVICES
- Slow-moving tractors, skid steers, self-propelled machines, and towed equipment can create a hazard when driven on public roads. They are difficult to see, especially at night. Use the Slow Moving Vehicle sign (SMV) when on public roads.
- Flashing warning lights and turn signals are recommended whenever driving on public roads.
![]()
AVOID UNDERGROUND UTILITIES
- Dig Safe, Call 811 (the USA Always contact your local utility companies (electrical, telephone, gas, water, sewer, and others) before digging so that they may mark the location of any underground services in the area.
- Be sure to ask how close you can work to the marks they positioned.

WEAR PERSONAL PROTECTION EQUIPMENT (PPE)
- Wear protective clothing and equipment appropriate for the job such as safety shoes, safety glasses, hard hat, and ear plugs.
- Clothing should fit snug without fringes and pull strings to avoid entanglement with moving parts.
- Prolonged exposure to loud noise can cause hearing impairment or hearing loss. Wear suitable hearing protection such as earmuffs or earplugs.
- Operating equipment safely requires the operator’s full attention. Avoid wearing headphones while operating equipment.

USE SEAT BELT AND ROPS
- ABI Attachments recommends the use of a CAB or roll-over protective structures (ROPS) and seat belt in almost all tow vehicles. A combination of a CAB or ROPS and seat belt will reduce the risk of serious injury or death if the tow vehicle should be upset.
- If ROPS is in the locked-up position, fasten the seat belt snugly and securely to help protect against serious injury or death from falling and machine overturn.

AVOID HIGH-PRESSURE FLUIDS HAZARD
- Escaping fluid under pressure can penetrate the skin causing serious injury.
- Before disconnecting hydraulic lines or performing work on the hydraulic system, be sure to release all residual pressure.
- Make sure all hydraulic fluid connections are tight and all hydraulic hoses and lines are in good condition before applying pressure to the system.
- Use a piece of paper or cardboard, NOT BODY PARTS, to check for suspected leaks.
- Wear protective gloves and safety glasses or goggles when working with hydraulic systems.
- DO NOT DELAY. If an accident occurs, see a doctor familiar with this type of injury immediately. Any fluid injected into the skin or eyes must be treated within a few hours or gangrene may result.

KEEP RIDERS OFF MACHINERY
- Never carry riders on the tractor or implement.
- Riders obstruct the operator’s view and interfere with the control of the tow vehicle.
- Riders can be struck by objects or thrown from the equipment. Never use tractors or implement to lift or transport riders.

Lubrication Guide

![]()
- Grease every 20 or 30 loads and before storage.
- Oil all chains daily.
- Clean and oil box every 30 days and before storage.
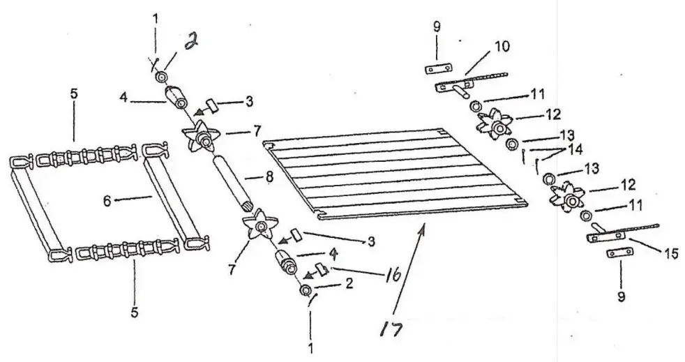
Body Assembly

| ITEM | PART # | DESCRIPTION |
| 1 | RIGHT SIDE BODY | |
| 2 | LEFT SIDE BODY | |
| 3 | FRONT END | |
| 4 | SHREDDER SHIELD | |
| 5 | HITCH | |
| 6 | HITCH PLATES | |
| 7 | LSP26MCS (25GD) | CHAIN SHIELD |
| 7 | LSP56MCS (50GD) | CHAIN SHIELD |
| 8 | LSP26WDS (25GD) | DRIVE CHAIN SHIELD |
| 8 | LSP56WDS (50GD) | DRIVE CHAIN SHIELD |
| 9 | WEB SLIDE | |
| 10 | RUBBER WHEELS 5.00-15 | |
| 11 | STEEL RIM 15 X 4.5 WHL | |
| 12 | JACK | |
| 13 | WEB ENGAGE LEVER | |
| 14 | BEATER ENGAGE LEVER |
Web & Floor Assembly

| ITEM | PART # | DESCRIPTION |
| 1 | CP-250-150 | 1/4″ X 1-1/2″ COTTER PIN |
| 2 | N14-1125P | 1-1/8″ MACHINE WASHER |
| 3 | KS250-150 | 1/4″ 1-1/2″ KEY STOCK |
| 4 | LC331106 | 331 WEB BEARING 1-1/16″ |
| 5 | TRP375 | 3/8″ TEE ROD LINKS |
| 6 | TS25 (25GD) | #25 WEB SLATS |
| 6 | TS50 (50GD) | #50/65 WEB SLATS |
| 7 | LC315106 | 5-TOOTH WEB DRIVE SPROCKET |
| 8 | LS25WDS (25GD) | #25 WEB DRIVESHAFT |
| 8 | LS50WDS (50GD) | #50/65 WEB DRIVESHAFT |
| 9 | LSPWIP | WEB IDLER PLATE |
| 10 | LSPWIPL | LEFT WEB IDLER BRACKET |
| 10A | LSPWIBL-C | LEFT WEB IDLER (COMPLETE ASSEMBLY) |
| 11 | SC 075 | 3/4″ SHAFT COLLAR |
| 12 | LS313275 | WEB IDLER SPROCKET |
| 13 | N14-0750P | 3/4″ MACHINE WASHER |
| 14 | CP-187-125 | 3/16″ X 1-1/4″ COTTER PIN |
| 15 | LSPWIBR | RIGHT WEB IDLER BRACKET |
| 15A | LSPWIB-C | RIGHT WEB IDLER (COMPLETE ASSEMBLY) |
| 16 | KS250-100 | 1/4″ X 1″ KEY STOCK |
| 17 | PF25 (25GD) | 3/4″ X 6″ X 59″ POLY FLOOR |
| 17 | PF50 (50GD) | 3/4″ X 6″ X 76″ POLY FLOOR |
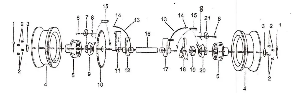
Axle Assembly

| ITEM | PART # | DESCRIPTION |
| 1 | CP-250-175 | 1/4″ X 1-3/4″ COTTER PIN |
| 2 | A888BO | 1/2″ WHEEL BOLTS |
| 3 | LSP137SW | SHAFT/COTTER PIN WASHER |
| 4 | W1545W | 15″ X 4.5″ 4 BOLT RIM, WHITE |
| 5 | LC50RH | 4 ON 5 RATCHETING WHEEL HUB |
| 6 | HB 250-200 | 1/4-20 X 2″ HEX BOLT |
| 7 | LC50WPL | SMALL WHEEL PAWL, LEFT |
| 8 | SL1516 | WHEEL PAWL SPRING |
| 9 | LS50HBL | HUB BACKER LEFT |
| 10 | 60B60X137 | AXLE SPROCKET |
| 11 | LSP55DA | CHAIN DISENGAGE ARM |
| 12 | LSP55ABPL | LEFT AXLE BEARING PLATE |
| 13 | FGH82012 | 12″ GREASE HOSE |
| 14 | GFH1618 | 1/8″ GREASE FITTING FEMALE |
| 15 | KS312-375 | 5/16″ X 3-3/4″ KEY STOCK |
| 16 | LS25A (25GD) | #25 AXLE (OLD STYLE) |
| 16 | LS50A (50GD) | #50 AXLE (OLD STYLE) |
| 17 | LSP55ABPR | RIGHT AXLE BEARING PLATE |
| 18 | LSP25S | WEB DRIVE STAR |
| 19 | SB11258 | 5/8″ AXLE SPACER |
| 20 | LC50HBR | HUB BACKER RIGHT |
| 21 | LC50WPR | SMALL WHEEL PAWL, LEFT |
Lever Assembly

| ITEM | PART If | DESCRIPTION |
| 1 | SS313-075Z | 5/16″ X 3/4″ SQ HD SET SCREW |
| 2 | LC8C3 | DOUBLE SET COLLAR |
| 3 | LR5650 (25GD) | 9/16″ X 50″ LEVER ROD (50 OLD STYLE) |
| 3 | LR5659 (50GD) | 9/16″ X 59″ LEVER ROD (25 OLD STYLE) |
| 4 | CP-187-100 | 3/16″ X 1″ COTTER PIN |
| 5 | LA25W (25GD) | #25 WEB LEVER ASSEMBLY |
| 5 | LA5OW (50GD) | #50 WEB LEVER ASSEMBLY |
| 6 | LA25C (25GD) | #25 CHAIN LEVER ASSEMBLY |
| 6 | LASOC (50GD) | #50 CHAIN LEVER ASSEMBLY |
| 7 | SC 037 | 3/8″ SHAFT COLLAR |
| 8 | LR31H | 5/16″ LEVER ROD HANDLE |
| 9 | SL6812143 | 25/50 LEVER HANDLE SPRING |
| 10 | ||
| 11 | GFH1684 | 1/8″ X 2-1/4″ GREASE FITTING |
| 12 | LSP55DA | 25/50 DISENGAGE ARM |
Idler Arm Assembly

| ITEM | PART # | DESCRIPTION |
| 6OBB11X50 | 460 X 11 IDLER SPROCKET | |
| LSPDCAH-1 | LEG FOR SPRING IDLER ARM | |
| 3 | HB 500-225 | 1/2″ X 2-1/4″ HEX BOLT |
| FL 500 | 1/2″ USS FLAT WASHER | |
| 5 | LN 500 | 1/2″ LOCK NUT |
| LSPDCAC | IDLER ARM CLEAVES | |
| SL121410 | IDLER ARM SPRING | |
| S | LSPDCA | IDLER ARM HOUSING |
| SA | LSPDCA-C | IDLER ARM (COMPLETE ASSEMBLY) |
| 9 | RC6079 (25GD) | 425 MAIN DRIVE CHAIN |
| 9 | RC6097 (50GD) | 450 MAIN DRIVE CHAIN |
Web Drive Assembly

| ITEM | PART # | DESCRIPTION |
| 1 | LC25RG | SMALL WEB RATCHET GEAR |
| 2 | LS25WDS (25GD) | #25 WEB DRIVESHAFT |
| 2 | LS5OWDS (50GD) | #50/65 WEB DRIVESHAFT |
| 3 | SL1439 | WEB PAWL SPRING |
| 4 | LC331106 | 331 WEB SHAFT BEARING 1-1/16″ |
| 5 | LSP55RWBP | WEB BEARING, RETAINING PAWL BRACKET |
| 6 | WP5OD | WEB DRIVE PAWL |
| 7 | FW 500 | 1/2″ FLAT WASHER |
| 8 | CP-187-125 | 3/16″ X 1-1/4″ COTTER PIN |
| 9 | LSP56PA | PAWL CONTROL ARM |
| 10 | LN 500 | 1/2″ LOCK NUT |
| 11 | BB1278114 | 1/2″ X 7/8″ X 1-1/4″ BUSHING |
| 12 | HB 500-325 | 1/2″ X 3-1/4″ HEX BOLT |
| 13 | LSP25WPA (25GD) | #25 WEB PUSH ARM |
| 13 | LSPSOWPA (50GD) | #50 WEB PUSH ARM |
| 14 | LC514 | SMALL WEB ROLLER |
| 15 | SB1278212 | 1/2″ X 7/8″ X 2-1/2″ STEEL BUSHING |
| 16 | LSP56WRA | WEB ROLLER ARM |
| 17 | LSP25YA | YOKE ARM |
| 18 | SL955 | WEB ARM EXTENSION SPRING |
| 19 | SB38158 | 3/8″ I.D. X 1-5/8″ LONG SPACER |
| 20 | HB 375-250 | 3/8″ X 2-1/2″ HEX BOLT |
| 21 | HB 375-325 | 3/8″ X 3-1/4″ HEX BOLT |
| 22 | HN 375 | 3/8″ HEX NUT |
| 23 | N14 0750P | 3/4″ MACHINE WASHER |
Foot Notes
Contact Information
ABI Attachments, Inc
520 S. Byrkit Ave.
Mishawaka, IN 46544
Customer Support
Email: [email protected]
Phone: 877-788-7253
Website: www.abisupport.com
To order parts or to speak to one of ABI’s Customer Service Representatives contact us Monday to Friday 9 am to 5 pm EST.
For additional information on the use or setup of this implement, please contact the ABI customer support team at 855.211.0598.
Additional support videos are available on the ABI support page ( abisupport.com ) under each tool.
Warranty Information and Return Policy – Warranty and return policy information can also be found on the ABI support page under each tool. For additional questions regarding warranty or return policy, contact the ABI customer support team at 855.211.0598.




















