
DMA1 Single Monitor Arm
DMA2 Dual Monitor Arm
Quick Setup Guide
For complete installation instructions, refer to the Installation Manual included with this product.
This Quick Setup Guide is meant to provide only an overview of the various installation steps.
ALWAYS read the Installation Instructions in their entirety before beginning the installation.

Tools Required for Installation

Parts

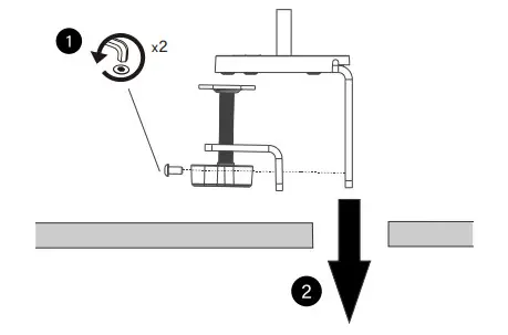
Option A
Step 1: Clamp Base to Desk Edge Option
Loosen clamp screw-on base, place on the desk, and tighten.

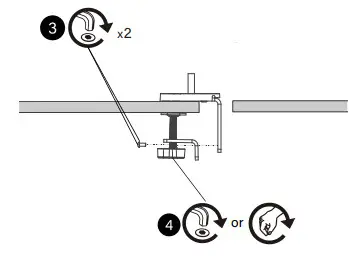
Option B
Step 1: Clamp Base through Grommet Hole Option Remove the lower piece of the clamp from the assembly by removing two button head cap screws and install the remaining part of the clamp through a grommet hole.

Reattach the removed piece of clamp and screws and tighten the clamp screw.

WEIGHT CAPACITY WARNING
Exceeding the weight capacity can result in serious personal injury or damage to the equipment! It is the installer’s responsibility to make sure the combined weight of all components and accessories attached to the DMA Series Monitor Arm up to (and including) the display is between the weight ranges listed below. Use with products heavier than the maximum weight indicated may result in the collapse of the mount and its accessories causing possible injury. Use with products lighter than the minimum weight indicated may result in the mount not functioning properly.
DISCLAIMER
Legrand | AV and its affiliated corporations and subsidiaries (collectively “Legrand | AV”), intend to make this manual accurate and complete. However, Legrand | AV makes no claim that the information contained herein covers all details, conditions or variations, nor does it provide for every possible contingency in connection with the installation or use of this product. The information contained in this document is subject to change without notice or obligation of any kind. Legrand | AV makes no representation or warranty, expressed or implied, regarding the information contained herein. Legrand | AV assumes no responsibility for the accuracy, completeness, or sufficiency of the information contained in this document.
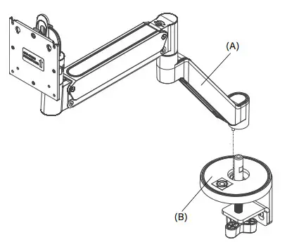
Step 2: Add Arms to Base
Place mounting arms (A) onto base assembly pin (B) – no additional fasteners or tightening needed.

Note: See full Installation Manual for setting rotational stop screw to prevent the arm from rotating more than 90º.
Step 3: Display Installation
Remove the quick-release faceplate from the mount by pulling the lever and sliding the faceplate off the mount. Connect faceplate to display using Phillips screwdriver and hardware from hardware bag (C or D).

Note: See full Installation Manual for allowable display weight ranges and additional mounting details.
Position display with faceplate attached above mount, and slide faceplate onto mounting head until quick release tab clicks into place.
Step 4: Arm Tension Adjustment
Adjust arm tension with tension adjustment screw located at the base of the dynamic arm, using 5/32” hex key (H).

Step 5: Cable Management
Tuck cables into channels located on the underside of mounting arms.

Step 6: Tool Storage
The adjustment key can be conveniently stored with the Koncis Series mount if desired. Slide 5/32” hex key (H) into channel located at the back of the base assembly.
INSTALLER INSPIRED | legrandav.com![]()
| USA/International A 6436 City West Parkway Eden Prairie, MN 55344 P 800.582.6480 / 952.225.6000 F 877.894.6918 / 952.894.6918 | Europe A Franklinstraat 14 6003 DK Weert, Netherlands P +31 (0) 495 580 852 F +31 (0) 495 580 845 | Asia Pacific A Office No. 918 on 9/F Shatin Galleria 18-24 Shan Mei Street Fotan, Shatin, Hong Kong P 852 2145 4099 F 852 2145 4477 |
©2020 Legrand AV Inc. 200637 Rev A 10/20 Chief is a registered trademark of Legrand AV Inc.
All other brand names or marks are used for identification purposes and are trademarks of their respective owners. All patents are protected under existing designations. Other patents are pending.
COMMERCIAL AV BRANDS
C2G | Chief | Da-Lite | Luxul | Middle Atlantic | Vaddio | Wiremold



















