BHS377 StraightCare Essential Straightener
User Manual

BHS377 StraightCare Essential Straightener

Specifications are subject to change without notic.
© 2019 Koninklijke Philips N.V.
All rights reserved.
Congratulations on your purchase, and welcome to Philips! To fully benefit from the support that Philips offers, registeryour product at www.philips.com/welcome.
Important
Read this user manual carefully before you use the appliance and keep it for future reference:
- WARNING: Do not use this appliance near water.
- When the appliance is used in a bathroom, unplug it after use since the proximity of water presents a risk, even when the appliance is switched off.
WARNING: Do not use this appliance near bathtubs, showers, basins or other vessels containing water.- Always unplug the appliance after use.
- If the main cord is damaged, you must have it replaced by Philips, a service centre authorised by Philips or similarlyqualified persons in order to avoid a hazard.
- This appliance can be used by children aged from 8 years and above and persons with reduced physical, sensory or mental capabilities or lack of experience and knowledge if they have been given supervision or instruction concerning use of the appliance in a safe way and understand the hazards involved. Children shall not play with the appliance. Cleaning and user maintenance shall not be made by children without supervision.
- For additional protection, we advise you to install a residual current device (RCD) in the electrical circuit that supplies the bathroom. This RCD must have a rated residual operating current not higher than 30mA. Ask your installer for advice.
- Do not pull on the power cord after using. Always unplug the appliance by holding the plug.
- Burn hazard. Keep appliance out of reach from young children, particularly during use and cool down.
- Before you connect the appliance, ensure that the voltage indicated on the appliance corresponds to the local power voltage.
- Do not use the appliance for any other purpose than described in this manual.
- Do not use the appliance on artificial hair.
- When the appliance is connected to the power, never leave it unattended.
- Never use any accessories or parts from other manufacturers or that Philips does not specifically recommend. If you use such accessories or parts, your guarantee becomes invalid.
- Do not wind the main cord round the appliance.
- Wait until the appliance has cooled down before you store it.
- Pay full attention when using the appliance since it could be extremely hot. Only hold the handle as other parts are hot and avoid contact with the skin.
- Always place the appliance with the stand on a heat-resistant, stable flat surface. The hot heating plates should never touch the surface or other flammable material.
- Avoid the main cord from coming into contact with the hot parts of the appliance
- Keep the appliance away from flammable objects and material when it is switched on.
- Never cover the appliance with anything (e.g. a towel or clothing) when it is hot.
- Only use the appliance on dry hair.
- Do not operate the appliance with wet hands.
- Keep the heating plates clean and free of dust and styling products such as mousse, spray and gel. Never use the appliance in combination with styling products.
- The heating plates have coating. This coating might slowly wear away over time. However, this does not affect the performance of the appliance.
- Always return the appliance to a service centre authorized by Philips for examination or repairRepair by unqualified people could result in an extremely hazardous situation for the user
Electromagnetic fields (EMF)
This Philips appliance complies with all applicable standards and regulations regarding exposure to electromagnetic fields.
Recycling
This symbol means that this product shall not be disposed of with normal household waste (2012/19/EU).
– Follow your country’s rules for the separate collection of electrical and electronic products. Correct disposal helps prevent negative consequences for the environment and human health.
Preparation for use
- Wash hair with shampoo and conditioner and blow dry it.
- Use heat protection product and comb your hair with large-toothed comb.
- Use the straightener only when your hair is dry.
- Frequent users are recommended to use heat protection products when straightening.
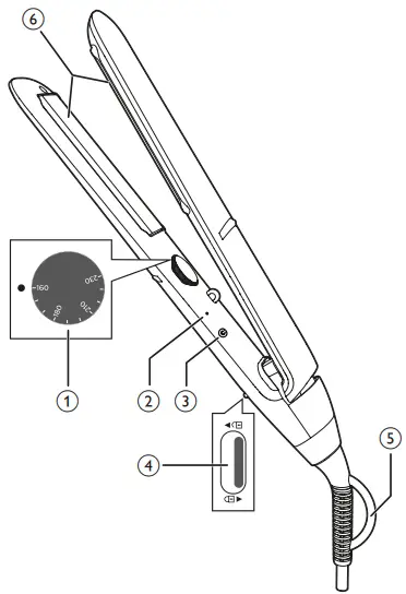
- Ensure that you select a temperature setting that is suitable for your hair. Please refer to the below table. Always select a lower setting when you use the straightener for the first time.
| Hair Type | Temperature Setting |
| Thick | 210° to 230° |
| Normal | 180° to less than 210° |
| Fine | Less than 180° |
Straighten your hair
- Connect the plug to a power supply socket.
- Slide the closing lock ( d ) to unlock the appliance.
- Press and hold the button ( c ) until the ready to use indicator ( b ) lights up and starts blinking.
- Turn the rheostat wheel ( a ) to select a suitable temperature setting for your hair. » When the appliance is heating up, the ready to use indicator will continue to blink until it is ready for use. » After about 30 seconds, the appliance is heated up and ready for use.
- Comb your hair and take a section that is not wider than 5cm for straightening.
Note: For thicker hair, it is suggested to create more sections. - Place it between the straightening plates ( f ) and press the handles firmly together.
- Slide the straightener down the length of the hair slowlyin a single motion (max. 5 seconds) from root to end, without stopping to prevent overheating.
• To create flicks, turn the straightener half-circle inwards ( or outwards ) when it reaches the hair ends andlet the hair glide off the plates. - To straighten the rest of your hair, repeat steps 5 to 7.
Note: The appliance is equipped with an auto-shut off function. After 60 minutes, the appliance switches off automatically.
After use:
- Switch off the appliance and unplug it.
- Place it on a heat-resistant surface until it cools down.
- Clean the appliance and straightening plates by damp cloth.
- Lock the straightening plates ( d ).
- Keep it in a safe and dry place, free of dust. You can also hang it with the hanging loop ( e ).
Guarantee and service
If you need information e.g. about replacement of an attachment or if you have a problem, please visit the Philips website at www.philips.com/support or contact the Philips Customer Care Centre in your country (you find its phone number in the worldwide guarantee leaflet). If there is no Consumer Care Centre in your country, go to your local Philips dealer.
Register your product and get support at:
www.philips.com/welcome


















