AEG NSC7G181DS Fridge Freezer

Product Information
- Product Name: NSC7G181DS Fridge Freezer
- Manufacturer: AEG
- Model: NSC7G181DS
- User Manual: www.aeg.com
Introduction
FOR PERFECT RESULTS
Thank you for choosing this AEG product. We have created it to give you impeccable performance for many years, with innovative technologies that help make life simpler – features you might not find on ordinary appliances. Please spend a few minutes reading to get the very best from it.
Visit our website to:
- Get usage advice, brochures, trouble shooter, service and repair information: www.aeg.com/support
- Register your product for better service: www.registeraeg.com
- Buy Accessories, Consumables and Original spare parts for your appliance: www.aeg.com/shop
CUSTOMER CARE AND SERVICE
Always use original spare parts. When contacting our Authorised Service Centre, ensure that you have the following data available: Model, PNC, Serial Number. The information can be found on the rating plate.
![]()
- Warning / Caution-Safety information
- General information and tips
- Environmental information
Subject to change without notice.
SAFETY INFORMATION
Before the installation and use of the appliance, carefully read the supplied instructions. The manufacturer is not responsible for any injuries or damage that are the result of incorrect installation or usage. Always keep the instructions in a safe and accessible location for future reference.
Children and vulnerable people safety
- This appliance can be used by children aged from 8 years and above and persons with reduced physical, sensory or mental capabilities or lack of experience and knowledge if they have been given supervision or instruction concerning the use of the appliance in a safe way and understand the hazards involved.
- Children aged from 3 to 8 years are allowed to load and unload the appliance provided that they have been properly instructed.
- This appliance may be used by persons with very extensive and complex disabilities provided that they have been properly instructed.
- Children of less than 3 years of age should be kept away from the appliance unless continuously supervised.
- Children should be supervised to ensure that they do not play with the appliance.
- Children shall not carry out cleaning and user maintenance of the appliance without supervision.
- Keep all packaging away from children and dispose of it appropriately.
General Safety
- This appliance is for storing food and baverages only.
- This appliance is designed for single household domestic use in an indoor environment.
- This appliance may be used in, offices, hotel guest rooms, bed & breakfast guest rooms, farm guest houses and other similar accommodation where such use does not exceed (average) domestic usage levels.
- To avoid contamination of food respect the following instructions:
- do not open the door for long periods;
- clean regularly surfaces that can come in contact with food and accessible drainage systems;
- store raw meat and fish in suitable containers in the refrigerator, so that it is not in contact with or drip onto other food.
- WARNING: Keep ventilation openings, in the appliance enclosure or in the built-in structure, clear of obstruction.
- WARNING: Do not use mechanical devices or other means to accelerate the defrosting process, other than those recommended by the manufacturer.
- WARNING: Do not damage the refrigerant circuit.
- WARNING: Do not use electrical appliances inside the food storage compartments of the appliance, unless they are of the type recommended by the manufacturer.
- Do not use water spray and steam to clean the appliance.
- Clean the appliance with a moist soft cloth. Only use neutral detergents. Do not use abrasive products, abrasive cleaning pads, solvents or metal objects.
- When the appliance is empty for long period, switch it off, defrost, clean, dry and leave the door open to prevent mould from developing within the appliance.
- Do not store explosive substances such as aerosol cans with a flammable propellant in this appliance.
- If the supply cord is damaged, it must be replaced by the manufacturer, its Authorised Service Centre or similarly qualified persons in order to avoid a hazard.
SAFETY INSTRUCTIONS
Installation
WARNING: Only a qualified person must install this appliance.
- Remove all the packaging.
- Do not install or use a damaged appliance.
- Do not use the appliance before installing it in the built-in structure due to safety manner.
- Follow the installation instructions supplied with the appliance.
- Always take care when moving the appliance as it is heavy. Always use safety gloves and enclosed footwear.
- Make sure the air can circulate around the appliance.
- At first installation or after reversing the door wait at least 4 hours before connecting the appliance to the power supply. This is to allow the oil to flow back in the compressor.
- Before carrying out any operations on the appliance (e.g. reversing the door), remove the plug from the power socket.
- Do not install the appliance close to radiators or cookers, ovens, or hobs, unless otherwise specified in the installation instructions.
- Do not expose the appliance to the rain.
- Do not install the appliance where there is direct sunlight.
- Do not install this appliance in areas that are too humid or too cold.
- When you move the appliance, lift it by the front edge to avoid scratching the floor.
- The appliance contains a bag of desiccant. This is not a toy. This is not food. Please dispose of it immediately.
Electrical connection
WARNING: Risk of fire and electric shock.
WARNING: When positioning the appliance, ensure the supply cord is not trapped or damaged.
WARNING: Do not use multi-plug adapters and extension cables.
- The appliance must be earthed.
- Make sure that the parameters on the rating plate are compatible with the electrical ratings of the mains power supply.
- Always use a correctly installed shockproof socket.
- Make sure not to cause damage to the electrical components (e.g. mains plug, mains cable, compressor). Contact the Authorised Service Centre or an electrician to change the electrical components.
- The mains cable must stay below the level of the mains plug.
- Connect the mains plug to the mains socket only at the end of the installation. Make sure that there is access to the mains plug after the installation.
- Do not pull the mains cable to disconnect the appliance. Always pull the mains plug.
Use
WARNING: Risk of injury, burns, electric shock or fire.
- The appliance contains flammable gas, isobutane (R600a), a natural gas with a high level of environmental compatibility. Be careful not to cause damage to the refrigerant circuit containing isobutane.
- Do not change the specification of this appliance.
- Any use of the built-in product as freestanding is strictly prohibited.
- Do not put electrical appliances (e.g. ice cream makers) in the appliance unless they are stated applicable by the manufacturer.
- If damage occurs to the refrigerant circuit, make sure that there are no flames and sources of ignition in the room. Ventilate the room.
- Do not let hot items to touch the plastic parts of the appliance.
- Do not put soft drinks in the freezer compartment. This will create pressure on the drink container.
- Do not store flammable gas and liquid in the appliance.
- Do not put flammable products or items that are wet with flammable products in, near or on the appliance.
- Do not touch the compressor or the condenser. They are hot.
- Do not remove or touch items from the freezer compartment if your hands are wet or damp.
- Do not freeze again food that has been thawed.
- Follow the storage instructions on the packaging of frozen food.
- Wrap the food in any food contact material before putting it in the freezer compartment.
Internal lighting
WARNING: Risk of electric shock.
- This product contains one or more light sources of energy efficiency class F.
- Concerning the lamp(s) inside this product and spare part lamps sold separately: These lamps are intended to withstand extreme physical conditions in household appliances, such as temperature, vibration, humidity, or are intended to signal information about the operational status of the appliance. They are not intended to be used in other applications and are not suitable for household room illumination.
Care and cleaning
WARNING: Risk of injury or damage to the appliance.
- Before maintenance, deactivate the appliance and disconnect the mains plug from the mains socket.
- This appliance contains hydrocarbons in the cooling unit. Only a qualified person must do the maintenance and the recharging of the unit.
- Regularly examine the drain of the appliance and if necessary, clean it. If the drain is blocked, defrosted water collects in the bottom of the appliance.
Service
- To repair the appliance contact the Authorised Service Centre. Use original spare parts only.
- Please note that self-repair or nonprofessional repair can have safety consequences and might void the guarantee.
- The following spare parts will be available for 7 years after the model has been discontinued: thermostats, temperature sensors, printed circuit boards, light sources, door handles, door hinges, trays and baskets. Please note that some of these spare parts are only available to professional repairers, and that not all spare parts are relevant for all models.
- Door gaskets will be available for 10 years after the model has been discontinued.
Disposal
WARNING: Risk of injury or suffocation.
- Disconnect the appliance from the mains supply.
- Cut off the mains cable and discard it.
- Remove the door to prevent children and pets to be closed inside of the appliance.
- The refrigerant circuit and the insulation materials of this appliance are ozone-friendly.
- The insulation foam contains flammable gas. Contact your municipal authority for information on how to discard the appliance correctly.
- Do not cause damage to the part of the cooling unit that is near the heat exchanger.
INSTALLATION
WARNING
- Refer to Safety chapters.
- Refer to installation instruction document to install your appliance.
WARNING: Fix the appliance in accordance with installation instruction document to avoid a risk of instability of the appliance.
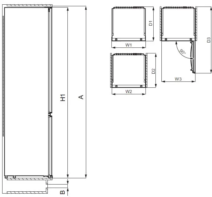
Dimensions

| Overall dimensions ¹ | ||
| H1 | mm | 1772 |
| W1 | mm | 546 |
| D1 | mm | 549 |
- ¹ the height, width and depth of the appliance without the handle
| Space required in use ² | ||
| H2 (A+B) | mm | 1816 |
| W2 | mm | 546 |
| D2 | mm | 551 |
| A | mm | 1780 |
| Space required in use ² |
| B mm 36 |
- ² the height, width and depth of the appliance including the handle, plus the space necessary for free circulation of the cooling air
| Overall space required in use ³ | ||
| H3 (A+B) | mm | 1816 |
| W3 | mm | 546 |
| D3 | mm | 1068 |
- ³ the height, width and depth of the appliance including the handle, plus the space necessary for free circulation of the cooling air, plus the space necessary to allow door opening to the minimum angle permitting removal of all internal equipment
Location
To ensure appliance’s best functionality, you should not install the appliance in a place with direct sunlight. Do not install the appliance close to radiators or cookers, ovens, or hobs, unless otherwise specified in the installation instructions. Make sure that air can circulate freely around the back of the cabinet. This appliance should be installed in a dry, well ventilated indoor position. This appliance is intended to be used at ambient temperature ranging from 10°C to 43°C.
Attention
- The correct operation of the appliance can only be guaranteed within the specified temperature range.
- If you have any doubts regarding where to install the appliance, please turn to the vendor, to our customer service or to the nearest Authorised Service Centre.
- It must be possible to disconnect the appliance from the mains power supply. The plug must therefore be easily accessible after installation.
Electrical Connection
CAUTION: Any electrical work required to install this appliance should be carried out by a qualified electrician or competent person.
WARNING
- This appliance must be earthed.
- The manufacturer declines any liability should these safety measures not be observed.
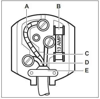
The wires in the mains lead are coloured in accordance with the following code:

- A – green and yellow: Earth
- C – brown: Live
- D – blue: Neutral
As the colours of the wires in the mains lead of this appliance may not correspond with the coloured markings identifying the terminals in your plug, proceed as follows:
- Connect the wire coloured green and yellow to the terminal marked either with the letter “E“ or by the earth symbol
or coloured green and yellow. - Connect the wire coloured blue to the terminal either marked with the letter “N“ or coloured black.
- Connect the wire coloured brown to the terminal either marked with the “L“ or coloured red.
- Check that no cut, or stray strands of wire is present and the cord clamp (E) is secure over the outer sheath. Make sure the electricity supply voltage is the same as that indicated on the appliance rating plate.
- Switch on the appliance.
- The appliance is supplied with a 13 amp fuse (B). In the event of having to change the fuse in the plug supplied, a 13 amp ASTA approved (BS 1362) fuse must be used.
WARNING: A cut off plug inserted into a 13 amp socket is a serious safety (shock) hazard. Ensure that it is disposed of safely.
Ventilation requirements

- The airflow behind the appliance must be sufficient.
CAUTION
- Refer to the installation instructions for the installation.
Door reversibility
- Please refer to the separate document with instructions on installation and door reversal.
CAUTION: At every stage of reversing the door protect the floor from scratching with a durable material.
CONTROL PANEL

- ECOMETER indicator
- Extra Cool button / indicator
- Fridge compartment indicator
- Alarm indicator
- Door open alarm indicator
- Freezer compartment indicator
- Extra Freeze button / indicator
- Filter Reset alarm button / indicator
- Freezer temperature button / indicator
- Air filter change indicator
- Fridge temperature button / indicator
- Fan button / indicator
- ECO button
Switching on
- Connect the mains plug to the power socket.
- To select a different set temperature, refer to “Temperature regulation”.
- If
appears on the display, refer to “Troubleshooting”.
Switching off
- Press and hold the freezer temperature button for 5 seconds.
- The display shows blinking OF.
- Once the appliance is switched off, the display reads OF.
- Disconnect the mains plug from the power socket.
Temperature regulation
- The temperature range may vary between -15°C and -24°C for freezer and between 2°C and 8°C for fridge.
- Press the temperature buttons to set the temperature of the appliance.
The recommended set temperature is:
- +4°C for the fridge
- -18°C for the freezer
You may set the recommended temperature manually with temperature buttons or by switching on the ECO function. Refer to “ECO function” for more information
The temperature indicators show the set temperature.
The set temperature will be reached within 24 hours. After a power failure, the appliance goes back to the set temperature.
Switching off the fridge
It is possible to switch off only the fridge compartment leaving the freezer compartment on.
- Press and hold the fridge temperature button for 5 seconds.
- The display shows blinking OF.
- Once the fridge compartment is switched off, the display reads OF.
Switching on the fridge
To switch on the fridge:
- Press and hold the fridge temperature button for 5 seconds. The display shows blinking ON.
- The fridge compartment is switched on and the previous set temperature is restored.
To adjust the temperature, refer to “Temperature regulation”.
ECO function
The ECO function sets the optimal temperature to ensure food preservation while minimizing energy consumption.
- To activate the function press the ECO button.
- The fridge temperature is set to +4°C and the freezer temperature to -18°C.
- To deactivate the function, press the ECO button again or select a different set temperature (refer to “Temperature regulation”).
After deactivating the ECO function, the fridge temperature is set to +2°C and the freezer temperature to -20°C.
It is not possible to activate the ECO function when the Extra Cool function is on. The ECOMETER indicator shows the appliance’s current energy consumption. Three fully lit bars indicate the most energy-efficient setup.
Extra Cool function
- With the Extra Cool function, you may rapidly cool large amounts of warm food, for example after doing grocery shopping, without warming food already stored in the fridge compartment.
- To activate the function, press the Extra Cool button.
- The Extra Cool indicator lights up. When the Extra Cool function is on, the fan may work automatically.
- This function stops automatically. Once the function is off, the Extra Cool indicator goes out.
- Press the Extra Cool button to deactivate the Extra Cool function before it automatically ends.
To set a different fridge temperature, switch off the Extra Cool function and refer to “Temperature regulation”.
Extra Freeze function
- Extra Freeze function is used to prefreeze and fast freeze in sequence in the freezer compartment. This function accelerates the freezing of fresh food and, at the same time, protects foodstuffs already stored from undesirable warming.
- To freeze fresh food, activate the Extra Freeze function at least 24 hours before placing the food to complete pre-freezing.
- To activate this function, press the Extra Freeze button.
- The Extra Freeze indicator lights up. The Extra Freeze function stops automatically after 52 hours.
- Press the Extra Freeze button to deactivate the Extra Freeze function before it automatically ends.
Fan function
- The fridge compartment is equipped with a device that allows rapid cooling of food and ensures high uniformity of temperature in the compartment.
- This device activates automatically when needed or manually.
- To switch on the function, press the Fan button. The Fan indicator lights up.
- To switch off the function, press again the Fan button. The Fan indicator goes out.
- If the function is activated automatically, the Fan indicator will not light up.
- The activation of the Fan function may increase the noise and energy consumption.
- The fan operates only when the door is closed.
High temperature alarm
When the temperature in the freezer compartment increases (for example due to an earlier power failure), the alarm ndicator flashes, the freezer temperature indicator shows H° and blinks and the sound is on. To deactivate the alarm, press the freezer temperature button. The alarm indicator and sound go off. The freezer temperature indicator shows H° for 5 seconds before indicating the freezer temperature again.
Attention
- The alarm restarts one hour after deactivation until the normal conditions are restored.
- If you do not press any button, the sound switches off automatically after around one hour to avoid disturbing.
Door open alarm
- If the fridge door is left open for approximately 5 minutes or if the freezer door is left open for approximately 80 seconds, the sound is on and the door open alarm indicator turns on. The internal fridge light may also start flashing.
- The alarm stops after closing the door.
- Press any button to switch off the sound and flashing of the internal fridge light.
- If you do not press any button, the sound switches off automatically after around one hour to avoid disturbing.
Air filter change indicator
- When the air filter has expired and requires replacement, the Air filter change indicator and the Filter Reset alarm indicator turn on.
- Refer to “Installing and replacing the
- CleanAir+ filter” section in “Care and cleaning” chapter for the replacement instructions.
- After the filter replacement, press the
- Filter Reset alarm button to turn off the alarm.
Setting mode
The Setting mode allows you to:
- Enable or disable the ECOMETER indicator
- Enable or disable the button sounds
- Change the temperature units from °C to °F
- Reset the control panel to factory settings
Activating the Setting mode
To activate the Setting mode:
- Press and hold the ECO button for approximately 3 seconds. When the Setting mode is being activated, the display shows a blinking
. - Once the Setting mode is switched on, the display shows
.- To deactivate the Setting mode, press and hold the ECO button for approximately 3 seconds.
- The Setting mode deactivates automatically if you do not interact with the control panel for 60 seconds.
Navigating the Setting mode
- Activate the Setting mode (refer to “Activating the Setting mode”).
- The display shows
.
- The display shows
- Tap the fridge temperature button (on the left) to change the parameter. Tap the freezer temperature button (on the right) to change the parameter value.

ECOMETER indicator
In order to switch the ECOMETER on or off:
- Activate the Setting mode (refer to “Activating the Setting mode”). The display shows
. - Tap ON repeatedly. The indicator will show respectively ON for the enabled or OF for the disabled ECOMETER indicator.
- Press and hold the ECO button for approximately 3 seconds to exit the Setting mode.
Button sounds
You can enable or disable the button sounds in the Setting mode. To enable or disable the sounds:
- Activate the Setting mode (refer to “Activating the Setting mode”).
- The display shows
.
- The display shows
- Tap PE repeatedly until you see
.- Tap ON to switch the sounds either on or off. The indicator will change to ON for the enabled or OF for the disabled sounds.
- Press and hold the ECO button for approximately 3 seconds to exit the Setting mode.
Temperature units
Using the Setting mode, you can change the temperature unit displayed on the control panel from Celsius to Fahrenheit.
To change the temperature unit:
- Activate the Setting mode (refer to “Activating the Setting mode”).
- The display shows
.
- The display shows
- Tap PE repeatedly until you see CF and
. Tap the indicator showing the unit to select between
for Celsius and
for Fahrenheit. - Press and hold the ECO button for approximately 3 seconds to exit the Setting mode.
Factory settings
This function restores each setting to the factory default settings. To restore the factory default settings:
- Activate the Setting mode (refer to “Activating the Setting mode”).
- The display shows
.
- The display shows
- Tap PE repeatedly until you see F5 and 03. Tap 03 repeatedly until you see ON.
- ON turns into blinking F5 and then nto solid 03, which indicates that factory settings are restored.
- Press and hold the ECO button for approximately 3 seconds to exit the Setting mode.
DAILY USE
Positioning the door shelves
To permit storage of food packages of various sizes, the door shelves can be placed at different heights.

- Gradually pull the shelf up until it comes free.
- Reposition as required.
This model is equipped with a variable storage box which can be moved sideways.
Movable shelves
- The walls of the refrigerator are equipped with a series of runners so that the shelves can be positioned as desired.
- This appliance is also equipped with a shelf consisting of two parts. The front half of the shelf can be placed under the second half to make better use of space.
To fold the shelf

- Take out the front half gently.
- Slide it into the lower rail and under the second half.
Do not move the glass shelf above the vegetable drawer to ensure correct air circulation.
GreenZone drawer
- There is a pull-out drawer in the bottom part of the refrigerator compartment.
- The glass shelf of the GreenZone is fitted with a device that regulates its sealing and can be used to manage the humidity inside the drawer.
Removing GreenZone drawer
- It is recommended to empty the drawer before removing it from the refrigerator.
To remove the drawer:

- Pull out the drawer from the refrigerator.

- Lift up the front of the drawer.

- Pull the drawer out while lifting it up.
To remove the glass cover of the GreenZone drawer:

- Unlock lateral gripping from both sides simultaneously.

- Pull the glass shelf support towards yourself.
Humidity control
- The glass shelf of the GreenZone drawer is fitted with a device that regulates its sealing and can be used to manage the humidity inside the drawer.
- Do not place any food products on the humidity control device.
The position of the humidity control depends on the type and quantities of fruit and vegetables:

- Slots closed: recommended for low quantities of fruit and vegetables. It provides for longer preservation of the natural moisture content in fruit and vegetables.

- Slots opened: recommended for larger quantities of fruit and vegetables. It provides for more air circulation resulting in lower air moisture.

- To remove the humidity control device, open the drawer below the glass shelf and pull out the cover.
Attention: Depending on the quantity and condition of fruit and vegetables stored in the GreenZone drawer, condensation may occur. In such a case, remove the condensation using a soft cloth and set the humidity control to low humidity position.
Fan
The refrigerator compartment is equipped with a device that allows rapid cooling of foods and keeps more uniform temperature in the compartment.

- This device activates automatically when needed.
- It is also possible to switch on the device manually when needed (refer to “Fan function”).
Attention
- The fan operates only when the door is closed.
- Do not remove the cover of the fan.
CleanAir+ filter
- In the appliance, there is a CleanAir+ carbon filter.
- The filter purifies the air from unwanted odours in the fridge compartment, improving the storage quality.
- On delivery, the filter and its plastic housing are in a plastic bag with the other accessories (refer to “Installing and replacing the CleanAir+ filter” section in “Care and cleaning” chapter for the installation).
Freezing fresh food
- The freezer compartment is suitable for freezing fresh food and storing frozen and deep-frozen food for a long time.
- To freeze fresh food activate the Extra Freeze function at least 24 hours before placing the food to be frozen in the freezer compartment.
- Store the fresh food evenly distributed in the first compartment or drawer from the top.
- The maximum amount of food that can be frozen without adding other fresh food during 24 hours is specified on the rating plate (a label located inside the appliance).
- When the freezing process is complete, the appliance automatically returns to the previous temperature setting (see “Extra Freeze function”).
- For more information refer to “Hints for freezing”.
Storage of frozen food
- When activating an appliance for the first time or after a period out of use, before putting the products in the compartment let the appliance run at least 3 hours with the Extra Freeze function switched on.
- The freezer drawers ensure that it is quick and easy to find the food package you want.
- If large quantities of food are to be stored, remove all drawers and place the food on shelves.
- Keep the food no closer than 15 mm from the door.
CAUTION
- In the event of accidental defrosting, for example due to a power failure, if the power has been off for longer than the value shown on rating plate under “rising time”, the defrosted food must be consumed quickly or cooked immediately then cooled and then re-frozen.
- Refer to “High temperature alarm”.
Thawing
- Deep-frozen or frozen food, prior to being consumed, can be thawed in the refrigerator or inside a plastic bag under cold water.
- This operation depends on the time available and on the type of food. Small pieces may even be cooked still frozen.
Ice-cube production
This appliance is equipped with one or more trays for the production of icecubes.
Do not use metallic instruments to remove the trays from the freezer.
- Fill these trays with water.
- Put the ice trays in the freezer compartment.
HINTS AND TIPS
Hints for energy saving
- Freezer: The internal configuration of the appliance is the one that ensures the most efficient use of energy.
- Fridge: Most efficient use of energy is ensured in the configuration with the drawers in the bottom part of the appliance and shelves evenly distributed. Position of the door bins does not affect energy consumption.
- Do not open the door frequently or leave it open longer than necessary.
- Freezer: The colder the temperature setting, the higher the energy consumption.
- Fridge: Do not set too high temperature to save energy unless it is required by the characteristics of the food.
- If the ambient temperature is high and the temperature control is set to low temperature and the appliance is fully loaded, the compressor may run continuously, causing frost or ice formation on the evaporator. In this case, set the temperature control toward higher temperature to allow automatic defrosting and to save energy this way.
- Ensure a good ventilation. Do not cover the ventilation grilles or holes.
- Make sure that food products inside the appliance allow air circulation through dedicated holes in the rear interior of the appliance.
Hints for freezing
- Activate Extra Freeze function at least 24 hours before placing the food inside the freezer compartment.
- Before freezing wrap and seal fresh food in: aluminium foil, plastic film or bags, airtight containers with lid.
- For more efficient freezing and thawing divide food into small portions.
- It is recommended to put labels and dates on all your frozen food. This will help to identify foods and to know when they should be used before their deterioration.
- The food should be fresh when being frozen to preserve good quality. Especially fruits and vegetables should be frozen after the harvest to preserve all of their nutrients.
- Do not freeze bottles or cans with liquids, in particular drinks containing carbon dioxide – they may explode during freezing.
- Do not put hot food in the freezer compartment. Cool it down at room temperature before placing it inside the compartment.
- To avoid increase in temperature of already frozen food, do not place fresh unfrozen food directly next to it. Place food at room temperature in the part of the freezer compartment where there is no frozen food.
- Do not eat ice cubes, water ices or ice lollies immediately after taking them out of the freezer. Risk of frostbites.
- Do not re-freeze defrosted food. If the food has defrosted, cook it, cool it down and then freeze it.
Hints for storage of frozen food
- Freezer compartment is the one marked with
. - Good temperature setting that ensures preservation of frozen food products is a temperature less than or equal to -18°C.
- Higher temperature setting inside the appliance may lead to shorter shelf life.
- The whole freezer compartment is suitable for storage of frozen food products.
- Leave enough space around the food to allow air to circulate freely.
- For adequate storage refer to food packaging label to see the shelf life of food.
- It is important to wrap the food in such a way that prevents water, humidity or condensation from getting inside.
Shopping tips
After grocery shopping:
- Ensure that the packaging is not damaged – the food could be deteriorated. If the package is swollen or wet, it might have not been stored in the optimal conditions and defrosting may have already started.
- To limit the defrosting process buy frozen goods at the end of your grocery shopping and transport them in a thermal and insulated cool bag.
- Place the frozen foods immediately in the freezer after coming back from the shop.
- If food has defrosted even partially, do not re-freeze it. Consume it as soon as possible.
- Respect the expiry date and the storage information on the package.
Shelf life for freezer compartment
| Type of food | Shelf life (months) |
| Bread | 3 |
| Fruits (except citrus) | 6 – 12 |
| Vegetables | 8 – 10 |
| Leftovers without meat | 1 – 2 |
| Dairy food: | |
| Butter Soft cheese (e.g. mozzarella) Hard cheese (e.g. parmesan, cheddar) | 6 – 9 3 – 4 6 |
| Seafood: | |
| Fatty fish (e.g. salmon, mackerel) | 2 – 3 |
| Lean fish (e.g. cod, flounder) | 4 – 6 |
| Shrimps | 12 |
| Shucked clams and mussels | 3 – 4 |
| Cooked fish | 1 – 2 |
| Meat: | |
| Poultry | 9 – 12 |
| Beef | 6 – 12 |
| Pork | 4 – 6 |
| Lamb | 6 – 9 |
| Sausage | 1 – 2 |
| Ham | 1 – 2 |
| Leftovers with meat | 2 – 3 |
Hints for fresh food refrigeration
- Good temperature setting that ensures preservation of fresh food is a temperature less than or equal to +4°C. Higher temperature setting inside the appliance may lead to shorter shelf life of food.
- Cover the food with packaging to preserve its freshness and aroma.
- Always use closed containers for liquids and for food, to avoid flavours or odours in the compartment.
- To avoid the cross-contamination between cooked and raw food, cover the cooked food and separate it from the raw one.
- It is recommended to defrost the food inside the fridge.
- Do not insert hot food inside the appliance. Make sure it has cooled down at room temperature before inserting it.
- To prevent food waste the new stock of food should always be placed behind the old one.
Hints for food refrigeration
- Fresh food compartment is the one marked (on the rating plate) with
. - Meat (all types): wrap in a suitable packaging and place it on the glass shelf above the vegetable drawer. Store meat for at most 1-2 days.
- Fruit and vegetables: clean thoroughly (eliminate the soil) and place in a special drawer (vegetable drawer).
- It is advisable not to keep the exotic fruits like bananas, mangos, papayas etc. in the refrigerator.
- Vegetables like tomatoes, potatoes, onions, and garlic should not be kept in the refrigerator.
- Butter and cheese: place in an airtight container or wrap in an aluminium foil or a polythene bag to exclude as much air as possible.
- Bottles: close them with a cap and place them on the door bottle shelf, or (if available) on the bottle rack.
- In order to accelerate cooling down of the goods, it is advisable to turn on the fan. The activation of Fan allows greater homogenization of internal temperatures.
- Always refer to the expiry date of the products to know how long to keep them.
CARE AND CLEANING
WARNING: Refer to Safety chapters.
Cleaning the interior
- Before using the appliance for the first time, the interior and all internal accessories should be washed with lukewarm water and some neutral soap to remove the typical smell of a brand-new product, then dried thoroughly.
CAUTION
- Do not use detergents, abrasive powders, chlorine or oil-based cleaners as they will damage the finish.
- The accessories and parts of the appliance are not suitable for washing in a dishwasher.
Periodic cleaning
The equipment has to be cleaned regularly:
- Clean the inside and accessories with lukewarm water and some neutral soap.
- Regularly check the door seals and wipe them clean to ensure they are clean and free from debris.
- Rinse and dry thoroughly.
Defrosting of the refrigerator

Frost is automatically eliminated from the evaporator of the refrigerator compartment during normal use. The defrost water drains out through a trough into a special container at the back of the appliance, over the motor compressor, where it evaporates. It is important to periodically clean the defrost water drain hole in the middle of the refrigerator compartment channel to prevent the water overflowing and dripping onto the food inside. For this purpose use the tube cleaner provided with the appliance.
Defrosting of the freezer
- The freezer compartment is frost free.
- This means that there is no build up of frost when it is in operation, neither on the internal walls, nor on the foods.
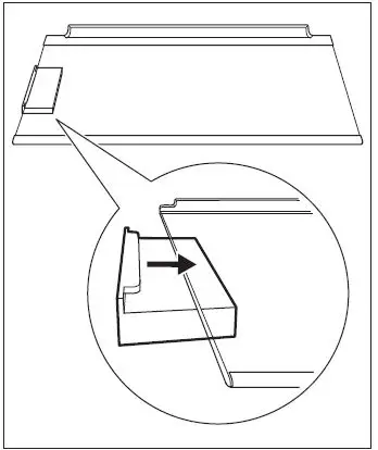
Installing and replacing the CleanAir+ filter
The CleanAir+ filter is an activated carbon filter that absorbs bad odours and allows you to preserve the best flavour and aroma for all foodstuffs without risk of odour cross-contamination. Handle the air filter carefully to avoid scratching its surface. On delivery, the air filter is in a plastic bag to preserve performance.
Install the air filter before activating the appliance.
- Unpack the air filter from the plastic bag.

- Open the plastic housing and put the pleated surface on the grid, fitting the filter inside the marked area on the gridded surface.

- Hold the filter down while closing the plastic housing until you hear a click.

- Remove the top glass shelf from the fridge compartment. Slip the plastic housing with the air filter on the left side of the glass shelf.

- Insert the glass shelf back in the fridge compartment. Be careful not to hit the filter when inserting the glass shelf.
Replacing the CleanAir+ filter

- Open the plastic housing.
- Pull out the used air filter.
- Unpack the new air filter from the plastic bag and insert it in the drawer.

- Close the plastic housing.
- After the filter replacement, press the Filter Reset alarm button on the control panel to turn off the alert.
- For best performance, place the plastic housing in the proper location (to the left of the glass shelf) and replace the CleanAir+ filter every 6 months (refer to “Air filter change indicator”).
The air filter is a consumable accessory and as such is not covered by the guarantee. You can purchase new air filters from your local dealer.
Period of non-operation
When the appliance is not in use for long period, take the following precautions:
- Disconnect the appliance from electricity supply.
- Remove all food.
- Clean the appliance and all accessories.
- Leave the doors open to prevent unpleasant smells.
TROUBLESHOOTING
WARNING: Refer to Safety chapters.
What to do if…
| Problem | Possible cause | Solution |
| The appliance does not operate. | The appliance is switched off. | Switch on the appliance. |
| The mains plug is not connected to the mains socket correctly. | Connect the mains plug to the mains socket correctly. |
| There is no voltage in the | Connect a different electrical | |
| mains socket. | appliance to the main socket. | |
| Contact a qualified electrician. | ||
| The appliance is noisy. | The appliance is not supported properly. | Check if the appliance stands stable. |
| Acoustic or visual alarm is on. | The cabinet has been recently switched on. | Refer to “High temperature alarm” or “Door open alarm”. |
| The temperature in the appliance is too high. | Refer to “High-temperature alarm” or “Door open alarm”. | |
| The door is left open. | Close the door. | |
| The compressor operates continually. | Temperature is set incorrectly. | Refer to “Control panel” chapter. |
| Many food products were put in at the same time. | Wait a few hours and then check the temperature again. | |
| The room temperature is too high. | Refer to the “Installation” chapter. | |
| Food products placed in the appliance were too warm. | Allow food products to cool to room temperature before storing. | |
| The door is not closed correctly. | Refer to the “Closing the door” section. | |
| The Extra Freeze function is switched on. | Refer to “Extra Freeze function” section. | |
| The Extra Cool function is switched on. | Refer to “Extra Cool function” section. | |
| The compressor does not start immediately after pressing the “Extra Freeze” or “Extra Cool”, or after changing the temperature. | The compressor starts after a period of time. | This is normal, no error has occurred. |
| Door is misaligned or inter‐ feres with a ventilation grill. | The appliance is not level-led. | Refer to installation instructions. |
| Door does not open easily. | You attempted to re-open the door immediately after closing. | Wait a few seconds between closing and re-opening of the door. |
| The lamp does not work. | The lamp is in stand-by mode. | Close and open the door. |
| The lamp is defective. | Contact the nearest Authorized Service Centre. | |
| There is too much frost and ice. | The door is not closed correctly. | Refer to “Closing the door” section. |
| The gasket is deformed or dirty. | Refer to “Closing the door” section. | |
| Food products are not wrapped properly. | Wrap the food products better. | |
| Temperature is set incorrectly. | Refer to “Control panel” chapter. | |
| Appliance is fully loaded and is set to the lowest temperature. | Set a higher temperature. Refer to “Control panel” chapter. | |
| Temperature set in the appliance | Set a higher temperature. | |
| is too low and the ambient | Refer to “Control panel” | |
| temperature is too | chapter. | |
| high. | ||
| Water flows on the rear plate During the automatic de‐ of the refrigerator. frosting process, frost melts on the rear plate. | This is correct. | |
| There is too much condensed water on the rear wall of the refrigerator. | Door was opened too frequently. | Open the door only when necessary. |
| Door was not closed completely. | Make sure the door is closed completely. | |
| Stored food was not wrapped. | Wrap food in suitable packaging before storing it in the appliance. | |
| Water flows inside the refrigerator. Food products prevent the water from flowing into the water collector. | Make sure that food products do not touch the rear plate. | |
| The water outlet is clogged. | Clean the water outlet. | |
| Water flows on the floor. | The melting water outlet is not connected to the evaporative tray above the compressor. | Attach the melting water out‐ let to the evaporative tray. |
| Temperature cannot be set. The Extra Freeze function or Extra Cool function is switched on. | Switch off Extra Freeze function or Extra Cool function manually, or wait until the function deactivates automatically to set the temperature. Refer to “Extra Freeze function” or “Extra Cool function” section. | ||
| The temperature in the appliance correctly. The temperature is not set ance is too low/too high. | Set a higher/lower temperature. | ||
| The door is not closed correctly. | Refer to the “Closing the door” section. | ||
| The food products’ temperature is too high. | Let the food products temperature decrease to room temperature before storage. | ||
| Many food products are stored at the same time. | Store less food products at the same time. | ||
| The door has been opened often. | Open the door only if necessary. | ||
| The Extra Freeze function is switched on. | Refer to “Extra Freeze function” section. | ||
| The Extra Cool function is switched on. | Refer to “Extra Cool function” section. | ||
| There is no cold air circulation | Make sure that there is cold | ||
| in the appliance. | air circulation in the appliance. | ||
| Refer to “Hints and | |||
| tips” chapter. | |||
| display. | appears on the | The appliance is in the demonstration mode. | To exit the demonstration mode, press and hold the Extra Cool and ECO buttons for approximately 10 seconds until you hear 3 short beeps. |
| The | symbol ap‐ | Communication problem. | Contact the nearest Authorised |
| pears and the alarm indicator | Service Centre. The | ||
| is on. | cooling system will continue | ||
| to keep food products cold, | |||
| but temperature adjustment | |||
| will not be possible. | |||
| Temperature sensor problem. | Contact the nearest Authorised Service Centre. The cooling system will continue to keep food products cold, but temperature adjustment will not be possible. |
- If the advice does not lead to the desired result, call the nearest Authorized Service Centre.
Replacing the lamp
- The appliance is equipped with a longlife LED interior light.
- Only service is allowed to replace the lighting device. Contact your Authorised Service Centre.
Closing the door
- Clean the door gaskets.
- If necessary, adjust the door. Refer to installation instructions.
- If necessary, replace the defective door gaskets. Contact the Authorised Service Centre.
NOISES

TECHNICAL DATA
The technical information is situated in the rating plate on the internal side of the appliance and on the energy label. The QR code on the energy label supplied with the appliance provides a web link to the information related to the performance of the appliance. Keep the energy label for reference together with the user manual and all other documents provided with this appliance.
INFORMATION FOR TEST INSTITUTES
Installation and preparation of the appliance for any EcoDesign verification shall be compliant with BS EN 62552. Ventilation requirements, recess dimensions and minimum rear clearances shall be as stated in this User Manual at Chapter 3. Please contact the manufacturer for any other further information, including loading plans.
ENVIRONMENTAL CONCERNS
Recycle materials with the symbol
. Put the packaging in relevant containers to recycle it. Help protect the environment and human health by recycling waste of electrical and electronic appliances. Do not dispose of appliances marked with the symbol
with the household waste. Return the product to your local recycling facility or contact your municipal office.


























