RCB636E2MX
Freezer – Fridge
USER MANUAL
RCB636E2MX Freezer Fridge
Warning; Risk of fire / flammable materials
FOR PERFECT RESULTS
Thank you for choosing this AEG product. We have created it to give you impeccable performance for many years, with innovative technologies that help make life simpler –features you might not find on ordinary appliances. Please spend a few minutes reading to get the very best from it.
Visit our website to:
| Get usage advice, brochures, trouble shooter, service and repair information: www.aeg.com/support | |
| Register your product for better service: www.registeraeg.com | |
| Buy Accessories, Consumables and Original spare parts for your appliance: www.aeg.com/shop |
CUSTOMER CARE AND SERVICE
Always use original spare parts.
When contacting our Authorised Service Centre, ensure that you have the following data available: Model, PNC, Serial Number.
The information can be found on the rating plate.
Warning / Caution-Safety information
General information and tips
Environmental information
Subject to change without notice.
PART – 1. BEFORE USING THE APPLIANCE
General warnings
Please read the instruction manual carefully before installing and using your appliance. We are not responsible for the damage occurred due to misuse.
Follow all instructions on your appliance and instruction manual, and keep this manual in a safe place to resolve the problems that may occur in the future.
This appliance is not intended to be used as a built-in appliance.
In case of different installation from freestanding respecting space required in use dimensions, the appliance will function correctly but energy consumption migh increase slightly.
WARNING: Keep ventilation openings, in the appliance enclosure or in the built-in structure, clear of obstruction.
WARNING: Do not use mechanical devices or other means to accelerate the defrosting process, other than those recommended by the manufacturer.
WARNING: Do not use electrical appliances inside the food storage compartments of the appliance, unless they are of the type recommended by the manufacturer.
WARNING: Do not damage the refrigerant circuit.
WARNING: When positioning the appliance, ensure the supply cord is not trapped or damaged.
WARNING: Do not locate multiple portable socket-outlets or portable power supplies at the rear of the appliance.
WARNING: In order to avoid any hazards resulting from the instability of the appliance, it must be fixed in accordance with the following instructions:
If your appliance uses R600a as a refrigerant (this information will be provided on the label of the cooler) you should take care during transportation and installation to prevent the cooler elements from being damaged. R600a is an environmentally friendly and natural gas, but it is explosive. In the event of a leak due to damage of the cooler elements, move your fridge away from open flames or heat sources and ventilate the room where the appliance is located for a few minutes.
- Keep all packaging away from children and dispose of it appropriately.
- While carrying and positioning the fridge, do not damage the cooler gas circuit.
- Do not store explosive substances such as aerosol cans with a flammable propellant in this appliance.
- This appliance is for storing food and beverages only.
- This appliance is designed for single household domestic use in an indoor environment.
- This appliance may be used in offices, hotel guest rooms, bed & breakfast guest rooms, farm guest houses and other similar accommodation where such use does not exceed (average) domestic usage levels.
- If the socket does not match the refrigerator plug, it must be replaced by the manufacturer, a service agent or similarly qualified persons in order to avoid a hazard.
- A specially grounded plug has been connected to the power cable of your refrigerator. This plug should be used with a specially grounded socket of 13 amperes according to country where the product will be sold. If there is no such socket in your house, please have it installed by an authorized electrician.
- This appliance can be used by children aged from 8 years and above and persons with reduced physical, sensory or mental capabilities or lack of experience and knowledge if they have been given supervision or instruction concerning use of the appliance in a safe way and understand the hazards involved. Children shall not play with the appliance. Cleaning and user maintenance shall not be made by children without supervision.
- Children aged from 3 to 8 years are allowed to load and unload refrigerating appliances. Children are not expected to perform cleaning or user maintenance of the appliance, very young children (0-3 years old) are not expected to use appliances, young children (3-8 years old) are not expected to use appliances safely unless continuous supervision is given, older children (8-14 years old) and vulnerable people can use appliances safely after they have been given appropriate supervision or instruction concerning use of the appliance.
Very vulnerable people are not expected to use appliances safely unless continuous supervision is given. - If the supply cord is damaged, it must be replaced by the manufacturer, an authorised service agent or similar qualified persons, in order to avoid a hazard.
- This appliance is not intended for use at altitudes exceeding 2000 m.
To avoid contamination of food, please respect the following instructions:
- Opening the door for long periods can cause a significant increase of the temperature in the compartments of the appliance.
- Clean regularly surfaces that can come in contact with food and accessible drainage systems
- Store raw meat and fish in suitable containers in the refrigerator, so that it is not in contact with or drip onto other food.
- Two-star frozen-food compartments are suitable for storing pre-frozen food, storing or making ice cream and making ice cubes.
- One-, two- and three-star compartments are not suitable for the freezing of fresh food.
- If the refrigerating appliance is left empty for long periods, switch off, defrost, clean, dry, and leave the door open to prevent mould developing within the appliance.
Service
- To repair the appliance contact the Authorised Service Centre.
Use original spare parts only. - Please note that self-repair or nonprofessional repair can have safety consequences and might void the guarantee.
- The following spare parts will be available for 7 years after the model has been discontinued: thermostats, temperature sensors, printed circuit boards, light sources, door handles, door hinges, trays and baskets.
- Please note that some of these spare parts are only available to professional repairers, and that not all spare parts are relevant for all models.
- Door gaskets will be available for 10 years after the model has been discontinued.
Old and out-of-order fridges or freezer
- If your old fridge or freezer has a lock, break or remove the lock before discarding it, because children may get trapped inside it and may cause an accident.
- Old fridges and freezers contain isolation material and refrigerant with CFC. Therefore, take care not to harm environment when you are discarding your old fridges.
Disposal of your old appliance
The symbol on the product or on its packaging indicates that this product may not be treated as household waste. Instead it shall be handed over to the applicable collection point for the recycling of electrical and electronic equipment. By ensuring this product is disposed of correctly, you will help prevent potential negative consequences for the environment and human health, which could otherwise be caused by inappropriate waste handling of this product. For more detailed information about recycling of this product, please contact your local city office, your household waste disposal service or the shop where you purchased the product.
Notes:
- This appliance is produced to be used in homes and it can only be used in domestic environments and for the specified purposes. It is not suitable for commercial or common use. Such use will cause the guarantee of the appliance to be cancelled and our company will not be responsible for the losses to be occurred.
- This appliance is produced to be used in houses and it is only suitable for cooling / storing foods. It is not suitable for commercial or common use and/or for storing substances except for food. Our company is not responsible for the losses to be occurred in the contrary case.
Safety warnings
- Do not connect your fridge freezer to the mains electricity supply using an extension lead.

- Do not use damaged, torn or old plugs.
- Do not pull, bend or damage the cord.

- Do not use plug adapter.

- This appliance is designed for use by adults. Do not allow children to play with the appliance or hang off the door.
- Never touch the power cord/plug with wet hands. This may cause a short circuit or electric shock.

- Do not place glass bottles or cans in the ice-making compartment as they will burst when the contents freeze.

- Do not place explosive or flammable material in your fridge. Place drinks with high alcohol content vertically in the fridge compartment and make sure their tops are tightly closed.
When removing ice from the ice-making compartment, do not touch it. Ice may cause frost burns and/or cuts.- Do not touch frozen goods with wet hands. Do not eat ice-cream or ice cubes immediately after they are removed from the ice-making compartment.
- Do not re-freeze thawed frozen food. This may cause health issues such as food poisoning.
Installing and operating your fridge freezer
Before using your fridge freezer for the first time, please pay attention to the following points:
- The operating voltage for your fridge freezer is 220-240 V at 50Hz.
- The plug must be accessible after installation.
- Your fridge freezer may have an odour when it is operated for the first time. This is normal and the odour will fade when your fridge freezer starts to cool.
- Before connecting your fridge freezer, ensure that the information on the data plate (voltage and connected load) matches that of the mains electricity supply. If in doubt,
consult a qualified electrician. - Insert the plug into a socket with an efficient ground connection. If the socket has no ground contact or the plug does not match, we recommend you consult a qualified electrician for assistance.
- The appliance must be connected with a properly installed fused socket. The power supply (AC) and voltage at the operating point must match with the details on the name plate of the appliance (the name plate is located on the inside left of the appliance).
- We do not accept responsibility for any damages that occur due to ungrounded usage.
- Place your fridge freezer where it will not be exposed to direct sunlight.
- Your fridge freezer must never be used outdoors or exposed to rain.
- Your appliance must be at least 50 cm away from stoves, gas ovens and heater cores, and at least 5 cm away from electrical ovens.

- Do not cover the body or top of fridge freezer with lace. This will affect the performance of your fridge freezer.
- Top clearance required for the appliance can be derived from dimensions provided in chapter Dimensions.
- Do not place heavy items on the appliance.
- Use the adjustable front legs to make sure your appliance is level and stable. You can adjust the legs by turning them in either direction. This must be done before placing
food in the appliance. - Clean the appliance thoroughly before use (see Cleaning and Maintenance).
- Before using your fridge freezer, wipe all parts with a solution of warm water and a teaspoon of sodium bicarbonate. Then, rinse with clean water and dry. Return all parts to the fridge freezer after cleaning.
- Install the two plastic distance guides (the parts on the black vanes -condenser- at the rear) by turning it 90° (as shown in the figure) to prevent the condenser from touching the wall.
- If you position the appliance against a wall in a freestanding installation, install the rear spacers in order to guarantee the maximum possible distance

Before Using your Fridge
- When using your fridge for the first time, or after transportation, keep it in an upright position for at least 3 hours before plugging into the mains.
This allows efficient operation and prevents damage to the compressor. - Your fridge may have a smell when it is operated for the first time. This is normal and the smell will fade away when your fridge starts to cool.

Internal lighting
WARNING!
Risk of electric shock.
- Concerning the lamp(s) inside this product and spare part lamps sold separately: These lamps are intended to withstand extreme physical conditions in household appliances, such as temperature, vibration, humidity, or are intended to signal information about the operational status of the appliance. They are not intended to be used in other applications and are not suitable for household room illumination.
Electrical information (For UK type plug)
Warning! This appliance must be earthed.
The mains lead of this appliance has been fitted with a specially earthed plug.![]()
Important: Do not use the appliance without the fuse cover in position. Should the fuse need to be replaced, it must be replaced with a 13A fuse, ASTA approved to BS1362.
The plug must be used with a specially earthed socket of 13 amperes. If there is no such socket in your house, please have one installed by an authorised electrician.
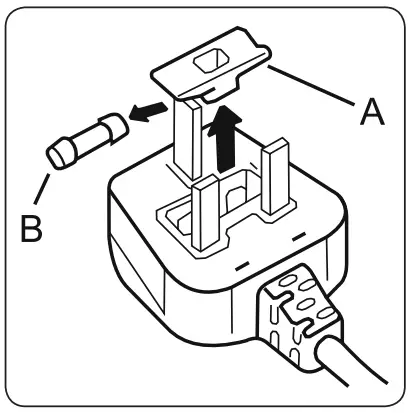
The mains lead of this appliance has been fitted with a BS 1363A 13A fused plug. To change a fuse in this type of plug, follow the steps below:
- Remove the fuse cover and fuse.
- Fit replacement 13A fuse, ASTA approved to BS 1362 type, into the fuse cover.
- Replace fuse cover.

Dimensions

Overall dimensions 1
| H1* | mm | 2010 |
| W1 | mm | 595 |
| D1 | mm | 650 |
1 the height, width and depth of the appliance without the handle
* including the height of the top hinge (10 mm)
Space required in use 2
| H2 | mm | 2050 |
| W2 | mm | 600 |
| D2 | mm | 718 |
2 the height, width and depth of the appliance including the handle, plus the space necessary for free circulation of the cooling air
Overall space required in use 3
| W3 | mm | 913 |
| D3 | mm | 1158 |
3 the height, width and depth of the appliance including the handle, plus the space necessary for free circulation of the cooling air, plus the space necessary to allow door opening to the minimum angle permitting removal of all internal equipment
PART – 2. THE VARIOUS FUNCTION AND POSSIBILITIES

Information about New Generation Cooling Technology Fridges with new-generation cooling technology have a different operating system to static fridges. Other (static) fridges may experience a build up of ice in the freezer compartment due to door openings and humidity in the food. In such fridges, regular defrosting is required; the fridge must be switched off, the frozen food moved to a suitable container and the ice which has formed in the freezer compartment removed.
In fridges with new-generation cooling technology, a fan blows dry cold air evenly throughout the fridge and freezer compartments. The cold air cools your food evenly and uniformly, preventing humidity and ice build-up.
In the refrigerator compartment, air blown by the fan, located at the top of the refrigerator compartment, is cooled while passing through the gap behind the air duct. At the same time, the air is blown out through the holes in the air duct, evenly spreading cool air throughout the refrigerator compartment.
There is no air passage between the freezer and refrigerator compartments, therefore preventing the mixing of odours.
As a result, your fridge, with new-generation cooling technology, provides you with ease of use as well as a huge volume and aesthetic appearance.
Display and Control Panel
Using the Control Panel
- Enables the setting of the freezer.
- Enables the setting of the cooler.
- Freezer set value screen.
- Cooler set value screen.
- Economy mode symbol.
- Super freeze symbol.
- Alarm symbol.

Operating your Fridge Freezer
High temperature alarm [for selected models only]
The alarm goes off when you plug the appliance for the first time.
Refrigerator compartment
The alarm goes off when the refrigerator’s temperature is higher than 10°C.
During the alarm:
- the display shows blinking E10 error code,
- the alarm indicator flashes,
- the acoustic alarm beeps.
Freezer compartment
The alarm goes off when the freezer’s temperature is higher than -9°C.
During the alarm:
- the display shows blinking E09 error code,
- the alarm indicator flashes,
- the acoustic alarm beeps.
Turning off the alarm
- Press any key on the control panel to turn off the alarm. The maximum temperature reached by the compartment appears on the display and the alarm indicator flashes until the temperature is restored.
- Alarm beeping turns off automatically after 1 hour. Alarm indicator blinks and error code remains on the display.
- If the appliance is back to the set temperature, the alarm turns off and the normal display restores. Check if the food inside is not spoiled or thawed. If yes, refer to the “Thawing” section.
Refer to the “Temperature regulation” section to set the each compartment’s temperature.
Lighting (If available)
When the product is plugged in for the first time, the interior lights may turn on 1 minute late due to opening tests.
Once you have plugged in the product, all symbols will be displayed for 2 seconds and the initial values will be shown as -18 °C on the freezer adjustment indicator, and +4 °C on the fridge adjustment indicator.
Freezer Temperature Settings
- The initial temperature value for the freezer setting indicator is -18 °C.
- Press the freezer set button once.
When you first press the button, the previous value will blink on the screen. - Whenever you press this button, temperature will decrease respectively.
- If you continue to press the button, it will restart from -16 °C.
NOTE: Eco mode gets activated automatically when the temperature of the freezer compartment is set to -18°C.
Cooler Temperature Settings
- The initial temperature value for the cooler setting indicator is +4 °C.
- Press the cooler button once.
- Whenever you press this button, temperature will decrease respectively.
- If you continue to press the button, it will restart from +8 °C.
Super Freeze Mode
Purpose
- To freeze a large quantity of food that cannot fit on the fast freeze shelf.
- To freeze prepared foods.
- To freeze fresh food quickly to retain freshness.
How to use
To enable the super freeze mode, press and hold the freezer temperature setting button for 3 seconds. Once the super freeze mode has been set, the super freeze symbol on the indicator will be lit and the machine will beep to confirm the mode has been switched on.
During Super Freeze Mode:
- The temperature of the Cooler may be adjusted. In this case, Super Freeze mode will continue.
- Economy mode cannot be selected.
- Super Freeze mode can be cancelled in the same way it is selected.
Notes:
- The maximum amount of fresh food (in kilograms) that can be frozen within 24 hours is shown on the appliance label.
- For optimal appliance performance in maximum freezer capacity, activate super freeze mode 3 hours before you put fresh food into the freezer.
Super freeze mode will automatically cancel after 24 hours, depending on the environmental temperature or when the freezer sensor reaches a sufficiently low temperature.
Recommended Settings for the Freezer and Cooler Compartment Temperature
| Freezer Compartment | Cooler Compartment | Remarks |
| -18 °C | 4 °C | For regular use and best performance. |
| -20 °C, -22 °C or -24 °C | 4 °C | Recommended when environmental temperature exceeds 30 °C. |
| Super Freeze mode | 4 °C | Must be used when you wish to freeze food in a short period of time. |
| -18 °C, -20 °CC, -22 °C or -24 °C | 2 °C | These temperature settings must be used when the environmental temperature is high or if you think the refrigerator compartment is not cool enough becuse the door is being opened frequently. |
Door Open Alarm Function
If cooler door is opened more than 2 minutes, appliance sounds ‘beep beep’.
Temperature Adjustment Warnings
- It is not recommended that you operate your fridge in environments colder than 10°C in terms of its efficiency.
- Do not start another adjustment while you are already making an adjustment.
- Temperature adjustments should be made according to the frequency of door openings, the quantity of food kept inside the fridge and the ambient temperature in the location of your fridge.
- In order to allow your fridge to reach the operating temperature after being connected to mains, do not open the doors frequently or place large quantities of food in the fridge.
Please note that, depending on the ambient temperature, it may take 24 hours for your fridge to reach the operating temperature. - A 5 minute delay function is applied to prevent damage to the compressor of your fridge when connecting or disconnecting to mains, or when an energy breakdown occurs. Your fridge will begin to operate normally after 5 minutes.
- Your appliance is designed to operate in the ambient temperature (T/SN = 10°C – 43°C) intervals stated in the standards, according to the climate class displayed on the
information label. We do not recommend operating your appliance out of the stated temperature limits in terms of cooling effectiveness.
| Climate class | Meaning | Ambient Temperature |
| T | Tropical | This refrigerating appliance is intended to be used at ambient temperatures ranging from 16 °C to 43 °C. |
| ST | Subtropical | This refrigerating appliance is intended to be used at ambient temperatures ranging from 16 °C to 38 °C. |
| N | Temperate | This refrigerating appliance is intended to be used at ambient temperatures ranging from 16 °C to 32 °C. |
| SN | Extended temperate | This refrigerating appliance is intended to be used at ambient temperatures ranging from 10 °C to 32 °C. |
This appliance is intended to be used at ambient temperature ranging from 10°C to 43°C. The correct operation of the appliance can only be guaranteed within the specified temperature range.
Accessories
Ice Tray
- Fill the ice tray with water and place in the freezer compartment.
- After the water has completely frozen, you can twist the tray as shown below to remove the ice cubes.

The Freezer Box
The freezer box allows food to be accessed more easily.
Removing the freezer box:
- Pull the box out as far as possible
- Pull the front of the box up and out
Carry out the opposite of this operation when refitting the sliding compartment.
Always keep hold of the handle of the box while removing it.

Extra Chill Drawer (In some models)
Ideal to preserve the taste and texture of fresh cuts and cheese. The pull out drawer assures an environment with a lower temperature compared to the rest of the fridge, thanks to the active circulation of cold air.
To remove the Chill Drawer:
- Pull the chill drawer towards you by sliding it on the rails.
- Pull the chill drawer up from the rail and remove it from the fridge.

After the chill drawer has been removed, it can support a maximum 20 kg load.
The Fresh Dial (In some models)
If the crisper is full, the fresh dial located in front of the crisper should be opened. This allows the air in the crisper and the humidity rate to be controlled, to increase the life of food within.
The dial, located behind the shelf, must be opened if any condensation is seen on the glass shelf.
Visual and text descriptions in the accessories section may vary according to the model of your appliance.
PART – 3. ARRANGING FOOD IN THE APPLIANCE
Refrigerator compartment
- Fresh food compartment is the one marked (on the rating plate) with
. - To reduce humidity and avoid the consequent formation of frost, always store liquids in sealed containers in the refrigerator. Frost tends to concentrate in the coldest parts of the evaporating liquid and, in time, your appliance will require more frequent defrosting.
- Never place warm food in the refrigerator. Warm food should be allowed to cool at room temperature and should be arranged to ensure adequate air circulation in the refrigerator compartment.
- Make sure no items are in direct contact with the rear wall of the appliance as frost will develop and packaging will stick to it. Do not open the refrigerator door frequently.
- We recommend that meat and clean fish are loosely wrapped and stored on the glass shelf just above the vegetable bin where the air is cooler, as this provides the best storage conditions.
- Store loose fruit and vegetable items in the crisper containers.
- Store loose fruit and vegetables in the crisper.
- Storing fruit and vegetables separately helps prevent ethylene-sensitive vegetables (green leaves, broccoli, carrot, etc.) being affected by ethylene-releaser fruits (banana, peach, apricot, fig etc.).
- Do not put wet vegetables into the refrigerator.
- Storage time for all food products depends on the initial quality of the food and an uninterrupted refrigeration cycle before refrigerator storage.
- To avoid cross-contamination do not store meat products with fruit and vegetables.
Water leaking from meat may contaminate other products in the refrigerator. You should package meat products and clean any leakages on the shelves. - Do not put food in front of the air flow passage.
- Consume packaged foods before the recommended expiry date.
NOTE: Most efficient use of energy is ensured in the configuration with the drawers in the bottom part of the appliance, and shelves evenly distributed, position of door bins does not affect energy consumption.
NOTE: Potatoes, onions and garlic should not be stored in the refrigerator.
The table below is a quick guide to show you the most efficient way to store the major food groups in your refrigerator compartment.
| Food | Maximum storage time | How and where to store |
| Vegetables and fruits | 1 week | Vegetable bin |
| Meat and fish | 2 – 3 Days | Wrap in plastic foil, bags, or in a meat container and store on the glass shelf |
| Fresh cheese | 3 – 4 Days | On the designated door shelf |
| Butter and margarine | 1 week | On the designated door shelf |
| Bottled products e.g. milk and yoghurt | Until the expiry date recommended by the producer | On the designated door shelf |
| Eggs | 1 month | On the designated egg shelf |
| Cooked food | 2 Days | All shelves |
Freezer compartment
- Freezer compartment is the one marked with
. - The freezer is used for storing frozen food, freezing fresh food, and making ice cubes.
- Use the fast freezing shelf to freeze home cooking (and any other food which needs to be frozen quickly) more quickly because of the freezing shelf’s greater freezing power.
Fast freezing shelf is the drawer from the top of the freezer compartment. - For freezing fresh food; wrap and seal fresh food properly, that is the packaging should be air tight and shouldn’t leak. Special freezer bags, aluminum foil polythene bags and plastic containers are ideal.
- Do not store fresh food next to frozen food as it can thaw the frozen food.
- Before freezing fresh food, divide it into portions that can be consumed in one sitting.
- Consume thawed frozen food within a short period of time after defrosting
- Never place warm food in the freezer compartment as it will thaw the frozen food.
- Always follow the manufacturer’s instructions on food packaging when storing frozen food. If no information is provided food, should not be stored for more than 3 months from the date of purchase.
- When purchasing frozen food, make sure that it has been stored under appropriate conditions and that the packaging is not damaged.
- Frozen food should be transported in appropriate containers and placed in the freezer as soon as possible.
- Do not purchase frozen food if the packaging shows signs of humidity and abnormal swelling. It is probable that it has been stored at an unsuitable temperature and that
the contents have deteriorated. - The storage life of frozen food depends on the room temperature, the thermostat setting, how often the door is opened, the type of food, and the length of time required to transport the product from the shop to your home. Always follow the instructions printed on the packaging and never exceed the maximum storage life indicated.
- The maximum amount of fresh food (in kg) that can be frozen in 24 hours is indicated on the appliance label.
NOTE: If you attempt to open the freezer door immediately after closing it, you will find that it will not open easily. This is normal. Once equilibrium has been reached, the door will open easily.
Important note:
- Never refreeze thawed frozen food.
- The taste of some spices found in cooked dishes (anise, basilica, watercress, vinegar, assorted spices, ginger, garlic, onion, mustard, thyme, marjoram, black pepper, etc.) changes and they assume a strong taste when they are stored for a long period of time.
Therefore, add small amounts of spices to food to be frozen, or the desired spice should be added after the food has thawed. - The storage time of food is dependent on the type of oil used. Suitable oils are margarine, calf fat, olive oil and butter. Unsuitable oils are peanut oil and pig fat.
- Food in liquid form should be frozen in plastic cups and other food should be frozen in plastic folios or bags.
The table below is a quick guide to show you the most efficient way to store the major food groups in your freezer compartment.
| Meat and fish | Preparation | Maximum storage time (months) |
| Steak | Wrap in foil | 6 – 8 |
| Lamb meat | Wrap in foil | 6 – 8 |
| Veal roast | Wrap in foil | 6 – 8 |
| Veal cubes | In small pieces | 6 – 8 |
| Lamb cubes | In pieces | 4 – 8 |
| Minced meat | In packaging without using spices | 1 – 3 |
| Giblets (pieces) | In pieces | 1 – 3 |
| Bologna sausage/ salami | Should be kept packaged even if it has a membrane | 1 – 3 |
| Chicken and turkey | Wrap in foil | 4 – 6 |
| Goose and duck | Wrap in foil | 4 – 6 |
| Deer, rabbit, wild boar | In 2.5 kg portions or as fillets | 6 – 8 |
| Freshwater fish (Salmon, Carp, Crane, Catfish) | After cleaning the bowels and scales of the fish, wash and dry it. If necessary, remove the tail and head. | 2 |
| Lean fish (Bass, Turbot, Flounder) | 4 | |
| Fatty fishes (Tuna, Mackerel, Bluefish, Anchovy) | 2 – 4 | |
| Shellfish | Clean and in a bag | 4 – 6 |
| Caviar | In its packaging, or in an aluminium or plastic container | 2 – 3 |
| Snails | In salty water, or in an aluminium or plastic container | 3 |
| Vegetables and Fruits | Preparation | Maximum storage time (months) |
| String beans and beans | Wash, cut into small pieces and boil in water | 10 – 13 |
| Beans | Hull, wash and boil in water | 12 |
| Cabbage | Clean and boil in water | 6 – 8 |
| Carrot | Clean, cut into slices and boil in water | 12 |
| Pe er pp | Cut the stem, cut into two pieces, remove the core and boil in water | 8 – 10 |
| Spinach | Wash and boil in water | 6 – 9 |
| Cauliflower | Remove the leaves, cut the heart into pieces and leave it in water with a little lemon juice for a while | 10 – 12 |
| Eggplant | Cut into pieces of 2cm after washing | 10 – 12 |
| Corn | Clean and pack with its stem or as sweet corn | 12 |
| Apple and pear | Peel and slice | 8 – 10 |
| Apricot and Peach | Cut into two pieces and remove the stone | 4 – 6 |
| Strawberry and Blackberry | Wash and hull | 8 – 12 |
| Cooked fruits | Add 10 °A) of sugar to the container | 12 |
| Plum, cherry, sourberry | Wash and hull the stems | 8 – 12 |
| Maximum storage time (months) | Thawing time at room temperature (hours) | Thawing time in oven (minutes) | |
| Bread | 4- 6 | 2- 3 | 4-5 (220-225 °C) |
| Biscuits | 3 – 6 | 1 – 1,5 | 5-8 (190-200 °C) |
| Pastry | 1- 3 | 2- 3 | 5-10 (200-225 °C) |
| Pie | 1 – 1,5 | 3 – 4 | 5-8 (190-200 °C) |
| Phyllo dough | 2 – 3 | 1 – 1,5 | 5-8 (190-200 °C) |
| Pizza | 2 – 3 | 2 – 4 | 15-20 (200 °C) |
| Dairy products | Preparation | Maximum storage time (months) | Storage conditions |
| Packet (Homogenized) Milk | In its own packet | 2 – 3 | Pure Milk — in its own packet |
| Cheese – excluding white cheese | In slices | 6 – 8 | Original packaging may be used for short-term storage. Keep wrapped in foil for longer periods. |
| Butter, margarine | In its packaging | 6 | – |
PART – 4. CLEANING AND MAINTENANCE
Disconnect the unit from the power supply before cleaning.

Do not wash your appliance by pouring water on it.
Do not use abrasive products, detergents or soaps for cleaning theappliance. After washing, rinse with clean water and dry carefully. When you have finished cleaning, reconnect the plug to the mains supply with dry hands.
- Make sure that no water enters the lamp housing and other electrical components.
- The appliance should be cleaned regularly using a solution of bicarbonate of soda and lukewarm water.

- Clean the accessories separately by hand with soap and water.
Do not wash accessories in a dish washer.


- Clean the condenser with a brush at least twice a year.
This will help you to save on energy costs and increase productivity.

![]()
The power supply must be disconnected during cleaning.
Defrosting
Your refrigerator performs automatic defrosting. The water formed as a result of defrosting passes through the water collection spout, flows into the vaporisation container behind your refrigerator and evaporates there.
- Make sure you have disconnected the plug of your refrigerator before cleaning the vaporisation container.
- Remove the vaporisation container from its position by removing the screws as indicated. Clean it with soapy water at specific time intervals. This will prevent odours from forming.

Replacing LED Lighting
To replace any of the LEDs, please contact the nearest Authorised Service Centre.
Note: The numbers and location of the LED strips may change according to the model.
PART – 5. TRANSPORTATION AND CHANGING OF INSTALLATION POSITION
Transportation and Changing Positioning
- The original packaging and foam may be kept for re-transportation (optional).
- Fasten your appliance with thick packaging, bands or strong cords and follow the instructions for transportation on the packaging.
- Remove all movable parts (shelves, accessories, vegetable bins, and so on) or fix them into the appliance against shocks using bands when re-positioning or transporting.
Always carry your appliance in the upright position.

Repositioning the Door
- It is not possible to change the opening direction of your appliance door if door handles are installed on the front surface of the appliance door.
- It is possible to change the opening direction of the door on models without handles and models with handles mounted on the sides.
- If the door-opening direction of your appliance can be changed, contact the nearest Authorised Service Centre to change the opening direction.
PART – 6. BEFORE CALLING YOUR AFTER SALES SERVICE
Errors
Your fridge will warn you if the temperatures for the cooler and freezer are at improper levels or if a problem occurs with the appliance. Warning codes are displayed in the freezer and cooler indicators.
| ERROR TYPE | MEANING | WHY | WHAT TO DO |
| E01 | Sensor warning | – | Call Service for assistance as soon as possible. |
| E02 | |||
| E03 | |||
| E06 | |||
| E07 | |||
| E08 | Low Voltage Warning | Power supply to the device has dropped to below 170 V. | – This is not a device failure, this error helps to prevent damages to the compressor. – The voltage needs to be increased back to required levels If this warning continues an authorised technician needs to be contacted. |
| E09 | Freezer compartment is not cold enough | Likely to occur after long term power failure. Hot food has been left in the fridge. First time the appliance has been switched on. | 1. Set the freezer temperature to a colder value or set Super Freeze. This should remove the error code once the required temperature has been reached. Keep doors closed to improve time taken to reach the correct temperature. 2. Remove any products which have thawed/defrosted during this error. They can be used within a short period of time. 3. Do not add any fresh produce to the freezer compartment until the correct temperature has been reached and the error is no longer. If this warning continues an authorised technician needs to be contacted. |
| E10 | Fridge compartment is not cold enough | Likely to occur after: – Long term power failure. – Hot food has been left in the fridge. – First time the appliance has been switched on. | 1. Set the fridge temperature to a colder value or set Super Cool. This should remove the error code once the required temperature has been reached. Keep doors closed to improve time taken to reach the correct temperature. 2. Please empty the location at the front area of air duct channel holes and avoid putting food close to the sensor. If this warning continues an authorised technician needs to be contacted. |
| E11 | Fridge compartment is too cold | Various | 1. Check is Super Cool mode is activated 2. Reduce the fridge compartment temperature 3. Check to see if vents are clear and not clogged If this warning continues an authorised technician needs to be contacted. |
If you are experiencing a problem with your refrigerator, please check the following before contacting the after-sales service.
Your refrigerator does not operate
Check if:
- Your fridge is plugged in and switched on
- The fuse has blown
- Is the temperature adjustment right?
- The socket is faulty. To check this, plug another working appliance into the same socket.
Your refrigerator is performing poorly
Check if:
- Is the temperature adjustment right?
- Is the door of your fridge opened frequently and left open for a long while?
- The appliance is overloaded
- The doors are closed properly
- Did you put a dish or food on your fridge so that it contacts the rear wall of your fridge so as to prevent the air circulation?
- Is your fridge filled excessively?
- There is an adequate distance between the appliance and surrounding walls
- Is the ambient temperature within the range of values specified in the operating manual?
Your refrigerator is operating noisily
The following noises can be heard during normal operation of the appliance.
Cracking (ice cracking) noise occurs:
- During automatic defrosting.
- When the appliance is cooled or warmed (due to expansion of appliance material).
Clicking noise occurs: When the thermostat switches the compressor on/off.
Motor noise: Indicates the compressor is operating normally. The compressor may cause more noise for a short time when it is first activated.
Bubbling noise and splashing occurs: Due to the flow of the refrigerant in the tubes of the system.
Water flowing noise occurs: Due to water flowing to the evaporation container. This noise is normal during defrosting.
Air blowing noise occurs: During normal operation of the system due to the circulation of air.
There is a build-up of humidity inside the fridge
Check if:
- All food is packed properly. Containers must be dry before being placed in the fridge.
- The fridge doors are opened frequently. Humidity of the room will enter the fridge each time the doors are opened. Humidity increases faster if the doors are opened frequently, especially if the humidity of the room is high.
- There is a build-up of water droplets on the rear wall. This is normal after automatic defrosting (in Static Models).
The doors are not opening or closing properly
Check if:
- There is food or packaging preventing the door from closing
- The door compartments, shelves and drawers are placed properly
- The door gaskets are broken or torn
- Your fridge is level.
The edges of the fridge in contact with the door joint are warm
Especially during summer (warm weather), the surfaces in contact with the door joint may become warmer during operation of the compressor. This is normal.
Important Notes:
- In the case of a power failure, or if the appliance is unplugged and plugged in again, the gas in the cooling system of your refrigerator will destabilise, causing the compressor protective thermal element to open. Your refrigerator will start to operate normally after 5 minutes.
- If the appliance will not be used for a long period of time (such as during holidays), disconnect the plug. Defrost and clean the refrigerator, leaving the door open to prevent the formation of mildew and odour.
- If the problem persists after you have followed all the instructions above, please consult the nearest Authorised Service Centre.
- This appliance is designed for domestic use and for the stated purposes only. It is not suitable for commercial or common use. If the consumer uses the appliance in a way that does not comply with these instructions, we emphasise that the manufacturer and the dealer will not be responsible for any repair or failure within the guarantee period.
Hints for Energy Saving
- Install the appliance in a cool, well-ventilated room, but not in direct sunlight and not near a heat source (such as a radiator or oven) otherwise an insulating plate should be used.
- Allow warm food and drinks to cool before placing them inside the appliance.
- Place thawing food in the refrigerator compartment. The low temperature of the frozen food will help cool the refrigerator compartment while the food is thawing. This will save energy. Frozen food left to thaw outside of the appliance will result in a waste of energy.
- Drinks or other liquids should be covered when inside the appliance. If left uncovered, the humidity inside the appliance will increase, therefore the appliance uses more energy.
Keeping drinks and other liquids covered helps preserve their smell and taste. - Avoid keeping the doors open for long periods and opening the doors too frequently as warm air will enter the appliance and cause the compressor to switch on unnecessarily often.
- Keep the covers of the different temperature compartments (such as the crisper and extra chill drawer) closed.
- The door gasket must be clean and pliable. In case of wear, if your gasket is detachable, replace the gasket. If not detachable, you have to replace the door.
- Eco mode / default setting function preserves fresh and frozen foods while saving energy.
- Fresh Food Compartment (Fridge): Most efficient use of energy is ensured in the configuration with the drawers in the bottom part of the appliance, and shelves evenly distributed, position of door bins does not affect energy consumption.
- Frozen Compartment (Freezer): The internal configuration of the appliance is the one that ensures the most efficient use of energy.
- Do not remove the cold accumulators from the freezer basket (if present.).
PART – 7. THE PARTS OF THE APPLIANCE AND THE COMPARTMENTS

This presentation is only for information about the parts of the appliance. Parts may vary according to the appliance model.
| A) Refrigerator compartment B) Freezer compartment 1) Thermostat box / Interior display 2) Wine rack * 3) Refrigerator shelves 4) Extra Chill Drawer * 5) Crisper cover 6) Crisper 7) Freezer upper basket | 8) Freezer midle basket 9) Freezer bottom basket 10) Levelling feet 11) Ice box tray 12) Freezer glass shelves * 13) Bottle shelf 14) Door shelves 15) Egg holder |
PART – 8. TECHNICAL DATA
The technical information is situated in the rating plate on the internal side of the appliance and on the energy label.
The QR code on the energy label supplied with the appliance provides a web link to the information related to the performance of the appliance.
Keep the energy label for reference together with the user manual and all other documents provided with this appliance.
PART – 9. INFORMATION FOR TEST INSTITUTES
Installation and preparation of the appliance for any EcoDesign verification shall be compliant with BS EN 62552. Ventilation requirements, recess dimensions and minimum rear clearances shall be as stated in this User Manual at PART 1. Please contact the manufacturer for any other further information, including loading plans.






















