FIAMMA 02096-26 Carry Bike DJ For Rear Door
Bicycles Carrier Product Information
The Bicycles Carrier is a device designed for transporting bicycles safely and easily. It is suitable for use with several vehicles, including Fiat Ducato, Mercedes Sprinter, VW Crafter, and Ford Transit. The carrier can carry up to 35kg of weight and comes with an alphanumeric code for easy identification and reference. The product is packaged with all necessary parts included, such as upper and lower rail support bases, license plate carrier, and fixing bars. The carrier has a maximum limit of 12cm and weighs 18kg or 17kg for different models.
Bicycles Carrier Usage Instructions
- Before installing the carrier, inspect the package contents to ensure nothing has been damaged or deformed during transport. If there are any doubts or questions regarding the installation, use, or limitations of the product, contact the dealer.
- We recommend that the installation of the carrier should be done by qualified personnel and in compliance with current local regulations. Follow the instructions provided in the manual for proper installation and usage.
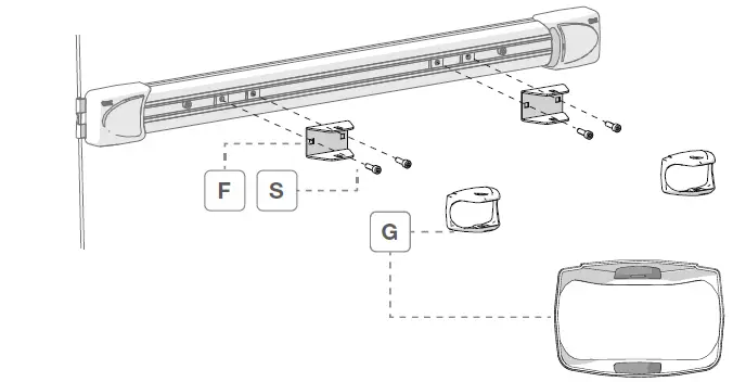
- For installation of the fixing bars, refer to the dedicated instructions provided in the manual. When installing upper and lower rail support bases, make sure not to tighten the fork to the tube completely; leave a 2mm space to avoid damage.
- If there are any problems with the carrier, contact your local dealer, providing data on the nameplate. Spare parts drawings are available on our website for easy reference.
- Ensure that the limit of 12cm is not exceeded when using the carrier. Always check if the bicycles are properly secured before using the carrier.
- Follow all safety precautions provided in the manual when installing and using the carrier.
PARTS

TOOLS

DIMENSION



Check that nothing has been damaged or deformed during transport. In the event of doubts or questions concerning the installation, use or limitations of the product, contact the dealer. We recommend that the installation is carried out by qualified personnel and in incompliance with current local regulations.
INSTALLATION INSTRUCTIONS

For installation of the fixing bars, please refer to the dedicated instructions.
UPPER

LOWER




WARNING

- Do not fully tighten the fork to the tube, leave 2mm space.

FITTING





In case of problems please contact your local dealer indicating the data on the nameplate. Consult our website for spare parts drawing.
SYMBOLS

WARNINGS
- Read the following instructions and warnings carefully; failure to observe these installation and usage instructions as well as the laws for driving in the relevant country may cause severe harm or damage for which the manufacturer declines all responsibility. Before installation, ensure compatibility with the vehicle on which the product must be installed.
- In the event of an accident involving the vehicle and/or the product, ensure that the product has not been damaged. In the event of damage, contact your local retailer before moving the vehicle.
- Fiamma declines every responsibility for any modification of the product that may cause damage and/or injury to things and people.
- Checking that the wall/rear door is sufficiently solid and suitable for guaranteeing the resistance of the anchoring points is always mandatory. If not, strength and compliance with the maximum load indicated in the instructions are not guaranteed and it will be necessary to reinforce these points.
- After having positioned the Carry-Bike on the rear axle of the vehicle, the normal weight distribution on both axles would be modified. This variation must not exceed the maximum permissible axle load.
- Never exceed the maximum permitted length and the total weight of the full-load vehicle.
- Make sure that loading occurs following a correct weight distribution; it must be uniformly distributed (the heaviest bike must be placed near the wall of the vehicle) to ensure better stability.
- Always give warnings about the presence of the Carry-Bike on your vehicle, using a clear signal for leaning loads and, in case of limited rear visibility, use the additional rear-view mirrors.
- Take into account the presence of the Carry-Bike, paying attention during driving and expecially during reversing maneuvers, particularly if you have parking assist system.
- Always comply with speed limits and the Highway Code.
- The speed should always be suitable to traffic conditions and towed load.
- In case of use of the bike carrier with tow make sure that the tow hook is always accessible and the corner mobility of the tow is guaranteed (volume measuring din 74058).
- Check periodically the bicycle rack to make sure it is firmly attached, especially during the first kilometers of after long trips to avoid damage of the Carry-Bike/vehicle. Make sure the belts are not loose and that the holding brackets have not shifted. Replace worn components immediately.
- During Carry-Bike installation, verify that there is enough distance between handlebars and/or pedals and the vehicle’s rear windows in order to avoid any damages of the window van; do not leave accessories attached (bay seats, baskets, etc) because vibrations could disengage bikes.
- In some cases, the rear windscreen wiper may not work due to the presence of bicycles. Be aware of the brush radius before operating the windscreen wiper.
- On this type of Carry-Bike, bike covers are not allowed (Bike Cover).
- In the version with intermediate and lowered rail support position, the use of the license plate carrier bar with lights is required.
- Rear door opens even with bikes mounted.
- It is recommended to rotate the handlebars of bicycles to avoid damage to the vehicle wall, for which Fiammadeclines all responsibility.
Warranty Fiamma
In case of defects with regard to materials and manufacturing, the customer is entitled to the warranty in accordance with local laws and regulations of the country in which the product was purchased.

Fiamma S.p.A. – Italy
- Via San Rocco, 56
- 21010 Cardano al Campo (VA)
All rights reserved.
Fiamma S.p.A. reserves the right to modify at any time, without notice, prices, materials, specifications and models or to cease production of any model.
M0_IS_98690M081_revA

















