Mimaki JFX550-2513 LED-UV Flatbed Inkjet Printer

Introduction
Thank you for purchasing the UV-LED curable inkjet printer JFX550-2513, JFX600-2513.
Read the safety precautions (“this document” hereinafter) thoroughly and make sure you understand its contents to ensure safe and correct use of the product.
Please note that the illustrations contained in this manual are intended to show functions, procedures, or operations and may sometimes differ slightly from the actual machine.
Unauthorized reproduction of any portion of this document is strictly prohibited.
© 2021 MIMAKI ENGINEERING Co., Ltd
Disclaimers
- Mimaki Engineering accepts no liability for damages arising directly or indirectly from the use of the JFX550-2513, JFX600-2513 (“this machine” hereinafter), whether or not the product is faulty. Mimaki Engineering rejects all liability for damages, direct or indirect, resulting from the use of this machine.
- Mimaki Engineering rejects all liability for damages, direct or indirect, attributable to materials created while using this machine.
- Using this machine in conjunction with devices other than those recommended by Mimaki Engineering may result in fire or accidents. Such incidents are not covered by the product warranty. Mimaki Engineering rejects all liability for damages, direct or indirect,arising from such incidents.
- Use only genuine Mimaki Engineering ink and maintenance liquid. Use of other products may result in failures or reduce print quality. Such incidents are not covered by the product warranty. Mimaki Engineering rejects all liability for damages, direct or indirect, arising from such incidents.
- Do not attempt to refill the ink bottles with unauthorized ink. Such incidents are not covered by the product warranty. Mimaki Engineering rejects all liability for damages, direct or indirect, arising from such incidents.
- Use only genuine Mimaki Engineering anti freezing liquid.. Use of other anti freezing liquid may cause failures or reduce print quality. Such incidents are not covered by the product warranty. Mimaki Engineering rejects all liability for damages, direct or indirect, arising from such incidents.
- Avoid using UV-LED units or UV power supply units other than those specified by Mimaki Engineering.Using devices other than genuine Mimaki Engineering devices may result in failure, electric shock, or fire. Such incidents are not covered by the product warranty. Mimaki Engineering rejects all liability for damages, direct or indirect, arising from such incidents.
TV and radio interference
 | - This product emits high-frequency electromagnetic radiation while operating. Under certain circumstances, this may result in TV or radio interference. We make no guarantee that this machine will not affect special radio or TV equipment.
|
If radio or TV interference occurs, check the radio or TV reception after turning off this machine. If the interference disappears when the power is turned off, this machine is likely to be the cause of the interference.
Try any of the following solutions or combinations of these solutions:
- Change the orientation of the TV or radio antenna to find a position where interference does not occur.
- Move the TV or radio away from this machine.
To Ensure Safe Use
Symbols
In this manual, the symbols indicate and explain precautions. Make sure you fully understand the meaning of each symbol and use the machine safely and correctly.
Usage Precautions
- In the event of abnormal conditions
 |
 | - In the event of abnormal conditions such as smoke or unusual odor, turn off the main power immediately and unplug the power cable. Continuing to use the product under these conditions may result in failure, electric shock, or fire. Once you have confirmed that smoke is no longer being emitted, contact your local dealer or our service office. Never attempt to repair the product yourself. Doing so is hazardous.
|
 |
 | - Immediately wipe off any ink, maintenance liquid, waste ink, or other liquid used with the product that comes into contact with your skin. Then wash using soap, and rinse with plenty of water. Failure to wash off ink may result in skin inflammation. If your skin becomes irritated or painful, seek medical attention immediately.
- If ink, maintenance liquid, waste ink, or any other liquid used in the product comes into contact with your eyes, rinse immediately with plenty of clean water. Rinse for at least 15 minutes. If you wear contact lenses and they can be easily removed, remove after rinsing for at least 15 minutes with clean water. Be sure to also rinse the undersides of your eyelids. Failure to rinse off ink may result in blindness or impaired vision. If your eyes become irritated or painful, seek medical attention immediately.
- If ink, maintenance liquid, waste ink, or any other liquid used in the product enters your mouth or is swallowed, gargle with water immediately. Do not induce vomiting. Seek medical attention promptly. Inducing vomiting may cause liquid to enter the airway.
- If a large amount of vapor is inhaled, move to a well-ventilated area, keep warm, and rest in a posture that allows easy breathing. If the condition does not improve, seek medical attention promptly
|
 |
 | - If an ink leak occurs, turn off the main power immediately and unplug the power cable. And then, contact your local dealer or our service office.
|
Up to machine number 20 of the JFX600-2513 model, the power connection utilizes a socket. From machine number 21 of the JFX600-2513 model and for the JFX550-2513 model,machines are connected directly from the switchboard to the terminal block. For more information on electrical works, refer to Connecting the Power.
 |
 | - Always grasp the socket directly when unplugging the power cable. Pulling on the power cable itself may damage the cable and result in failure, electric shock, or fire.
- Remove excessive dust from sockets before use. Otherwise there is a risk of failure, electric shock, or fire.
- Do not allow metal objects to contact the socket interior. Otherwise there is a risk of failure, electric shock, or fire.
- Do not attempt to modify the cable. Avoid damaging the cable. Avoid placing heavy objects on the power cable or pulling on or exposing the cable to heat. Doing so may damage the cable, resulting in electric shock or fire.
- Do not use if the power cable appears to be damaged or the core wire has an exposed or broken core. Otherwise there is a risk of failure, electric shock, or fire.
|
 | - Do not handle the power socket with wet hands. Doing so may result in electric shock.
|
 | - Always connect the machine to a switchboard with grounded polarity. Otherwise there is a risk of failure, electric shock, or fire. All electrical work (Class C grounding work; formerly Type 3 grounding work) must be handled by a licensed electrician.
|
 |
 | - Do not turn off the main power supply for the machine or control PC. Turning off the power supply will disable the automatic maintenance function (including nozzle clogging prevention and ink discharge channel cleaning functions). This will increase the risk of print defects (e.g., nozzle clogging, deflection).

|
 | - Use this machine with a power supply that meets specifications.
- Insert the power socket until it clicks into place.
|
 |
 | - Do not attempt to disassemble or repair the vacuum unit. Doing so may reduce the vacuum strength or cause abnormal heat generation or failure of this machine.
|
 | - Avoid touching the relief valve (pressure regulating valve) or blocking the exhaust port of the vacuum unit (immediately below the table). Doing so may reduce the vacuum strength or cause abnormal heat generation or failure of this machine.

|
 | - Use at low temperature may cause the vacuum unit to generate a high-pitched noise. This does not indicate a failure.
|
- Do not stand or sit on the table
 |
 | • Never stand or sit on the table. Disregarding this precaution may impair the precision of the board surface and affect print quality. |
- Caution regarding moving parts
 |
 | - Keep parts of the body such as the face and hands away from moving parts. Also keep clothing (e.g., loose clothing and accessories) that may impede work away from the machine. Failure to do so may result in injury
|
 | - Long hair should be tied back. Failure to do so may result in injury.
|
- Do not disassemble or repair
 |
 | • Do not attempt to disassemble or repair this machine. Otherwise there is a risk of failure, electric shock, or fire. |
- Ultraviolet light (UV) and the UV-LED unit
 |
 | - Do not place combustible materials underneath UV-LED unit or cover the UV-LED unit with paper or cloth. Disregarding this precaution may result in fire or smoldering
|
 | - Small amounts of ultraviolet light may leak from the UV-LED unit. Wear UV safety glasses, face shields, masks, gloves, and long-sleeved clothing to protect the eyes and skin from ultraviolet light.
(1) Exposure to ultraviolet light may result in skin inflammation. Even if no inflammation occurs, extended or repeated exposure may lead to chronic problems. - Acute problems: Inflammation
- Chronic problems: Skin cancer, wrinkles, blotches
(2) Looking directly at the lamp while the lamp is on may result in eye pain or damage to eyesight. Even if no eye pain occurs, extended or repeated exposure may lead to chronic problems. • Acute problems: Ultraviolet keratitis, conjunctivitis, discomfort, pain, watery eyes - Chronic problems: Pterygium, cataracts
|
 |
 | - The UV-LED unit becomes extremely hot. Be careful not to touch the LED after it has been turned off until it has sufficiently cooled.
|
 | - Do not expose the skin or eyes directly or indirectly to light from the UV-LED unit. The UV-LED unit emits ultraviolet (UV) light. Skin or eye exposure may result in inflammation.
|
 | - Be sure to use the UV safety glasses provided. Disregarding this precaution may result in eye pain or damage to eyesight.
|
 |
 | - Avoid scratching or subjecting the UV-LED unit to excessive force. Disregarding this precaution may result in deformation or failure of the unit.
- Avoid touching the glass on the underside of the UV-LED unit with bare hands. Disregarding this precaution may impair UV ink curing. If the glass becomes dirty, wipe clean using a soft, clean cloth soaked with ethanol. Be careful to keep ethanol from splashing on the covers or other parts while cleaning. Disregarding this precaution may result in deformation or failure of the unit
|
 |
 | - Do not press, rub, or push the touch panel with excessive force.
- Do not tap the touch panel with a ball-point pen or other hard metal object.
- Do not touch the black outer frame of the screen.
- Do not affix objects such as tape or labels to the touch panel screen or the black outer frame. Disregarding this precaution may result in loss of sensitivity or prevent operation.
 - Immediately wipe off any liquid on the touch panel.
- Do not allow any liquid to get inside the touch panel gaps.
|
 |
 | - Keep children away from this machine
|
 |
 | - Please contact your local retailer or service agent.
- When disposing of the product yourself, contact an industrial waste disposal operator or dispose of the product in accordance with local laws and regulations.
|
 |
 | - The monitor arm can support a maximum weight of 8 kg. Do not mount any monitor other than the specified model. The arm may be damaged.
- The monitor arm equipped with a touch panel protrudes from the front of the machine. Take care to prevent injury by bumping into the monitor arm or touch panel while working
|
 |
 | - The display angle and orientation of the touch panel can be adjusted by changing the angle of the monitor arm. When adjusting the angle of the monitor arm, make sure that it does not interfere with the movement of the carriage or printing.
|
Usage Restrictions
 |
 | - This machine poses significant safety hazards due to the high-speed movement of the carriage from side to side, Y-bar movements, sections with high temperatures and hazardous voltages, and the UV-LED. Use of the machine is restricted to operators with a thorough understanding of the hazards involved.
|
 | - Physically sequester the machine—for example, in a special room or area surrounded by safety fences. Take appropriate steps to clearly indicate that this is a hazardous area. (1) A special room door should incorporate a key or interlock. (2) Safe fences must conform to the EN ISO 13857 standards.
|
 | - Take appropriate steps to keep all those other than personnel who have undergone our risk assessment training and persons trained by such personnel out of restricted areas. Moreover, when the machine is in motion, such as during printing or when the carriage, Y-bar, or other parts are moving, block all entry to restricted areas, regardless of training.

|
 | - Take appropriate steps to prevent all those other than personnel who have undergone our risk assessment training and persons trained by such personnel from handling the machine. Failure to do so may result in injury.
|
Hazardous and Prohibited Actions
When the power is on, avoid any of the following hazardous actions: Serious injury (crushing or shearing) may result if the carriage moves, as during routine maintenance.
- Maintain a safe distance from the area behind the Y-bar.
 | - Do not walk behind the Y-bar when the power is on. The Y-bar may begin moving, leading to potential accidents.
|
- Keep your face, hands, and all other body parts at a safe distance from the carriage area
 | - Do not bring your face, hands, or any other part of your body close to or into the gap between the carriage and Y-bar.
 - Do not bring your face, hands, or any other part of your body close to or into the gap between the carriage and table or station.

|
- Keep your face, hands, and all other body parts at a safe distance from the gap between the Y-bar and table.
 | - Do not move your face, hands, or any other body parts close to or into the gap between the Ybar and table.

|
- Keep your face, hands, and all other body parts at a safe distance from moving parts.
 | - Do not move your face, hands, or any other body parts close to or into the gap between the Ybar and belt.

|
- Keep your face, hands, and all other body parts at a safe distance from the cable carrier section.
 | - Do not move your face, hands, or any other body parts close to or into the cable carrier section below the Y-bar and table. Avoid placing objects close to or into the cable carrier section below the Y-bar and table.

|
- Keep your face, hands, and all other body parts at a safe distance from the area under the table
 | - Do not move under the table or bring your face, hands, or any other body parts into the space under the table.
|
- Keep hands and other objects off the table
 | - Do not place your face, hands, other body parts, or any objects besides media (Specifications) on the table.

|
- Keep your eyes averted from the UV-LED
 | - Avoid looking directly at the UV-LED. The carriage is roughly at eye level when you are seated. Take special care if you work while seated.

|
- Maintain a safe distance while the carriage is operating.
 | - Do not forcibly move the carriage while it is moving (during printing, cleaning, or other operations).
|
Ink or Any Other Liquid Used with the Machine
Precautions regarding ink, maintenance liquid, or other liquids used with this machine are indicated on the containers. Thoroughly read them and make sure you understand the contents.
 |
 | - Take steps to prevent leakage into natural water systems or domestic wastewater. Some constituents are toxic to aquatic life.
|
 |
 | - Be sure to read the safety data sheet (SDS) before use. https://mimaki.com/supply/sds
|
   | - Pay close attention to ventilation and be sure to wear safety glasses, gloves, and a mask when handling ink, maintenance liquid, waste ink, or other solutions used with this machine. Leaking ink may adhere to the skin or get into the eyes or mouth.
|
 | - Use only genuine Mimaki Engineering anti freezing liquid. Use of other anti freezing liquid may cause failures of the cooling unit.
- Take care to prevent any potential sources of ignition such as sparks caused by static electricity or material impacts.
- Be sure to dispose of any unneeded anti freezing liquid in the following manner.
(1) Soak it up with materials such as sawdust or rags and burn them in an incinerator. (2) Pass them onto a licensed industrial waste disposal company after clearly indicating their contents.
|
 | - Do not subject Ink bottle to strong shocks or violent shaking. Do not attempt to refill the ink. Leaking ink may adhere to the skin or get into your eyes or mouth.
|
 | - Do not disassemble Ink bottle. Leaking ink may adhere to the skin or get into your eyes or mouth.
|
 | - Avoid storing this product in locations accessible to children
|
 | - When disposing of the product, contact an industrial waste disposal operator or dispose of the product in accordance with the local laws and regulations.
|
 |
 | - Do not use ink, maintenance liquid, or other liquids used with this machine with other printers. Disregarding this precaution may result in damage to the printer.
- Do not touch the metal parts of the ink IC chip. Static electricity may damage the ink IC chip, and dirt or damage may make the ink IC chip unreadable.
|
 | - Store in a low place no higher than 1 m above the floor. Dropping this machine may result in splashing ink.
- Store in sealed containers.
- Store in a cool and dark place.
(1) Store ink in an environment where it will not freeze. Note that using thawed ink may affect printing quality due to ink degradation. (2) When moving ink from cold to warm locations, allow to stand for at least three hours before use in the same conditions as the machine. (3) Open the ink before use and use up as quickly as possible. Print quality may degrade if the bottles are left open for extended periods
|
 | - Printing is not possible when different types of ink IC chips are used.
- If the ink bottle mounted on the machine is dented, it may still be used.

|
 | - Do not expose ink, maintenance liquid, and other liquids used with the machine to direct sunlight.
- Do not store ink, maintenance liquid, or other liquids used with the machine in environments where cutting fluid or other volatile substances (such as amines or modified amine alcohol) are present in significant quantities. Storage in such places increases the risk of failure or printing defects (e.g., nozzle clogging, deflection).
|
Restrictions Concerning the Product
The ink expiration date is indicated on the Ink bottle. Expired ink may cause printing defects or alter the color tone. Printing is possible even if the ink has passed its expiration date. Nevertheless, we recommend replacing with new ink or using up as quickly as possible.
Example: When the expiration date is April 2021
- May: Replace with new ink or use up as quickly as possible. Printing is possible.
- June: Replace with new ink or use up as quickly as possible. Printing is possible.
- July: Printing is not possible.
Installation Precautions
 |
 | • Do not install this machine in environments where flammable substances are present (e.g., gasoline, flammable spray, alcohol, thinner, lacquer, or powder). This machine is not explosionproof. The product poses a risk of explosion |
 | • Do not install this machine in locations where open flames are present. The ink may ignite. • Do not place vases, pot plants, cups, cosmetics, containers of chemicals or water, or small metal objects on top of this machine. There is a risk of failure, electric shock, or fire if liquids or items drop inside the machine. |
 | Do not install this machine in humid locations or locations where it may be exposed to splashing water. Otherwise there is a risk of failure, electric shock, or fire. |
 | Avoid installing this machine in locations accessible to children. |
 |
 | - A ventilation system must be provided if this machine is installed in a poorly ventilated area or sealed room.
- Be sure to observe the following points when installing an extractor outlet:
(1) The extractor outlet must be installed in accordance with applicable local EHS (environmental, health, and safety) guidelines. (2) If the extractor outlet is fitted with a shutoff valve, the valve must be open when this machine is in use.
|
 |
 | - Do not install this machine in locations where dust or powder is present. Failure or printing defects may result (e.g., nozzle clogging, deflection) if dust gets inside this machine.
- Do not install this machine in locations exposed to drafts (e.g., from air conditioning). Disregarding this precaution may result in dust or powder getting inside this machine.
- Do not install this machine in unstable locations or locations subject to vibration. This will increase the risk of failure or printing defects (e.g., nozzle clogging, deflection).
- Do not install this machine in locations exposed to direct sunlight.
- Do not install this machine in locations subject to sudden temperature changes. This will increase the risk of failure or printing defects (e.g., nozzle clogging, deflection).
- Do not install this machine in locations exposed to excessive noise from large machinery.
- Do not install this machine in locations where photographic fixing agents generate vapor or acid gas (e.g., acetic acid, hydrochloric acid) or locations filled with metal working fluids or highly volatile substances (e.g., amines, amine-modified alcohols). Malfunctions or printing defects may result (e.g., nozzle clogging, deflection) as print head ink is more likely to harden under such environments
|
 | - Operating environment: 20°C to 30°C (68°F to 86°F), 35%RH to 65%RH (no condensation)
- Temperature range in which accuracy is guaranteed: 20°C to 25°C (68°F to 77°F)
|
Installation Space
Provide the following space around the machine to allow safe and proper replacement of ink and media:
| Item | JFX600-2513 | JFX550-2513 |
| Width*1 | At least 7,400 mm (not exceeding 5,400 mm) |
| Depth*1 | At least 5,400 mm (not exceeding 3,400 mm) |
| Height*1 | (Not exceeding 1,700 mm) |
| Weight | (Not exceeding 1,200 kg) |
1. The values shown in parentheses indicate the size of the machine when the touch panel is included.

 | - Physically sequester the machine—for example, in a special room or area surrounded by safety fences. Take appropriate steps to clearly indicate that this is a hazardous area.
(1) A special room door should incorporate a key or interlock. (2) Safe fences must conform to the EN ISO 13857 standards.
|
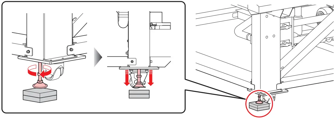
Adjuster Feet
Before turning the machine on, make sure the adjuster feet are secured firmly. If any adjuster foot is loose, the machine may move during printing, resulting in injuries.

 | - Do not remove the floor plate (made of resin, color: gray). The floor plate helps distribute the weight of the machine.
|
When Relocating This Machine
Contact your local dealer or our service office. Attempting to handle relocation yourself may result in failure or damage.
Warning Label
Make sure you fully understand the details indicated on the various warning labels.
If any of the warning labels becomes dirty and illegible or peel off, contact your local dealer or our service office to request new warning labels.

| No. | Order code | Label |
| 1 | M909381 |  |
| 2 | M903330 |  |
| 3 | M906115 |  |
| 4 | M902663 |  |
| 5 | M905980 |  |
| 6 | M917293 (JFX600) M917294 (JFX550) |  |
| 7 | M909385 |  |
| 8 | M903281 |  |
| 9 | M907935 |  |
| 10 | M903764 |  |
| 11 | M917898 |  |
| 12 | M917420 |  |
Safety precautions
February, 2022
MIMAKI ENGINEERING CO.,LTD.
2182-3 Shigeno-otsu, Tomi-shi, Nagano 389-0512 JAPAN
