USER MANUAL
The Frame
LS03R SERIES LS03R SÉRIE
Thank you for purchasing this Samsung product.
To receive more complete service, please register your product at www.samsung.com
Model __________________ Serial No.__________________
If you have any questions, please call us at 1-800-SAMSUNG (1-800-726-7864) for assistance.
LS03R SERIES
Before Reading This User Manual
This TV comes with this user manual and an embedded e-Manual. Before reading this user manual, review the following:
![]() | User Manual | Read this provided user manual to see information about product safety, installation, accessories, initial configuration, and product specifications. |
![]() | e-Manual | For more information about this TV, read the e-Manual embedded in the product. • To open the e-Manual, |
On the website (www.samsung.com), you can download the manuals and see its contents on your PC or mobile device.
Learning the e-Manual’s assistance functions
| Search | Select an item from the search results to load the corresponding page. | |
| Index | Select a keyword to navigate to the relevant page. | |
| Recently Viewed Topics | Select a topic from the list of recently viewed topics. |
• Some menu screens cannot be accessed from the e-Manual.
| Try Now | Allows you to access the corresponding menu item and try out the feature right away. | |
| Link | Access an underlined topic referred to on an e-Manual page immediately. |
Warning! Important Safety Instructions
Please read the Safety Instructions before using your TV.
Refer to the table below for an explanation of symbols that may be on your Samsung product.
| CAUTION | Class II product: This symbol indicates that a safety connection to electrical earth (ground) is not required. If this symbol is not present on a product with a power cord, the product MUST have a reliable connection to protective earth (ground). | ||
| RISK OF ELECTRIC SHOCK. DO NOT OPEN. | |||
| CAUTION: TO REDUCE THE RISK OF ELECTRIC SHOCK, DO NOT REMOVE COVER (OR BACK). THERE ARE NO USER-SERVICEABLE PARTS INSIDE. REFER ALL SERVICING TO QUALIFIED PERSONNEL. | AC voltage: Rated voltage marked with this the symbol is AC voltage. | ||
| This symbol indicates that high voltage is present inside. It is dangerous to make any kind of contact with any internal part of this product. | DC voltage: Rated voltage marked with this symbol is DC voltage. | ||
| This symbol indicates that this product has included important literature concerning operation and maintenance. | Caution. Consult instructions for use: This symbol instructs the user to consult the user manual for further safety-related information. | ||
- The slots and openings in the cabinet and in the back or bottom are provided for necessary ventilation. To ensure the reliable operation of this apparatus and to protect it from overheating, these slots and openings must never be blocked or covered.
– Do not place this apparatus in a confined space, such as a bookcase or built-in cabinet, unless proper ventilation is provided.
– Do not place this apparatus near or over a radiator or heat register, or where it is exposed to direct sunlight.
– Do not place vessels (vases etc.) containing water on this apparatus, as this can result in a fire or electric shock. - Do not expose this apparatus to rain or place it near water (near a bathtub, washbowl, kitchen sink, or laundry tub, in a wet basement, or near a swimming pool, etc.). If this apparatus accidentally gets wet, unplug it and contact an authorized dealer immediately.
- This apparatus uses batteries. In your community, there might be environmental regulations that require you to dispose of these batteries properly. Please contact your local authorities for disposal or recycling information.
- Do not overload wall outlets, extension cords, or adaptors beyond their capacity, since this can result in fire or electric shock.
- Power-supply cords should be placed so that they are not likely to be walked on or pinched by items placed upon or against them. Pay particular attention to cords at the plug end, at wall outlets, and at the point where they exit from the appliance.
- To protect this apparatus from a lightning storm, or when left unattended and unused for long periods of time, unplug it from the wall outlet and disconnect the antenna or cable system. This will prevent damage to the set due to lightning and power-line surges.
- Before plugging in the AC power cord of the TV, make sure that the operating voltage of the TV matches the voltage of your local electrical power supply. Refer to the power specifications section of the manual and/or the power supply label on the product for voltage and amperage information.
- Never insert anything metallic into the open parts of this apparatus. This may cause a danger of electric shock.
- To avoid electric shock, never touch the inside of this apparatus. Only a qualified technician should open this apparatus.
- Be sure to plug in the power cord until it is firmly seated. When unplugging the power cord from a wall outlet, always pull on the power cord’s plug. Never unplug it by pulling on the power cord. Do not touch the power cord with wet hands.
- If this apparatus does not operate normally – in particular, if there are any unusual sounds or smells coming from it – unplug it immediately and contact an authorized dealer or Samsung service center.
- Be sure to pull the power plug out of the outlet if the TV is to remain unused or if you are going to leave the house for an extended period of time (especially when children, elderly, or disabled people will be left alone in the house).
– Accumulated dust can cause an electric shock, an electric leakage, or a fire by causing the power cord to generate sparks and heat or by causing the insulation to deteriorate. - Be sure to contact an authorized Samsung service center for information if you intend to install your TV in a location with heavy dust, high or low temperatures, high humidity, chemical substances, or where it will operate 24 hours a day such as in an airport, a train station, etc. Failure to do so may lead to serious damage to your TV.
- Use only a properly grounded plug and wall outlet.
– An improper ground may cause electric shock or equipment damage. (Class l Equipment only.) - To turn off this apparatus completely, disconnect it from the wall outlet. To ensure you can unplug this apparatus quickly if necessary, make sure that the wall outlet and power plug are readily accessible.
- Store the accessories (batteries, etc.) in a location safely out of the reach of children.
- Do not drop or strike the product. If the product is damaged, disconnect the power cord and contact a Samsung service center.
- To clean this apparatus, unplug the power cord from the wall outlet and wipe the product with a soft, dry cloth. Do not use any chemicals such as wax, benzene, alcohol, thinners, insecticide, air fresheners, lubricants, or detergents. These chemicals can damage the appearance of the TV or erase the printing on the product.
- Do not expose this apparatus to dripping or splashing.
- Do not dispose of batteries in a fire.
- Do not short-circuit, disassemble, or overheat the batteries.
- There is a danger of an explosion if you replace the batteries used in the remote with the wrong type of battery. Replace only with the same or equivalent type.
- WARNING –
TO PREVENT THE SPREAD OF FIRE, KEEP CANDLES AND OTHER ITEMS WITH OPEN FLAMES AWAY FROM THIS PRODUCT AT ALL TIMES.
- Use care when touching the TV after it has been on for some time. Some parts can be warm to the touch.
Internet security
Samsung takes a number of steps to protect its Internet-compatible Smart TVs against unauthorized incursions and hacking. For example, certain sensitive communications between the TV and the Internet servers are encrypted. In addition, the TV’s operating system has adopted controls to prevent the installation of unauthorized applications. Although we take steps to protect your Smart TV and personal information, no Internet-connected device or transmission is completely secure. We, therefore, encourage you to take additional steps to safeguard your TV, secure your Internet connection, and minimize the risk of unauthorized access. These steps are listed below:
- When Samsung releases software updates to improve the security of your TV, you should promptly install these updates. To automatically receive these updates, turn on Auto Update in the TV’s menu (
>
Settings > Support > Software Update > Auto Update). When an update is available, a popup message appears on the TV screen. Accept the software download and update by selecting Yes when prompted. Take steps to secure your wireless access point and network. Your access point’s manual should provide additional details about how to implement the following measures:
– Secure your wireless access point’s management settings with a unique password to prevent unauthorized changes to security-related settings.
– Implement standard encryption (e.g., WPA2 encryption) on your wireless access point to secure your wireless network signal.
– Secure access to your wireless network with a hard-to-guess password. – Confirm your access point’s firewall setting is enabled (if so equipped).
– Make sure that all your Internet-connected devices are behind your network’s firewall.
– If your access point or modem has a standby mode button, use it to disconnect your home network from the
Internet when it is not in use.
• Use strong passwords for all your Internet accounts (Netflix, Facebook, etc.). If your TV has a camera, recess the camera into the TV’s bezel when it is not in use. Recessing the camera makes it inoperative.
• If any unexpected messages appear on your TV screen requesting permission to link a device or enable a remote session, do NOT accept.
• Do not visit suspicious websites and do not install any suspicious programs. We recommend that users install only those authorized apps provided by Samsung through Samsung Smart Hub.
Figures and illustrations in this User Manual are provided for reference only and may differ from the actual product appearance. Product design and specifications may change without notice.
Package Content
Make sure the following items are included with your TV. If any items are missing, contact your dealer.
- Samsung Smart Remote & Batteries (AA x 2)
- User Manual
- Warranty Card / Regulatory Guide
- Power Cord

- The items’ colors and shapes may vary depending on the models.
- Cables not included can be purchased separately.
- Check for any accessories hidden behind or in the packing materials when opening the box.
The screen can be damaged from direct pressure when handled incorrectly. As shown in the figure, make sure to grip the edges of the screen when you lift the TV.

TV Installation
One Invisible Connection Guide

To connect the One Invisible Connection to the One Connect and your TV, follow these steps:
1. After the TV is completely set up and placed in its final position, connect the One Invisible Connection to the One Connect and the TV as shown in Steps 1 to 4 above.
WARNING: Make sure that both connectors are fully and firmly connected. If either connecter is not connected properly, there is a danger of severe electric shock.
2. Connect the One Connect AC power cord to the One Connect, and then connect the cord to a wall outlet as shown in Step 5 above.
WARNING: Follow the directions exactly. Be sure to connect the power cord to the wall outlet as the last step.
Always disconnect the power cord from the wall outlet before disconnecting the One Invisible Connection from the back of the TV or from the One Connect.
– See the illustrated Quick Setup Guide for more information.
3. Connect your peripherals (antenna, cable box, Blu-ray player, etc.) to the One Connect. See the Accessory Kit for details.
![]()
- Do not install the One Connect upside-down or standing upright on one of its sides.
- When connecting the One Invisible Connection, use a Bending Cover to bend the cable. The Bending
- The cover prevents the cable of the One Invisible Connection from being bent at a 90-degree angle. Bending the cable at a 90-degree angle can damage the cable.
- When connecting the One Invisible Connection, pay attention to the shapes and sizes of its connectors so that they are connected correctly. Failure to do so may cause product malfunction.
- When connecting the One Invisible Connection, be careful not to twist the cable of the One Invisible Connection. Failure to do so may cause performance degradation of the TV or damage to the cable.
- When arranging the remaining cable, refer to the figure above for the correct arrangement.
- Take care not to subject the cable to any of the actions below. The One Invisible Connection contains a power circuit. You could damage the cable and subject yourself to an electric shock.
- Handle the One Connect carefully. It is heavy.

CLASS 1 LASER PRODUCT (One Invisible Connection)
• Caution – Invisible laser radiation when open. Do not stare into the beam.
– Do not bend the One Invisible Connection cable excessively. Do not cut the cable.
– Do not place heavy objects on the cable.
– Do not disassemble either of the cable connectors.
• Caution – Use of controls, adjustments, or the performance of procedures other than those specified herein may result in hazardous radiation exposure.
Mounting the TV on a wall
If you mount this TV on a wall, follow the instructions exactly as set out by the manufacturer. Unless it is correctly mounted, the TV may slide or fall and cause serious injury to a child or adult and serious damage to the TV. For models providing wall mount adapters, install the adapters as shown in the figure below before installing the wall mount kit.
• Refer to the installation manual included with the Samsung wall mount kit.

– The shape of the wall mount adapters may differ depending on the model.
- Samsung Electronics is not responsible for any damage to the product or injury to yourself or others if you choose to install the wall mount on your own.
- To order the wall mount kit, contact the Samsung service center at 1-800-SAMSUNG (1-800-726-7864).
- You can install your wall mount on a solid wall perpendicular to the floor. Before attaching the wall mount to surfaces other than plaster board, contact your nearest dealer for additional information. If you install the TV on a ceiling or slanted wall, it may fall and result in severe personal injury.
- When installing a wall mount kit, we recommend you fasten all four VESA screws.
- If you want to install a wall mount kit that attaches to the wall using two top screws only, be sure to use a Samsung wall mount kit that supports this type of installation. (You may not be able to purchase this type of wall mount kit, depending on the geographical region.)
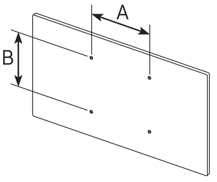
- Standard dimensions for wall mount kits are shown in the table below.
- If you are installing a third-party wall mount, note that the length of the screws you can use to attach the TV to the wall mount is shown in column C in the table below.
| TV size in inches | VESA screw hole specs (A * B) in millimeters | C (mm) | Standard Screw | Quantity | ![]() |
| 43-49 | 200 x 200 | 43-45 | M8 | 4 | |
| 55-65 | 400 x 400 |
Do not install your wall mount kit while your TV is turned on. This may result in personal injury from electric shock.
- Do not use screws that are longer than the standard dimension or do not comply with the VESA standard screw specifications. Screws that are too long may cause damage to the inside of the TV set.
- For wall mounts that do not comply with the VESA standard screw specifications, the length of the screws may differ depending on the wall mount specifications.
- Do not fasten the screws too firmly. This may damage the product or cause the product to fall, leading to personal injury. Samsung is not liable for these kinds of accidents.
- Samsung is not liable for product damage or personal injury when a non-VESA or non-specified wall mount is used or when the consumer fails to follow the product installation instructions.
- Do not mount the TV at more than a 15-degree tilt.
- Always have two people mount the TV onto a wall.
Providing proper ventilation for your TV
When you install your TV and One Connect, maintain a distance of at least 4 inches (10 cm) between the One Connect with other objects (walls, cabinet sides, etc.) to ensure proper ventilation. Failing to maintain proper ventilation may result in a fire or a problem with the product caused by an increase in its internal temperature.
- When you install your TV with a stand or a wall mount, we strongly recommend you use parts provided by Samsung Electronics only. Using parts provided by another manufacturer may cause difficulties with the product or result in injury caused by the product falling.
Safety Precaution: Securing the TV to the wall to prevent falling
Caution: Pulling, pushing, or climbing on the TV may cause the TV to fall. In particular, ensure your children do not hang on or destabilize the TV. This action may cause the TV to tip over, causing serious injuries or death. Follow all safety precautions provided in the Safety Flyer included with your TV. For added stability and safety, you can purchase and install the anti-fall device as described on the next page.
WARNING: Never place a television set in an unstable location. The television set may fall, causing serious personal injury or death. Many injuries, particularly to children, can be avoided by taking simple precautions such as:
- Using cabinets or stands recommended by the manufacturer of the television set.
- Only using furniture that can safely support the television set.
- Ensuring the television set is not overhanging the edge of the supporting furniture.
- Not placing the television set on tall furniture (for example, cupboards or bookcases) without anchoring both the furniture and the television set to a suitable support.
- Not placing the television set on cloth or other materials that may be located between the television set and supporting furniture.
- Educating children about the dangers of climbing on furniture to reach the television set or its controls.
If you are retaining and relocating the television set that you are replacing with this new set, you should apply the same precautions to the old set. - When you have to relocate or lift the TV for replacement or cleaning, be sure not to pull out the stand.
Preventing the TV from falling
- Using the appropriate screws, firmly fasten a set of brackets to the wall. Confirm that the screws are firmly attached to the wall.
– You may need additional material such as wall anchors depending on the type of wall. - Using the appropriately sized screws, firmly fasten a set of brackets to the TV.
– For the screw specifications, refer to “Standard Screw” in the table on page 10. - Connect the brackets fixed to the TV and the brackets fixed to the wall with a durable, heavy-duty string, and then tie the string tightly.
– Install the TV near the wall so that it does not fall backward.
– Connect the string so that the brackets fixed to the wall are at the same height as or lower than the brackets fixed to the TV.
• The displayed image may differ from your TV, depending on the model.
Using the Cover Cap
When you do not use the VESA wall mount, you can cover the wall mount screw holes with cover caps. See the image below.
<43-49 inches> <55-65 inches>
Precautions when installing the TV with a stand
When you install the TV with a stand, avoid placing the stand on the back part of the table surface. Failure to do so may cause the motion sensor at the bottom of the TV not to work properly.
Using Art Mode
>
Art
You can use the Art mode function to display image content such as artworks or photos when you are not watching TV in full-screen mode.
• Press the
button on the remote control to switch to TV mode or Art mode.
• Press the
button in Art mode to switch to TV mode.
• To turn off the TV completely, press and hold the
button on the remote control, or press the TV Controller button at the bottom of the TV.
– If you use a remote control other than the Samsung Smart Remote, the TV may not be turned off completely.
• In Art mode, the brightness and color tone of your TV is automatically adjusted depending on the ambient, and the TV can be automatically turned on or off.
– The TV is set to turn off the screen automatically in a certain period of time after darkening the screen when the ambient light dims in Art mode.
• You can use Art mode settings (
>
Art > Settings) on the TV or SmartThings app on your mobile device to set the sensitivity of the motion detector so that the TV can detect visual changes including user movements and turn on or off automatically.
• In Art mode, you can connect your mobile device to the TV using the SmartThings app on the mobile device to view photos on the mobile device.
– This function may not be supported depending on the TV model or mobile device.
– Supported features may differ depending on the version of the SmartThings app.
Viewing images

• The image on your TV may differ from the image above depending on the model and geographical area.
To view an image in Art mode, select one of the menus on the next page. To switch to the sub-menu where you can select images, press the Select button, one of the four directional buttons, or
button in Art mode. Then, use the directional buttons on the remote control to move to the desired image, and then press the Select button
Set appears at the top of the selected image, and you can view the selected image in Art mode.
• Recents
You can manipulate the last selected images.
• Art Store
You can go to Art Store to purchase various images.
– The Art Store may not appear depending on the network connection status.
• Samsung Collection
You can choose images from different topics.
• My Collection
You can view a list of artworks and photos that you set as
Favorite in Favorites. You can also select the desired ones among the images saved on an external storage device or a mobile device and save them in My Photos.
– In order to fetch the images from your mobile device, the SmartThings app must have been installed in your mobile device.
Viewing images by time
- Use the directional buttons on the remote control to move to Samsung Collection or My Collection.
- Use the directional buttons to move to one of the sub-menus.
- Use the directional buttons on the remote control to move to Options at the top of the screen.
- Press the Select button when the Start Rotation item appears.
- Use the directional buttons on the remote control to select the time that images will be replaced, and then press the Select button.
Import images from an external storage device
- Connect an external storage device that contains images to the TV.
- Use the directional buttons on the remote control to move to My Collection, and then move to the connected external storage device.
- Use the directional buttons on the remote control to move to Options at the top of the screen, and then select Save.
- Use the directional buttons on the remote control to move to an image, and then press the Select button.
– You can select multiple images. - Use the directional buttons on the remote control to move to Save to My Photos at the top of the screen, and then press the Select button.
- The selected image or images are saved in My Photos.
• Recommended resolutions: 3840 x 2160 (16:9)
Buying images from Art Store
- Use the directional buttons on the remote control to move to Art Store.
- Use the directional buttons on the remote control to move to a topic, and press the Select button. The images corresponding to the topic appear on the screen.
- Use the directional buttons on the remote control to move to an image, and press the Select button.
- Use the directional buttons on the remote control to move to Buy at the top of the screen, and then press the Select button to buy the selected image.
- Use the directional buttons on the remote control to select payment methods, and then press the Select button.
- Follow the on-screen instructions to procedure payment.
Subscribing to The Art Store Membership
When you subscribe to The Art Store Membership, you can use Art Store unlimitedly and enjoy various artworks by replacing them with new ones according to your preferences.
- Use the directional buttons on the remote control to move to Art Store.
- Use the directional buttons on the remote control to move to Membership.
- Follow the on-screen instructions to enter your membership information.
Setting the style of the selected image

- The image on your TV may differ from the image above depending on the model and geographical area. Use the directional buttons on the remote control to move to Options at the top of the screen. You can use the following menus:
- Details
You can find more information about the image. - Mat
You can apply various border styles and colors to the image according to your preferences. - Favorite
You can set (or not set) an image that you prefer as a favorite item by pressing the Select button on the remote control. You can view a list of items set as your favorites in My Collection > Favorites.
–
Favorite: Not set as a favorite.
–
Favorite: Set as a favorite.
Apply a border style and a color to an image
- Using the directional buttons on the remote control to move to the image whose border style and color you want to change, move to Mat at the top of the screen, and then press the Select button.
- Use the directional buttons on the remote control to select the border style and color that you want.
- Change the border style and color, and then press the Select button to move the focus to the image.
– If you change only the border style, change the border style and then press the Select button to save the selected border style. - To save the selected border style and color, press the Select button again.
– If you press the
button to exit, the border style and color you changed are not saved.
Setting up Art mode
In Art mode, use the directional buttons on the remote control to move to the Settings menu item at the bottom. You can adjust the following functions:
• Color & Brightness
Use the directional buttons on the remote control to move to Modify at the top, and then press the Select button. In the next screen, adjust the picture color and brightness. After selecting the desired settings, press the Select button on the remote control.
– To immediately set Color & Brightness while enjoying Art mode, press the
button on the remote control.
• Sleep After
If no motion is detected around the TV for the set time, the TV turns off automatically. Use the directional buttons on the remote control to move to the top items. After selecting the desired time, press the Select button on the remote control.
• Motion Detector
The sensitivity of the motion detector function can be adjusted. Use the directional buttons on the remote control to move to the top items. After selecting the desired sensitivity, press the Select button on the remote control.
• Night Mode
When this function is turned on, the TV turns off automatically if no light is detected around the TV. Use the directional buttons on the remote control to move to the top items, and then turn this function on or off.
Remove images from My Collection
You can remove the saved images from My Collection.
- Use the directional buttons on the remote control to move to My Collection.
- Use the directional buttons on the remote control to move to Favorites or My Photos.
- Use the directional buttons on the remote control to move to Options at the top of the screen.
- Move the focus to Remove, and then press the Select button on the remote control.
- Use the directional buttons on the remote control to move to an image, and then press the Select button.
– You can select multiple images. - Use the directional buttons on the remote control to move to Remove Selected at the top of the screen, and then press the Select button.
Using Art mode with the SmartThings app
Once you have installed the SmartThings app on your mobile device, you can use the following functions:
You can download the SmartThings app from Google Play Store, Samsung Apps, or the App Store.
– The features or terminology may vary depending on the version of the SmartThings app.
– On tablet devices, Art mode features may not be supported by the SmartThings app.
- Selecting images
- Subscribing to The Art Store Membership
- Creating Collage: Combine multiple images into one image.
- Applying border styles and colors to images
- Setting the color tone and the brightness for Art mode
- Setting Sleep After: When no motion is detected for the time specified in Art mode, the TV turns off automatically.
- Setting Night Mode: Set The Frame to turn off automatically if no light is detected in the room.
- Setting Motion Detector: Set the sensor sensitivity so that the TV turns on automatically when motion is detected in Art mode.
The Samsung Smart Remote
About the Buttons on the Samsung Smart Remote
• The images, buttons, and functions of the Samsung Smart Remote may differ depending on the model.
• The Universal Remote function operates normally only when you use the Samsung Smart Remote that comes with the TV.

Pairing the TV to the Samsung Smart Remote

When you turn on the TV for the first time, the Samsung Smart Remote pairs to the TV automatically.
If the Samsung Smart Remote does not pair to the TV automatically, point it at the remote control sensor of the TV, and then press and hold the buttons labeled
and as shown in the figure on the left simultaneously for 3 seconds or more.
Installing batteries into the Samsung Smart Remote

To install the batteries, push the rear cover open in the direction of the arrow at the bottom of the illustration, and then insert the batteries as shown in the figure. Make sure that the positive and negative ends are facing in the correct direction. Close the rear cover as shown.
• Alkaline batteries are recommended for longer battery life.
Initial Setup
When you turn on your TV for the first time, it immediately starts the Initial Setup. Follow the instructions displayed on the screen and configure the TV’s basic settings to suit your viewing environment.
- To perform the Initial Setup using the SmartThings app, you must connect your mobile device via Wi-Fi.
- If the pop-up for setup does not appear automatically in the SmartThings app on your mobile device, manually add the TV using Add Device on the dashboard of the SmartThings app, and then continue with the setup process.
- The SmartThings app is available for mobile devices running Android 6.0 or higher or iOS 10 or higher.
- Noise may occur temporarily when the TV communicates with mobile devices.
Using the TV Controller
You can turn on the TV with the TV Controller button at the bottom of the TV, and then use the Control menu. The Control menu appears when the TV Controller button is pressed while the TV is On. For more information about its usage, refer to the figure below.

- When you press the TV Controller button, be careful not to press the motion sensor close to it.
- In Art mode, the power indicator at the bottom of the TV remains off.
- After detaching the Customizable Frame (sold separately) from the TV, push up the remote control sensor so that it returns to its original position.
– Do not push up the remote control sensor strongly. There is a risk of damage.
Troubleshooting and Maintenance
Troubleshooting
If the TV seems to have a problem, first review this list of possible problems and solutions. Alternatively, review the Troubleshooting Section in the e-Manual. If none of the troubleshooting tips apply, please visit “www.samsung.com” and click Support or contact the Samsung service center listed on the back cover of this manual.
- For detailed information on troubleshooting, watch the troubleshooting videos at www.samsung.com/spsn.
- This TFT LED panel is made up of sub pixels which require sophisticated technology to produce. There may be, however, a few bright or dark pixels on the screen.
These pixels will have no impact on the performance of the product. - To keep your TV in optimum condition, upgrade to the latest software. Use the Update Now or Auto Update functions on the TV’s menu <
>
Settings > Support > Software Update > Update Now or Auto Update).
The TV won’t turn on.
- Make sure that the AC power cord is securely plugged into the One Connect and the wall outlet.
- Make sure that the wall outlet is working and the power indicator at the bottom of the TV is lit and glowing a solid red.
- Try pressing the TV Controller button at the bottom of the TV to make sure that the problem is not with the remote control. If the TV turns on, refer to “The remote control does not work.”
There is no picture/video/sound, or a distorted picture/video/sound from an external device, or “Weak or No Signal” is displayed on the TV, or you cannot find a channel.
- Make sure the connection to the device is correct and that all cables are fully inserted.
- Remove and reconnect all cables connected to the TV and the external devices. Try new cables if possible.
- Confirm that the correct input source has been selected (
>
Source). - Perform a TV self-diagnosis to determine if the problem is caused by the TV or the device (
>
Settings >Support > Self Diagnosis > Start Picture Test or Start Sound Test). - If the test results are normal, reboot the connected devices by unplugging each device’s power cord and then plugging it in again. If the issue persists, refer to the connection guide in the user manual of the connected device.
- If you are not using a cable box or satellite box, and your TV is receiving TV signals from an antenna or a cable wall connector, run Auto Program to search for channels
(
>
Settings > Broadcasting > Auto Program).
The remote control does not work.
- Check if the power indicator at the bottom of the TV blinks when you press the remote’s Power button. If it does not, replace the remote control’s batteries.
- Make sure that the batteries are installed with their poles (+/–) in the correct direction.
- Try pointing the remote directly at the TV from 5 ft. to 6 ft. (1.5-1.8 m) away.
- If your TV came with a Samsung Smart Remote (Bluetooth Remote), make sure to pair the remote to the TV. The cable box or satellite box remote control doesn’t turn the TV on or off or adjust the volume.
- Program the cable box or satellite box remote control to operate the TV. Refer to the cable box or satellite box user manual for the SAMSUNG TV code.
The TV settings are lost after 5 minutes.
- The TV is in the Retail Mode. Change the Usage Mode in the System Manager Menu to Home Mode (
>
Settings > General > System Manager > Usage Mode > Home Mode).
Intermittent Wi-Fi
- Make sure the TV has a network connection (
> Settings > General > Network > Network Status). - Make sure the Wi-Fi password is entered correctly.
- Check the distance between the TV and the modem or access point. The distance should not exceed 50 ft (15.2 m).
- Reduce interference by not using or turning off wireless devices. Also, verify that there are no obstacles between the TV and the modem or access point. (The Wi-Fi strength can be decreased by appliances, cordless phones, stone walls/fireplaces, etc.)

Contact your Internet Service Provider (ISP) and ask them to reset your network circuit to re-register the MAC addresses of your new modem or access point and the TV.
Video Apps problems (Youtube etc)
• Change the DNS to 8.8.8.8. Select (
>
> Settings > General > Network > Network Status > IP Settings > DNS Setting > Enter manually > DNS Server > enter 8.8.8.8 > OK.
• Reset by selecting
>
Settings > Support > Self Diagnosis > Reset Smart Hub.
The TV remains on or does not turn on automatically.
- If the surrounding area is too dark or bright, the motion sensor may not work normally. The performance of the motion sensor may be affected by the installation environment (height, tilt, obstacles). If the clothes you wear or your skin color is similar to the surrounding shading, the motion sensor may not work properly.
- The TV responds to all visual changes around it (lights, displays, dogs, out-of-window changes, and other occurrences). You can adjust the response level by adjusting the sensitivity of the motion detector. (
>
Art > Settings > Motion Detector)
Precautions when using Art mode
- The motion sensor is located at the bottom of the TV. Do not block the sensor at the front of the TV. The motion sensor as well as the brightness and color tone of the screen can be affected.
- Art mode uses algorithms to minimize image burn-in that can be caused by displaying still images on the screen for long periods of time.
- The performance of the sensor may vary depending on the TV installation and operating environment.
– The screen brightness and color tone may be affected depending on the color of the floor on which the TV stands.
– In an environment where special light sources other than standard light sources (halogen, fluorescent) are used, the sensor’s motion recognition performance may vary depending on the positions, types, and number of the light sources.
– If the area around the TV is too dark or bright, the screen brightness may be limited or the sensor may not work normally.
– If the TV is installed too high or too low, the sensor may not work normally.
– The motion sensor may sense motion from a flashing LED, a pet, a car moving outside the window, or other occurrence and start operating. - Depending on the Auto Power Off function settings, the TV may turn off when there is no user input in Art mode, such as inputs from the remote control (
>
Settings > General > Eco Solution > Auto Power Off).
> Settings > General > System Manager > Time > Sleep Timer and Off Timer function does not work in Art mode.
> Settings > General > System Manager > Auto Protection Time function does not work in Art mode.
What is Remote Support?
Samsung Remote Support service offers you one-on-one support with a Samsung Technician who can remotely:
- Diagnose your TV
- Adjust the TV settings for you
- Perform a factory reset on your TV
- Install recommended firmware updates
How does Remote Support work?
You can easily get a Samsung Remote Support service for your TV.1. Call the Samsung service center and ask for remote support.
2. Open the menu on your TV, and then go to the Support section. (
>
Settings > Support)
3. Select Remote Management, then read and agree to the service agreements. When the PIN screen appears, provide the PIN number to the technician.
4. The technician will then access your TV.
Eco Sensor and screen brightness

Eco Sensor adjusts the brightness of the TV automatically. This feature measures the light in your room and optimizes the brightness of the TV automatically to reduce power consumption. If you want to turn this off, go to
>Settings > General > Eco Solution > Ambient Light Detection.
- If the screen is too dark while you are watching TV in a dark environment, it may be due to the Ambient Light Detection function.
- The eco sensor is located at the bottom of the TV. Do not block the sensor with any object. This can decrease picture brightness.
Caring for the TV
- If a sticker was attached to the TV screen, some debris can remain after you remove the sticker. Please clean the debris off before watching TV.
- The exterior and screen of the TV can get scratched during cleaning. Be sure to wipe the exterior and screen carefully using a soft cloth to prevent scratches.
- Do not spray water or any liquid directly onto the TV. Any liquid that goes into the product may cause a failure, fire, or electric shock.
- To clean the screen, turn off the TV, then gently wipe away smudges and fingerprints on the panel with a micro-fiber cloth. Clean the body or panel of the TV with a micro-fiber cloth dampened with a small amount of water. After that, remove the moisture with a dry cloth. While cleaning, do not apply strong force to the surface of the panel because it can damage the panel. Never use a flammable liquid(benzene, thinner, etc.) or a cleaning agent. For stubborn smudges, spray a small amount of screen cleaner on a micro-fiber cloth, and then use the cloth to wipe away the smudges.

Specifications and Other Information
Specifications
| Model Name | QN43LS03R | QN49LS03R |
| Display Resolution | 3840 x 2160 | 3840 x 2160 |
| Screen Size Diagonal Measured Diagonally | 43˝ Class 42.5 inches | 49˝ Class 48.5 inches |
| Sound (Output) | 20 W | 20 W |
| Dimensions (W x H x D) Body Withstand | 38.1 x 21.9 x 1.7 inches (966.6 x 556.8 x 42.5 mm) 38.1 x 23.6 x 7.9 inches (966.6 x 599.8 x 200.0 mm) | 43.3 x 24.9 x 1.8 inches (1099.2 x 631.4 x 45.8 mm) 43.3 x 26.5 x 7.9 inches (1099.2 x 674.3 x 200.0 mm) |
| Weight Without Stand With Stand | 25.4 lbs (11.5 kg) 26.5 lbs (12.0 kg) | 31.1 lbs (14.1 kg) 32.2 lbs (14.6 kg) |
| Model Name | QN55LS03R | QN65LS03R |
| Display Resolution | 3840 x 2160 | 3840 x 2160 |
| Screen Size Diagonal Measured Diagonally | 55˝ Class 54.6 inches | 65˝ Class 64.5 inches |
| Sound (Output) | 40 W | 40 W |
| Dimensions (W x H x D) Body Withstand | 48.6 x 27.9 x 1.7 inches (1235.0 x 707.8 x 42.5 mm) 48.6 x 29.6 x 7.9 inches (1235.0 x 750.7 x 200.0 mm) | 57.2 x 32.7 x 1.7 inches (1453.9 x 830.9 x 42.5 mm) 57.2 x 34.5 x 11.6 inches (1453.9 x 875.5 x 294.0 mm) |
| Weight Without Stand With Stand | 41.7 lbs (18.9 kg) 42.8 lbs (19.4 kg) | 56.7 lbs (25.7 kg) 58.4 lbs (26.5 kg) |
Environmental Considerations
| Operating Temperature Operating Humidity Storage Temperature Storage Humidity | 50°F to 104°F (10°C to 40°C) 10% to 80%, non-condensing -4°F to 113°F (-20°C to 45°C) 5% to 95%, non-condensing |
Notes
- Design and specifications are subject to change without prior notice.
- For information about the power supply, and more information about power consumption, refer to the information on the label attached to the product.
– On One Connect models, the label is attached to the bottom of the One Connect.
– On most models, the label is attached to the back of the TV. (On some models, the label is inside the cover terminal.) - Your TV and its accessories may look different than the product images presented in this manual, depending on the model.
- All drawings are not necessarily to scale. Some dimensions are subject to change without prior notice. Refer to the dimensions before installing your TV. Not responsible for typographical or printed errors.
- To connect a LAN cable, use a CAT 7 (*STP type) cable for the connection.
* Shielded Twisted Pair
Decreasing power consumption
When you shut the TV off, it enters Standby mode. In Standby mode, it continues to draw a small amount of power.
To decrease power consumption, unplug the power cord when you don’t intend to use the TV for a long time.
Dimensions
Back panel detail / Rearview

- The displayed image may differ from your TV, depending on the model.
| Model name | 1 | 2 | 3 |
| QN43LS03R | 2.6 | 14.9 | 11.2 |
| QN49LS03R | 4.9 | 1 7. 5 | 11.9 |
| QN55LS03R | 4.7 | 16.4 | 7. 3 |
| QN65LS03R | 9.6 | 20.7 | 7. 3 |
Licenses
The terms HDMI and HDMI High-Definition Multimedia Interface, and the HDMI Logo are trademarks or registered trademarks of HDMI Licensing LLC in the United States and other countries.
Contact SAMSUNG WORLDWIDE
If you have any questions or comments relating to Samsung products, please contact the Samsung service center.
Comment contacter Samsung dans le monde
Visitez le site de votre pays : http://www.samsung.com
| Country | Samsung Service Center | Web Site | Address |
| CANADA | 1-800-SAMSUNG (726-7864) | www.samsung.com/ca/support (English) www.samsung.com/ca_fr/support (French) | Samsung Electronics Canada Inc. 2050 Derry Road West Mississauga, Ontario L5N 0B9 Canada |
| U.S.A | 1-800-SAMSUNG (726-7864) | www.samsung.com/us/support | Samsung Electronics America, Inc. 85 Challenger Road Ridgefield Park, NJ 07660 |
© 2019 Samsung Electronics Co., Ltd. All rights reserved.



• The displayed image may differ from your TV, depending on the model.




















