
AL-MAGPIE
Wireless Infrared Microphone
AL-MAGPIE
Owner’s Manual
Important Safety Instructions
WARNING: TO REDUCE THE RISK OF FIRE OR ELECTRIC SHOCK
DO NOT EXPOSE THIS EQUIPMENT TO RAIN OR MOISTURE
![]() | The lightning flash with an arrowhead symbol within an equilateral triangle is intended to alert the user to the presence of uninsulated “dangerous voltage “ within the product’s enclosure that may be of sufficient magnitude to constitute a risk of electric shock to persons. |
![]() | The exclamation point within an equilateral triangle is intended to alert the user to the presence of important operating and maintenance (servicing) instructions in the literature accompanying the product. |
- Read these instructions.
- Keep these instructions.
- Heed all warnings.
- Follow all instructions.
- Do not use this device near water.
- Clean only with a dry cloth.
- Do not block any ventilation openings. Install in accordance with the manufacturer’s instructions.
- Do not install near any heat sources such as radiators, heat registers, stoves, or other devices that produce heat.
- Do not defeat the safety purpose of the polarized or grounding-type plug. A polarized plug has two blades with one wider than the other. A grounding-type plug has two blades and a third grounding prong. The wide blade or the third prong is provided for your safety. If the provided plug does not fit into your outlet, consult an electrician for the replacement of the obsolete outlet.
- Protect the power cord from being walked on or pinched particularly at plugs, convenience receptacles, and the point where they exit from the device.
- Only use attachments/accessories specified by the manufacturer.
- Use only with the cart, stand, tripod, bracket, or table specified by the manufacturer, or sold with the device. When a cart is used, use caution when moving the cart /device combination to avoid injury from tip-over.
- Unplug this device during lightning storms or when unused for long periods of time.
- Refer all servicing to qualified service personnel. Servicing is required when the device has been damaged in any way, such as power-supply cord or plug is damaged, liquid has been spilled, or objects have fallen into the device, the device has been exposed to rain or moisture, does not operate normally, or has been dropped.
- This product is equipped with a three-wire grounding-type plug, a plug having a third (grounding) pin. This plug will only fit into a grounding-type power outlet. This is a safety feature. If you are unable to insert the plug into the outlet, contact your electrician to replace your obsolete outlet. Do not defeat the safety purpose of the grounding-type plug.
- WARNING: To reduce the risk of fire or electric shock, this device should not be exposed to rain or moisture, and objects filled with liquids, such as a vase, should not be placed on this device.
- To completely disconnect this equipment from the mains, disconnect the power supply cord plug from the receptacle.
- The main plug of the power supply cord shall remain readily operable.
Protective earthing terminal. The apparatus should be connected to the main socket with a protective earthing connection.
WARNING – When The Device Is In Use
- WARNING: For the terminals marked with the symbol of
may be of sufficient magnitude to constitute a risk of electric shock. The external wiring connected to the terminals requires installation by an instructed person or the use of ready-made leads or cords. - WARNING: The apparatus shall not be exposed to dripping or splashing and objects filled with liquids, such as vases, shall not be placed on the apparatus.
- WARNING: The mains plug is used as the disconnect device, the disconnect device shall remain readily operable.
- To prevent electric shock, do not remove the product cover as there are high voltage components inside. Refer all servicing to AtlasIED.
- Should any of the following irregularities occur during use, immediately switch off the power, disconnect the power cord from the AC outlet, and contact AtlasIED? Do not attempt to continue operation with the product as this may cause fire or electric shock:
- Smoke or a strange smell coming from the unit.
- If the product falls or the case is damaged.
- If water or any metallic objects falls into the product.
- If the power supply cord is damaged in any way.
- If the unit is malfunctioning.
- Do not insert or drop metallic objects or flammable materials into the ventilation holes of the product’s cover, as this may result in electric shock or fire.
- Do not place any containers with liquid or metallic objects on the top of the product. If any liquid spills into the unit, fire or electric shock may result.
- Never operate this product or touch the power supply cord during an electrical storm, electric shock may result.
- Never exceed the power rating on the product when connecting equipment. Fire and/ or property damage may result.
- Operate the product only with the voltage specified on the unit. Fire and/or electric shock may result if a higher voltage is used.
- Do not modify, kink, or cut the power cord. Do not place the power cord in close proximity to heaters and do not place heavy objects on the power cord, including the the product itself, doing so may result in fire or electrical shock.
- Ensure that the safety ground terminal is connected to a proper ground. Never connect the ground to a gas pipe as a catastrophic disaster may result.
- Be sure the installation of the product is stable, avoid slanted surfaces as the product may fall and cause injury or property damage.
CAUTION – When Installing The Product
- Plugging in or unplugging the power cord with wet hands may result in electric shock.
- Never move the unit with the power cord plugged into the wall, as damage to the power cord may result.
- When unplugging the cord from the wall, grasp the plug, NOT the cord.
- Never install this product in humid or dusty locations, nor in direct sunlight, near sources of heat, or in areas where sooty smoke or steam are present. Fire and electric shock may result.
- Keep all sides of the unit at least 3 1/2″ away from objects that may obstruct airflow to prevent the unit’s internal temperature rise.
CAUTION – When The Product Is In Use
- Never place heavy objects on the product, causing it to fall and/or break, resulting in personal injury and property damage. In addition, the product itself may fall and cause injury and property damage.
- Contact AtlasIED for instructions on cleaning the inside of the unit. Large accumulations of dust inside the unit may result in heat buildup and fire.
- Ensure that the power supply plug is securely plugged into the wall outlet. Never allow dust to accumulate on the power plug or inside the wall outlet.
- When cleaning the unit or the unit is not to be operated for an extended period, unplug the power cord from the wall.
Introduction
Congratulations and thank you for purchasing the AtlasIED AL-MAGPIE wireless infrared microphone. This innovative, professional-grade microphone has been designed to include unique features and excellent performance that is required for delivering clear and concise audio through voice amplification.
Key Features
- Provides Excellent Infrared Wireless Sound Reinforcement
- Keeps Teacher’s Voice Healthy and Sustainable
- Patent Pending Design
- Unique Handheld / Lanyard / Transmitter Microphone
- Microphone Volume Controlled via Transmitter
Applications
The AtlasIED AL-MAGPIE is an in-classroom sound reinforcement solution designed for use in K-12 and higher education facilities or where a room-constrained public address system is required. When used in conjunction with the AL2450 amplifier/receiver, it allows the teacher and students to walk freely around the room with the infrared
microphones/system control units and project their voices through installed speakers.
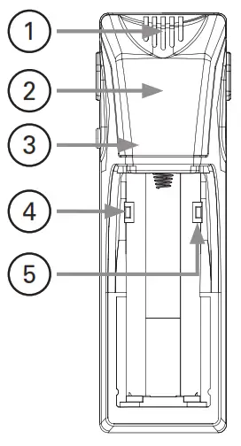
Microphone Description
- Microphone
A high-quality internal microphone is used when the unit is in the handheld or lapel configuration. - IR LEDs
This cluster of IR LEDs ensures quality communications with an AL-IRDS infrared receiver. - Power LED
Displays the battery power of the AL-MAGPIE.
Blue Indicates good battery power.
Red indicates low battery power.
Off indicates the microphone is turned off.
- IR Channel Switch
This slide switch sets the microphone channel to “A” or “B”. - Lockout Switch
When this switch is set to the lockout mode the unit works as a microphone only, no operation buttons function. Also referred to as “Student Mode”. - Power Button
When the AL-MAGPIE is off, holding this button for 3 seconds will turn the unit on. When on, holding this button for 3 seconds will turn the unit off. - Battery and Cover
Conceals one rechargeable battery, IR channel switch, and lockout mode switch. Note: Only use a rechargeable Lithium LIR17500 (3.7V) or damage may occur while charging the mic.
- Panic Button
When both red buttons are pressed simultaneously, a signal is sent to the AL2450 amplifier/receiver to close the “Panic” relay that sends a message to an external source, like a school’s paging system. - Headset Microphone Input
3.5mm jack for connection of the optional AL-HSM headset microphone. When connected the internal microphone is disabled.
- Volume Button
Depressing the UP or DOWN button will raise or lower the microphone volume. - Lanyard
Included lanyard for a lapel configuration.
AL-MAGPIE-NEST Charging Station Description

- Microphone Charging Receptacles
Holds the microphones in place while charging. - Microphone Charging LEDs
These LEDs indicate the current charging status of each receptacle:
Red = Microphone is charging
Green = Microphone is charged
Note: The AL-MAGPIE must be charged for 12 hours before being used.
AtlasIED System Function Description
The versatile AL-MAGPIE microphone performs the functions of a wireless microphone and a microphone volume control. It can be used as a handheld microphone, a lapel microphone with included lanyard (AL-LANYARD), or a belt pack microphone with an optional AL-HSM headset. Each AL-MAGPIE has a switch located under the battery door sed to set its IR Channel to either A or B. One AL-MAGPIE must be set to Channel A and the other AL-MAGPIE must be set to Channel B. The system will not function properly if there are two AL-MAGPIEs set to the same IR channel.
Also located under the battery door is the Lockout switch. When this is engaged all function buttons are disabled and the unit can be used as a microphone only. To turn the microphone on or off, press the power button for three seconds. When the two panic buttons are pressed simultaneously, a signal is sent to the AL2450 Receiver/ Amplifier. This closes its panic output relay. The panic output relay can be connected to an external system, for example, the school’s paging/intercom system to alert someone of an event in the classroom that requires immediate attention. If the unit fails to turn on, place the inactive charging receptacle for 4 seconds, remove the charging base and press the power button.
When the two Panic buttons are pressed simultaneously, a signal is sent to the AL2450 amplifier/receiver. This closes its Panic Output relay. The Panic Output relay can be connected to an external system, for example, the school’s paging/intercom system to alert someone of an event in the classroom that requires immediate attention.
| AL-MAGPIE Microphone Specifications | ||
| IR LEDs | 6 | |
| AUX Input | 3.5mm Phono Jack, Mic Level | |
| External Controls | Power, Panic, Mic Volume | |
| Internal Controls | Lockout, Mic NB Channel | |
| Battery | Lithium LIB17500 (3.7V) Rechargeable Only | |
| Dimensions | 1.15″ x 1″ x 3.8″ (29mm x 25mm x 97mm) | |
| Weight with Battery | 0.141b (65g) | |
| Weight without Battery AL-MAGPIE-NEST Charging | 0.081b (36g) Station Specifications | |
| AL-MAGPIE Charging Ports | 2 | |
| Charge Indicator LEDs | 2 | |
| PSU Type | 100VAC — 240VAC, 50/60Hz, 0.2A, 5VDC, 1A | |
| Dimensions | 1.5 x 1″ x 2.5– (38mm x 25mm x 64mm) | |
Notes
Limited Warranty
All products manufactured by AtlasIED are warranted to the original dealer/installer, industrial or commercial purchaser to be free from defects in material and workmanship and to be in compliance with our published specifications if any. This warranty shall extend from the date of purchase for a period of three years on all AtlasIED products, except as follows: one year on electronics and control systems; one year on replacement parts; and one year on Musician Series stands and related accessories. Additionally, fuses and lamps carry no warranty. AtlasIED will solely at its discretion, replace at no charge or repair free of charge defective parts or products when the product has been applied and used in accordance with our published operation and installation instructions. We will not be responsible for defects caused by improper storage, misuse (including failure to provide reasonable and necessary maintenance), accident, abnormal atmospheres, water immersion, lightning discharge, or malfunctions when products have been modified or operated in excess of rated power, altered, serviced or installed in other than a workmanlike a manner. The original sales invoice should be retained as evidence of purchase under the terms of this warranty. All warranty returns must comply with our returns policy set forth below. When products returned to AtlasIED do not qualify for repair or replacement under our warranty, repairs may be performed at prevailing costs for material and labor unless there is included with the returned product(s) a written request for an estimate of repair costs before any non-warranty work is performed. In the event of replacement or upon completion of repairs, a return shipment will be made with the transportation charges collect.
Limited Warranty (Continued)
EXCEPT TO THE EXTENT THAT APPLICABLE LAW PREVENTS THE LIMITATION OF CONSEQUENTIAL DAMAGES FOR PERSONAL INJURY, ATLASES SHALL NOT BE LIABLE IN TORT OR CONTRACT FOR ANY DIRECT, CONSEQUENTIAL, OR INCIDENTAL LOSS OR DAMAGE ARISING OUT OF THE INSTALLATION, USE, OR INABILITY TO USE THE PRODUCTS. THE ABOVE WARRANTY IS IN LIEU OF ALL OTHER WARRANTIES INCLUDING BUT NOT LIMITED TO WARRANTIES OF MERCHANTABILITY AND FITNESS FOR A PARTICULAR PURPOSE.
AtlasIED does not assume, or does it authorize any other person to assume or extend on its behalf, any other warranty, obligation, or liability. This warranty gives you specific legal rights and you may have other rights which vary from state to state.
Service
Should your AL-MAGPIE Wireless Infrared Microphone require service, please contact the AtlasIED warranty department through the online warranty claim process.
Online Warranty Claim Processes
- Warranty submissions are accepted at: https://www.atlasied.com/warranty_statement where the type of return Warranty or Stock return can be selected.
- Once selected, you will be prompted to enter your login credentials. If you do not have a login, register on the site. If already logged in, navigate to this page by selecting “Support” and then “Warranty & Returns” from the top menu.
- In order to file a Warranty Claim, you will need:
A. A copy of the invoice/receipt of the purchased item
B. Date of Purchase
C. The product name or SKU
D. The serial number for the item (if no serial number exists, enter N/A)
E. A brief description of the fault for the claim - Once all required fields are completed, select the “Submit Button”. You will receive 2 emails:
1. One with a confirmation of the submission
2. One with a case# for your reference should you need to contact us.
Please allow 2-3 business days for a response with a Return Authorization (RA) number and further instructions.
AtlasIED Tech Support can be reached at 1-800-876-3333 or atlasied.com/support.
Visit our website at www.AtlasIED.com to see other AtlasIED products.
©2021 Atlas Sound L.P. The Atlas “Circle A”, Soundolier, and Atlas Sound are trademarks of Atlas Sound L.P.
IED is a registered trademark of Innovative Electronic Designs LLC. All Rights Reserved. All other trademarks are the property of their respective owners. All specs are subject to change without notice. ATS004078 RevD 5/21

1601 JACK MCKAY BLVD.
ENNIS, TEXAS 75119 U.S.A.
TELEPHONE: (800) 876-3333
[email protected]
AtlasIED.com

























