INSTRUCTIONS FOR USE
AR4P19 Pin Floor Standing Fan Heater
AR4P19 Pin Floor Standing Fan Heater
This product is only suitable for well insulated spaces or occasional use.
Warnings
ATTENTION: read this booklet carefully it contains important instructions for a safe installation, use and maintenance. Important instructions to be kept for future reference.
- This appliance can be used by children aged from 8 years and above and persons with reduced physical, sensory or mental capabilities or lack of experience and knowledge if they have been given supervision or instruction concerning use of the appliance in a safe way and understand the hazards involved.
- Children shall not play with the appliance.
- Cleaning and user maintenance shall not be made by children without supervision.
- Children of less than 3 years should be kept away unless continuously supervised.
- Children aged from 3 years and less than 8 years shall only switch on/off the appliance provided that it has been placed or installed in its intended normal operating position and they have been given supervision or instruction concerning use of the appliance in a safe way and understand the hazards involved.
- Children aged from 3 years and less than 8 years shall not plug in, regulate and clean the appliance or perform user maintenance.
- CAUTION — Some parts of this product can become very hot and cause burns. Particular attention has to be given where children and vulnerable people are present.
- If the power cable gets damaged, it has to be replaced only at a service centre approved by the manufacturer in order to prevent any risks.
DO NOT COVER
- WARNING: In order to avoid overheating, do not cover the heater.
- Do not place the appliance immediately below a socket outlet.
- Do not use this heater in the immediate surroundings of a bath, a shower or a swimming pool.
- Do not use this heater if it has been dropped.
- Do not use if there are visible signs of damage to the heater.
- Use this heater on a horizontal and stable surface.
- WARNING: Do not use this heater in small rooms when they are occupied by persons not capable of leaving the room on their own, unless constant supervision is provided.
- WARNING: To reduce the risk of fire, keep textiles, curtains, or any other flammable material a minimum distance of 1 m from the air outlet.
It is forbidden for the children to play with the device.
This device must be used only for the purpose it was expressly designed; any use not complying with the instructions contained in the manual is considered inappropriate and dangerous. The manufacturer is not responsible for possible damages caused by the inappropriate and/or unreasonable use.
This device is NOT suitable to use it in an explosive environment (in the presence of flammable substances such as gas, vapor, mist or dust, in atmospheric conditions when, after ignition, the combustion is spread in the air).
The packing materials (plastic bags, expanded polystyrene, etc.) must be kept out of the reach of children or disabled persons since they represent potential sources of danger.
This device must be used only for the purpose it was expressly designed; any use not complying with the instructions contained in the manual is considered inappropriate and dangerous. The manufacturer is not responsible for possible damages caused by the inappropriate and/or unreasonable use.
This device is NOT suitable to use it in an explosive environment (in the presence of flammable substances such as gas, vapor, mist or dust, in atmospheric conditions when, after ignition, the combustion is spread in the air).
The packing materials (plastic bags, expanded polystyrene, etc.) must be kept out of the reach of children or disabled persons since they represent potential sources of danger.
The installation/assembly of the device will be made/ or according to the indications of the manufacturer. A wrong procedure may cause damages to persons, animals or objects, for which the manufacturer cannot be considered responsible.
Place and use the device on a horizontal and stable surface.
Before use check the integrity of the device and power cable. In case you are not sure contact a qualified person.
Before powering the device make sure the rating (voltage and frequency) corresponds to the grid and the socket is suitable for the plug of the device.
Make sure the power system is equipped with proper protection according to the law in force.
DO NOT power the device using multiple sockets.
If possible, avoid the use of adapters and/or extension cables; if their use is absolutely necessary, use only materials in compliance with the current safety regulations and according to the electrical parameters of the adapters.
The device must not be switched on using external timers and/or other remote control devices which are not specified in this manual.
DO NOT use or store the device near heat sources (heaters, stoves etc.).
DO NOT dip the device in water or other liquids; in case the accidental fall in the water DO NOT try to take it out, but first of all unplug immediately the power cable from the socket.
If you use the device for the first time, make sure to remove any label or protective sheet which blocks its proper functioning.
Plug and unplug the power cable with dry hands and hold it firmly.
Before plugging make sure the start button of the device is in the “OFF” position (turned off).
Always unplug the power cable to avoid the overheating and avoid stretching it (do not pull it, tug it or use it to drag the device to which is connected).
Avoid placing the power cable on abrasive or sharp surfaces or in positions where it can be damaged easily.
DO NOT obstruct totally nor partially the air vents or inserts objects inside.
During the functioning do not touch the device with wet body parts, and in any case it is recommended to have between you and the standing surface, an isolating element (for example wearing shoes with rubber soles).
During the use the device must be keep at a safety distance from any object and/or flammable or potentially explosive substance.
In case of malfunction or anomalies during the functioning, switch off the device immediately, turn off the power and check the cause of the anomalies, if possible, with the support of a qualified person. Avoid carrying out operations which are not specified in this manual (such as disassembling and/or altering).
Always remember to unplug the power cable of the device if it is not used for a long period, before storing, cleaning or performing any maintenance operation.
Store and use the device only indoor or in any case protected from weathering such as rain, direct radiation of the sun and dust. The device is not design for the external use or storage.
The cleaning and maintenance of the device MUST NOT be done by children without the supervision of an adult.
Before unplugging the device, switch it off, using the proper command on the control panel.
DO NOT hang the fan on the wall or ceiling unless this type of installation is provided and explained in this manual.
Place the device at a proper distance from the objects or surrounding walls making sure that its functioning will not cause accidental damages.
DO NOT use the device near gas stoves or open flames in general.
DO NOT use the device near curtains or textiles.
DO NOT hang the fan on the wall or ceiling unless this type of installation is provided and explained in this manual.
DO NOT cover the device during functioning.
DO NOT insert objects or body parts inside the protection grille of the fan.
DO NOT leave the device unsupervised for a long period during functioning.
DO NOT expose yourself for a long period to the air flow generated by the device because it can cause damage to the health.
If the fan must be stored for a long period and is not used regularly, place the fan in its original packaging in a dry place. When you use it for the first time after a long period of inactivity, make sure the fan is clean and the motor blades turn feely (with the device not powered) without any restraint.
For safety reasons, the appliance should never be opened.
The appliance has been designed and manufactured to operate in the home. Any other use is considered inappropriate and dangerous.
Do not insert objects through the safety grill or the air inlets.
Do not use the heater in presence of flammable substances (petrol, paints, etc.).
Do not place the cord near sources of heat.
WARNING: DO NOT COVER THIS PRODUCT NEAR CURTAINS OROTHER COMBUSTIBLE MATERIAL.
WARNING: DO NOT COVER THE APPLIANCE OR OBSTRUCT THE AIR INLETS TO AVOID OVERHEATING.
WARNINGS ABOUT BATTERIES:
- KEEP BATTERIES OUT OF THE REACH OF CHILDREN. Swallowing can lead to chemical burns, perforation of soft tissue, and death. Severe burns can occur within 2 hours of ingestion. Seek medical attention immediately.
- Do not allow children to replace batteries.
- Always insert batteries correctly with regard to polarity (+ and -) marked on the battery and the equipment.
- Do not short-circuit batteries.
- Do not charge batteries.
- Do not force discharge batteries.
- Do not mix new and used batteries or batteries of different types or brands.
- Exhausted batteries should be immediately removed from equipment and properly disposed of.
- Do not heat batteries
- Do not weld or solder directly to batteries.
- Do not dismantle batteries.
- Do not deform batteries.
- Do not dispose of batteries in fire.
- A lithium battery with a damaged container should not be exposed to water.
- Do not encapsulate and/or modify batteries.
- Store unused batteries in their original packaging away from metal objects. If already unpacked, do not mix or jumble batteries.
- Remove batteries from equipment if it is not to be used for an extended period of time unless it is for emergency purposes.
- Clean the battery contacts and also those of the equipment prior to battery installation.
- In case of leak from batteries, avoid any contact with it; in case of contact, wash the affected part with water and seek medical attention.
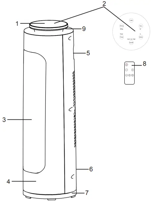
Technical information’s
- Control panel
- Display
- Air outlet
- Main body
- Handle
- Main switch
- Base
- Remote control
- Night light
Technical data indicated on the appliance.
Instructions for use
Batteries
The remote control is supplied with CR2025 3V batteries; remove the protective plastic from the battery compartment of the remote control before use.
When the battery has run out, it must be replaced with another one of the same type.
To remove the battery, refer to the diagram shown on the back of the remote control:
Description of controls:
Make sure that the function switch (6) is in the OFF position “0” before connecting or disconnecting the apparatus.
To turn the appliance on, insert the plug in the power outlet, set the main switch (6) to “I”.
For your convenience the unit can be operated by using control panel in the main body or using remote control included.
On/Off button
- When the device is switched off, press this button to turn it on. The device switches on in summer ventilation mode “Cool”.
The display (2) will show the room temperature. - When the device is switched on, press this button to turn it off.
Wait 30 seconds until the fan will stop; then switch off the appliance by setting the main switch (6) to “0“.
Light button
Press this button to change the color of the night light (9): off, blue, purple, red. The night light can be turned on even when the device is switched off, with the switch (6) on I.
Mode button
When the device is switched on, press this button to change the operating mode:
- ventilation (indicator Cool);
- minimum heating (indicator Low);
- maximum heating (indicator High).
Swing button
Press this button to activate or deactivate the automatic swing function of the device. When the swing function is active, the corresponding indicator Swing lights up.
Timer button
Press the TIMER button when the device is working to program automatic switch-off at an interval of between 1 to 12 hours from when it is programmed. Every time the button is pressed, the interval increases by one hour.
A few seconds after selecting the timer, the display (2) will show the room temperature again.
When the timer function is activated, the indicator “Timer” lights up on the control panel. To disable the timer function, press the timer button repeatedly until the display shows “0 0”.
Tem. Button
Press one of these buttons to set the desired room temperature (automatic function); the set temperature will flash on the display (2).
Press button (+)/(Tem.) to increase the temperature or button “-“ to decrease it: the set temperature will change from a minimum of 15°C to a maximum of 40°C.
Once the desired temperature has been selected, the display (2) will show the room temperature after a few seconds.
In automatic mode, the device will automatically regulate the heating power based on the difference between the room temperature and the set temperature. In this operating mode, the device will also switch between the various power levels (ventilation, low power, high power) repeatedly. The selected power level is always shown on the display. Once the set temperature has been reached, ventilation will still remain active in order to monitor the room temperature more effectively.
To disable this function, press the “Mode” button
and manually select the desired function (ventilation only, low power or high power).
Maintenance
This appliance does not require any special maintenance.
Disconnect the plug from the socket and let the appliance cool down well before cleaning it.
In order to clean the appliance, use a soft or slight damp cloth.
Never use abrasives or chemical solvents.
Do not use very wet substances, liquids or cloths to prevent water from entering into the apparatus and irreparably damaging it.
NEVER IMMERSE THE APPLIANCE INTO THE WATER.
Dust inside the appliance
Use a vacuum cleaner on the back grid.
PACKAGING
In order to respect the environment, packaging material must be disposed of properly in accordance with separate collection.
Check local regulations.
BATTERIES – Remove the batteries from the appliance before its disposal. Do not dispose the batteries with domestic waste. The batteries must be disposed of in the appropriate containers or in the specific collecting centre. Suitable segregated collection helps prevent damage to the environment and to human health. To remove batteries, refer to Instructions for use.
USER INFORMATION
“Implementation of Directive 2012/19/EU on Waste Electrical and Electronic Equipment (WEEE)”, pertaining to reduced use of hazardous substances in electrical and electronic equipment, as well as to waste disposal.
The symbol of the crossed-out wheelie bin on the equipment or on its packaging indicates that the product must be disposed of separately from other waste at the end of its service life.
The user must therefore take the dismissed equipment to suitable separate collection centers for electrical and electronic waste.
For more details, please contact the appropriate local authority.
Suitable segregated collection of the equipment for subsequent recycling, treatment or environmentally friendly disposal helps prevent damage to the environment and to human health, and encourages the re-use and/or recycling of the materials that make up the equipment.
Abusive disposal of the product by the user shall result in the application of administrative fines in accordance with the laws in force.
GUARANTEE
Terms and Conditions
The guarantee is valid for 24 months.
This guarantee applies only if it has been duly filled in and is submitted with the receipt showing the date of purchase.
The guarantee covers the replacement or repair of parts making up the appliance which were faulty at source due to manufacturing faults.
After the guarantee has expired, the appliance will be repaired against payment.
The manufacturer declines any responsibility for damage to persons, animals or property due to misuse of the appliance and failure to observe the directions contained in the instructions.
Limits
All rights under this guarantee and any responsibility on our part will be voided if the appliance has been:
- mishandled by unauthorized persons
- improperly used, stored or transported.
The guarantee does not cover damage to the outward appearance or any other that does not prevent regular operation.
If any faults should be found despite the care taken in selecting the materials and in creating the product, or if any information or advice are required, please contact your local dealer.
Information requirements for electric local space heaters
| Model identifier(s): | AR4P19 | ||||
| Item | Symbol | Value | Unit | Item | Unit |
| Heat output | Type of heat input, for electric storage local space heaters only (select one) | ||||
| Nominal heat output | Pnom | 2,0 | kW | Manual heat charge control, with integrated thermostat | N.A. |
| Minimum heat output (indicative) | Pmin | 1,4 | kW | Manual heat charge control with room and/or outdoor temperature feedback | N.A. |
| Maximum continuous heat output | Pmax,c | 2,0 | kW | Electronic heat charge control with room and/or outdoor temperature feedback | N.A. |
| Auxiliary electricity consuption | Fan assisted heat output | N.A. | |||
| At nominal heat output | elmax | N.A. | kW | Type of heat output/room temperature control (select one) | |
| At minimum heat output | elmin | N.A. | kW | Single stage heat output and no room temperature control | No |
| In standby mode | elSB | 0,0002 | kW | Two or more manual stages, no room temperature control | No |
| With mechanic thermostat room temperature control | No | ||||
| With electronic room temperature control | Yes | ||||
| Electronic room temperature control plus day timer | No | ||||
| Electronic room temperature control plus week timer | No | ||||
| Other control options (multiple selections possible) | |||||
| Room temperature control, with presence detection | No | ||||
| Room temperature control, with open window detection | No | ||||
| With distance control option | No | ||||
| With adaptive start control | No | ||||
| With working time limitation | Yes | ||||
| With black bulb sensor | No | ||||
| Contact details | POLY POOL S.p.A. – via Sottocorna 21/B, 24020 Parre (BG) – Italy | ||||
Poly Pool S.p.A. Via Sottocorna, 21/B
24020 Parre (Bergamo) – Italy
Tel. +39 035 4104000 r.a. – Fax +39 035 702716
http://www.ardes.it
e-mail: [email protected]
MADE IN CHINA



















