FERM PSM1027 Orbital Sander 135W with Sanding Papers

Thank you for buying this Ferm product.
By doing so you now have an excellent product, delivered by one of Europe‘s leading suppliers. All products delivered to you by Ferm are manufactured according to the highest standards of performance and safety. As part of our philosophy we also provide an excellent customer service, backed by our comprehensive warranty. We hope you will enjoy using this product for many years to come.
SAFETY WARNINGS
WARNING
Read the enclosed safety warnings, the additional safety warnings and the instructions. Failure to follow the safety warnings and the instructions may result in electric shock, fire and/or serious injury. Keep the safety warnings and the instructions for future reference.
The following symbols are used in the user manual or on the product:
Read the user manual.
Risk of personal injury.
Risk of electric shock.
Immediately remove the mains plug from the mains if the mains cable becomes damaged and during cleaning and maintenance.
Wear safety goggles. Wear hearing protection.
Wear a dust mask.
Double insulated.
Do not dispose of the product in unsuitable containers.
Additional safety warnings for finishing sanders
Contact with or inhalation of dust coming free during use (e.g. lead-painted surfaces, wood and metal) can endanger your health and the health of bystanders. Always wear appropriate protective equipment, such as a dust mask. Always use proper dust extraction during use.
- Do not work materials containing asbestos. Asbestos is considered carcinogenic.
- Do not use the machine for sanding magnesium workpieces.
- Wear safety goggles. Wear hearing protection. If necessary, use other protective means, such as safety gloves, safety shoes, etc.
- Hold the machine by the insulated gripping surfaces where the accessory may contact hidden wiring or the mains cable. If the accessory contacts a ‚live‘ wire, the exposed metal parts of the machine can also become ‚live‘. Risk of electric shock.
- Be very careful when sanding painted surfaces.
- Before use, remove all nails and other metal objects from the workpiece.
- Make sure that the workpiece is properly supported or fixed.
- Only use sanding paper that is suitable for use with the machine.
- Only use sanding paper with the correct dimensions. Make sure that the sanding paper is properly mounted.
- Inspect the sanding paper before each use. Do not use sanding paper that is worn because of prolonged use.
- Never put the machine down on a table or a workbench before it has been switched off.
Electrical safety
Always check that the voltage of the power supply corresponds to the voltage on the rating plate.
- Do not use the machine if the mains cable or the mains plug is damaged.
- Only use extension cables that are suitable for the power rating of the machine with a minimum thickness of 1.5 mm2. If you use a extension cable reel, always fully unroll the cable.
Mains plug replacement (UK only)
If the moulded 3-pin plug attached to the unit is damaged and needs replacing, it is important that it is correctly destroyed and replaced by an approved BS 1363/3A fused plug and that the following wiring instructions are followed.
The wires in the mains cable are coloured in accordance with the following code:
blue neutral
brown live
As the colours of the wires in the mains cable of the unit may not correspond to the coloured markings identifying the terminals in the plug, proceed as follows:
- The wire which is coloured blue must be connected to the terminal which is marked with the letter N or coloured black.
- The wire which is coloured brown must be connected to the terminal which is marked with the letter L or coloured red.
Technical data
Mains voltage 230 V~
Mains frequency 50 Hz
Power input 135 W
No-load speed 12,000/min
Protection class IP 20
Weight 1.3 kg
NOISE AND VIBRATION
Sound pressure (Lpa) 73 dB(A) K=3dB
Acoustic power (Lwa) 84 dB(A) K=3dB
Vibration 12.11 m/s2 K=1.5 m/s2
Vibration level
The vibration emission level stated in this instruction manual has been measured in accordance with a standardised test given in EN 60745; it may be used to compare one tool with another and as a preliminary assessment of exposure to vibration when using the tool for the applications mentioned
- using the tool for different applications, or with different or poorly maintainted accessories, may significantly increase the exposure level
- the times when the tool is switched off or when it is running but not actually doing the job, may significantly reduce the exposure level
Protect yourself against the effects of vibration by maintaining the tool and its accessories, keeping your hands warm, and organizing your work patterns
DESCRIPTION (FIG. A)
Your finishing sander has been designed for sanding wood, metal, plastics and painted surfaces.
- On/off switch
- Lock-on button
- Sanding pad
- Sanding paper clamp
- Main grip
- Auxiliary grip
- Dust extraction connection

ASSEMBLY
Before assembly, always switch off the machine and remove the mains plug from the mains.
Mounting and removing the sanding paper (sanding paper clamps) (fi. B1)
Mounting
- Open the sanding paper clamps (4).
- Mount sanding paper (8) with the required grain size onto the sanding pad (3). Make sure that the perforation in the sanding paper (8) corresponds with the perforation on the sanding pad (3).
- Fold the sanding paper (8) at both ends around the edges of the sanding pad (3).
- Close the sanding paper clamps (4) one by one. Make sure that the ends of the sanding paper (8) are clamped.
Removing
- Open the sanding paper clamps (4).
- Remove the sanding paper (8) from the sanding pad (3).
- Close the sanding paper clamps (4). Mounting and removing the sanding paper (hook-and-loop system) (fi. B2)

Mounting
Mount sanding paper (8) with the required grain size onto the sanding pad (3). Make sure that the perforation in the sanding paper (8) corresponds with the perforation on the sanding pad (3).
Removing
Remove the sanding paper (8) from the sanding pad (3).
USE
Switching on and off (fig. A)
- To switch on the machine, press the on/off switch (1).
- To switch the machine to continuous mode, keep the on/off switch (1) pressed and simultaneously press the lock-on button (2).
- To switch off continuous mode, press the on/off switch (1) again.
- To switch off the machine, release the on/off switch (1).
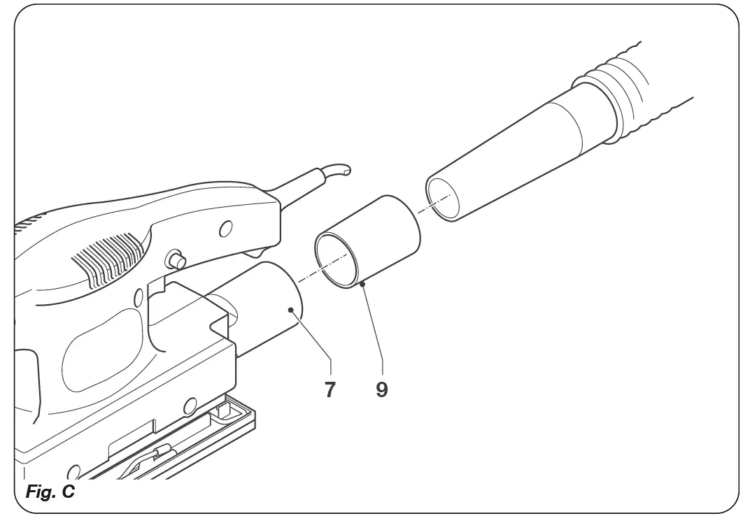
Dust extraction (fig. C)
Insert the dust extraction adapter (9) into the dust extraction connection (7).
Connect the hose of a vacuum cleaner to the dust extraction adapter (9).

Hints for optimum use
- Clamp the workpiece.
- Firmly hold the machine with both hands.
- Switch on the machine.
- Place the sanding pad with sanding paper on the workpiece.
- Slowly move the machine over the workpiece, firmly pressing the sanding pad against the workpiece.
- Do not apply too much pressure on the machine. Let the machine do the work.
- Switch off the machine and wait for the machine to come to a complete standstill before putting the machine down.
CLEANING AND MAINTENANCE
Before cleaning and maintenance, always switch off the machine and remove the mains plug from the mains.
- Regularly clean the housing with a soft cloth.
- Keep the ventilation slots free from dust and dirt. If necessary, use a soft, moist cloth to remove dust and dirt from the ventilation slots.
- Regularly clean the sanding pad to avoid inaccuracies during use.
Replacing the sanding paper (fig. B)
- To remove the old sanding paper (8), proceed as described in the section „Mounting and removing the sanding paper“.
- To mount the new sanding paper (8), proceed as described in the section „Mounting and removing the sanding paper“.
Replacing the sanding pad (fig. D)
In case of wear, the sanding pad must be replaced.
- If necessary, remove the sanding paper.
- Loosen the screws (10) from the sanding pad (3).
- Remove the old sanding pad (3).
- Mount the new sanding pad (3).
- Tighten the screws (10) to the sanding pad (3).

WARRANTY
Consult the enclosed warranty terms.
ENVIRONMENT
Disposal
The product, the accessories, and the packaging must be sorted for environmentally friendly recycling.
Only for EC countries
Do not dispose of power tools into domestic waste. According to the European Guideline 2012/19/EU for Waste Electrical and Electronic Equipment and its implementation into national right, power tools that are no longer usable must be collected separately and disposed of in an environmentally friendly way.
The product and the user manual are subject to change. Specifications can be changed without further notice.
Spare parts list
PSM1027
| Article no. | Description | Position no. |
| 408175 | Carbon brush set (2pcs) | 7 |
| 408269 | Paper clamp | 15 |
| 408303 | Base plate + Sanding pad Velcro | 17, 18 |
| 408302 | Sanding pad VELVRO | 18 |
| 408270 | Switch | 22 |
| 408271 | Dust connection | 32 |
Exploded view





















