8595627408992 Grill Rotisserie with Motor
User Manual
Manual
GRILL ROTISSERIE G21
8595627408992 Grill Rotisserie with Motor

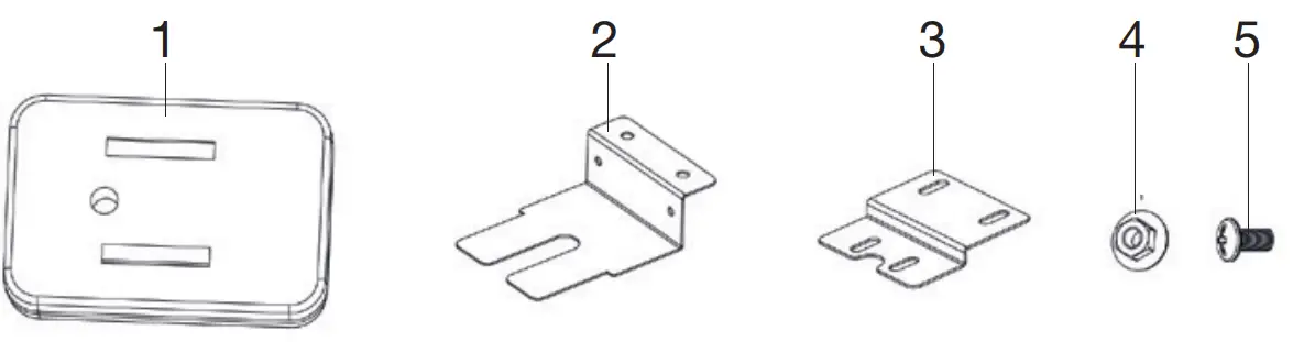
Motor kit 
| 1 | Motor |
| 2 | Motor mounting bracket |
| 3 | Rotisserie bracket |
| 4 | M6 screw |
| 5 | M6X12 screw |

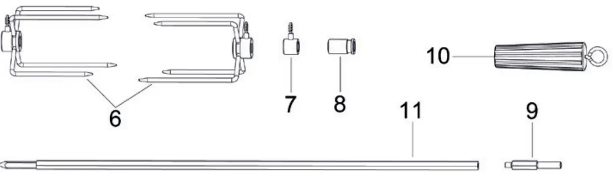
Rotisserie shaft kit

| 6 | Meat prong |
| 7 | Lock ring |
| 8 | Rolling ring |
| 9 | Rotisserie shaft tail |
| 10 | Handle |
| 11 | Rotisserie needle |
The English version of the manual is an exact translation of the original manufacturer‘s instructions. Images used in this manual are for illustrational purposes only and may differ from the actual product.

















