Integration Guide
Mizar Radio Module 915 MHz
Document history
| Date | Author | Notes |
| April 19th, 2012 | Davide Carli | Initial draft |
| May 2nd, 2012 | Davide Carli | Added details on test command(s) 0x86 |
| May 31th, 2012 | Davide Carli | In-depth documentation of test commands |
| July 18th, 2012 | Davide Carli | Added data on current consumption in DEEP SLEEP status |
| April 15th, 2013 | Davide Carli | Updated the description of some test commands |
| December 20th, 2013 | Davide Carli | Document split in 433 MHz and 915 MHz versions RF Characteristics updated according to FW 2.01A and 2.01B Removed outdated information |
| January 15th, 2014 | Davide Carli | RF Characteristics updated according to FW 2.02B |
| February 11th, 2014 | Pier Giorgio Peruzzi | Added Operational description and Interface description |
| May 19th, 2022 | Luca Chini | Update on Industry Canada Statement Addition of two more antennas |
Introduction
Mizar radiofrequency (RF) module operates in the 902-928 MHz ISM frequency band.
Pinout

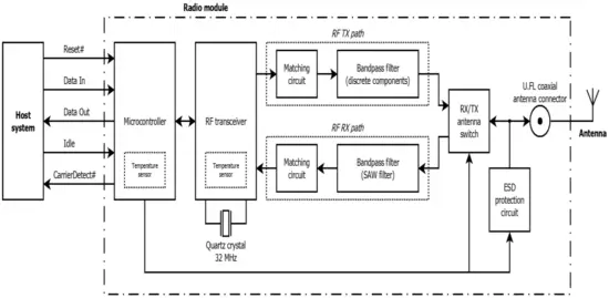
Block diagram

Operational description
The equipment is a radio module to be integrated inside cordless devices.
It is based upon an FSK ( Frequency Shift Keying Modulation ) Half-Duplex transceiver working in the ISM band from 902 to 928 MHz.
The radio module has a UART interface to exchange data and commands.
Working modes
The radio module can operate in the following working modes :
- Low Speed, Low Power, fixed channel (among 25 channels)
o FSK, Bitrate 36864 bps, RZ Manchester encoded, Frequency deviation +/- 75KHz - Low Speed, Frequency Hopping Mode over 25 channels
o FSK, Bitrate 36864 bps, RZ Manchester encoded, Frequency deviation +/- 75KHz - High Speed, Digital Transmission Mode, fixed channel (among 12 channels)
o FSK, Bitrate 500,000 bps, NRZ, Frequency deviation +/- 220KHz - High Speed, Digital Transmission + frequency agility Mode over 12 channels
o FSK, Bitrate 500,000 bps, NRZ, Frequency deviation +/- 220KHz
The default mode after power-up is Low-Speed Low Power mode.
The radio module can receive commands to allow it to change its working mode.
Functional status
The radio module can be set in one of the following states during operation:
Idle State
The radio module stays in low power receiving mode with a limited capability to receive data. RF transmission is not allowed while the radio is set in an Idle state.
Receive State
It is the normal default state. In this state, the radio receives the RF packets, decodes the packets, and sends them to the Host device. In this mode, the transceiver checks continuously the RF signal and demodulates it. The demodulated and filtered signal is sent to the microcontroller inside the radio module which decodes it and sends decoded data to the Host by means of the UART interface. Only valid demodulated data packets are sent to the Host.
Transmission State
This state is enabled by the host when it needs to transmit data. The transmission state is enabled by sending a data packet to the radio module over the UART interface. The microcontroller in the radio module checks for the integrity of the data packet and enables the transceiver to modulate and transmit to the RF interface, preceded by a short preamble burst. The radio module exits automatically from this state when the complete packet has been transmitted and returns to the receiving state.
Interface description (pinout reference)
- UART 2-pin interface used to exchange data from the Host:
DATA_OUT (output pin): transmits data to Host.
DATA_IN (input pin): receives data from Host. - CD# – (output pin) Carrier Detect :
When the radio is in receive mode, this pin signals the presence of an RF carrier. - IDLE – (input pin) :
A high level on this pin forces the radio module into Idle State. - RESET (input pin) :
A low level on this pin resets the radio module. - VCC and GND :
Radio module power supply. - RF Port :
Radio Frequency Connector for the antenna.
Electrical characteristics
Table 1
| Parameter | Min. | Typ. | Max. | Unit |
| Power supply voltage (between VCC pin and GND pin) | 3,1 | 3,3 | 3,6 | V |
| Operating temperature range | -30 | — | +85 | °C |
RF characteristics
Low-speed mode
Table 2
| Parameter | Typ. value | Unit |
| Modulation | RZ Manchester | |
| Bit rate (over-the-air) | 36864 | bit/s |
| Frequency deviation | ± 75,000 | kHz |
| Number of supported channels | 25 | |
| Index of the default channel | 8 | |
| Center frequency of default channel | 910,00000 | MHz |
Table 3
| Channel index | Channel center frequency [MHz] |
| 1 | 902,80050 |
| 2 | 903,82900 |
| 3 | 904,85750 |
| 4 | 905,88600 |
| 5 | 906,91450 |
| 6 | 907,94300 |
| 7 | 908,97150 |
| 8 | 910,00000 |
| 9 | 911,02850 |
| 10 | 912,05700 |
| 11 | 913,08550 |
| 12 | 914,11400 |
| 13 | 915,14250 |
| 14 | 916,17100 |
| 15 | 917,19950 |
| 16 | 918,22800 |
| 17 | 919,25650 |
| 18 | 920,28500 |
| 19 | 921,31350 |
| 20 | 922,34200 |
| 21 | 923,37050 |
| 22 | 924,39900 |
| 23 | 925,42750 |
| 24 | 926,45600 |
| 25 | 927,48450 |
High-speed mode
Table 6
| Parameter | Typ. value | Unit |
| Modulation | NRZ | |
| Bit rate (over-the-air) | 500000 | bit/s |
| Frequency deviation | ± 220,000 | kHz |
| Number of supported channels | 12 | |
| Index of the default channel | 4 | |
| Center frequency of default channel | 910,00000 | MHz |
Table 7
| Channel index | Channel center frequency [MHz] |
| 1 | 903,64900 |
| 2 | 905,76600 |
| 3 | 907,88300 |
| 4 | 910,00000 |
| 5 | 912,11700 |
| 6 | 914,23400 |
| 7 | 916,35100 |
| 8 | 918,46800 |
| 9 | 920,58500 |
| 10 | 922,70200 |
| 11 | 924,81900 |
| 12 | 926,93600 |
Federal Communications Commission (FCC) Statement
You are cautioned that changes or modifications not expressly approved by the party responsible for compliance could void the user’s authority to operate the equipment.
This equipment has been tested and found to comply with the limits for a Class B digital device, pursuant to part 15 of the FCC rules. These limits are designed to provide reasonable protection against harmful interference in a residential installation. This equipment generates, uses, and can radiate radio frequency energy and, if not installed and used in accordance with the instructions, may cause harmful interference to radio communications. However, there is no guarantee that interference will not occur in a particular
installation. If this equipment does cause harmful interference to radio or television reception, which can be determined by turning the equipment off and on, the user is encouraged to try to correct the interference by one or more of the following measures:
- Reorient or relocate the receiving antenna.
- Increase the separation between the equipment and receiver.
- Connect the equipment into an outlet on a circuit different from that to which the receiver is connected.
- Consult the dealer or an experienced radio/TV technician for help.
This device complies with Part 15 of the FCC Rules. Operation is subject to the following two conditions:
- this device may not cause harmful interference, and
- this device must accept any interference received, including interference that may cause undesired operation of the device.
FCC RF Radiation Exposure Statement:
This equipment complies with FCC radiation exposure limits set forth for an uncontrolled environment. This equipment should be installed and operated with a minimum distance of 20cm between the radiator & your body. This transmitter must not be co-located or operating in conjunction with any other antenna or transmitter.
In accordance with KDB 447497 D01, section 4.3.1, this module is exempt from Head/Body SAR testing when installed in a host product with a Head/Body to the antenna separation distance of ≥ 17mm.
If the module is to be used with a smaller separation distance than the above, SAR testing must be performed.
In accordance with KDB 447497 D01, section 4.3.1, this module is exempt from Extremity SAR testing when installed in a host product with an Extremity to the antenna separation distance of ≥ 7mm.
If the module is to be used with a smaller separation distance than the above, SAR testing must be performed.
Industry Canada (IC) Statement
This device complies with Industry Canada licence-exempt RSS standard(s). Operation is subject to the following two conditions: (1) this device may not cause interference, and (2) this device must accept any interference, including interference that may cause undesired operation of the device.
In accordance with RSS-102, section 2.5.1, this module is exempt from Head/Body SAR testing when installed in a host product with a Head/Body to the antenna separation distance of >30mm.
If the module is to be used with a smaller separation distance than the above, SAR testing must be performed.
In accordance with RSS-102, section 2.5.1, this module is exempt from Limb-Worn/Extremity SAR testing when installed in a host product with a Limb-Worn/Extremity to the antenna separation distance of >15mm
If the module is to be used with a smaller separation distance than the above, SAR testing must be performed.
End Product Labeling:
The final end product must be labeled in a visible area with the following: “Contains FCC ID: U4F0022, IC: 3862D-006”.
This radio transmitter 3862D-006 has been approved by Innovation, Science and Economic Development
Canada to operate with the antenna types listed below, with the maximum permissible gain indicated.
Antenna types not included in this list that have a gain greater than the maximum gain indicated for any type listed are strictly prohibited from use with this device.
Antenna list
| Bondale Electronics, model GRA0K14155047 – gain: 1dBi, impedance 50Ω | ![]() |
| Datalogic, part number 663316020 – 902- 928 MHZ Helical Antenna – gain: 1 dBi, impedance 50Ω | ![]() |
| Datalogic, part number ANTENNA CABLE GM4100-910 – gain: -4,5dBi, impedance 50Ω | |
| Wire antenna, model helical – gain: 2,65 dBi, impedance 50Ω | ![]() |
| Wire antenna, model folded – – gain: -2,85 dBi, impedance 50Ω | ![]() |
INTERNAL Datalogic Confidential
Author: Radio Group
Date: February 11th, 2014
Revision: November 30th, 2021
Subject: Integration Guide – Mizar Radio Module 915 MHz






















